TOP
|
特許
|
意匠
|
商標
特許ウォッチ
Twitter
他の特許を見る
公開番号
2025170843
公報種別
公開特許公報(A)
公開日
2025-11-20
出願番号
2024075629
出願日
2024-05-08
発明の名称
掃除器具
出願人
株式会社ディスコ
代理人
弁理士法人愛宕綜合特許事務所
主分類
B23Q
11/00 20060101AFI20251113BHJP(工作機械;他に分類されない金属加工)
要約
【課題】エアガンのみでは、クリンルーム内を効果的に清浄な状態に維持することが出来ないという問題を解消できる掃除器具を提供する。
【解決手段】被加工物を保持する保持手段と、該保持手段に保持された被加工物を加工する加工手段と、高圧エアーを噴射する噴射ノズルを備えたエアガン20と、を含む加工装置1で使用される掃除器具30であって、ゴミを吸引する吸引口311aを備えたノズル部311と、ノズル部311に吸引力を生成する吸引力生成部33と、吸引力生成部33によって生成された吸引力によって吸引されたゴミを収集するゴミ収集部と、を含み、吸引力生成部33は、エアガン20の噴射ノズル22が着脱自在に装着される装着部331aを備える。
【選択図】図3
特許請求の範囲
【請求項1】
被加工物を保持する保持手段と、該保持手段に保持された被加工物を加工する加工手段と、高圧エアーを噴射する噴出口を有する噴射ノズルを備えたエアガンと、を含む加工装置で使用される掃除器具であって、
ゴミを吸引する吸引口を備えたノズル部と、該ノズル部に吸引力を生成する吸引力生成部と、該吸引力生成部によって生成された吸引力によって吸引されたゴミを収集するゴミ収集部と、を含み、
該吸引力生成部は、該エアガンの噴射ノズルが着脱自在に装着される装着部を備える掃除器具。
続きを表示(約 340 文字)
【請求項2】
該吸引力生成部は、エジェクターと、該エジェクターと該エアガンの該噴出口とを連通する高圧エアー経路と、該エジェクターで生成される負圧を該ゴミ収集部に連通する負圧経路と、を備え、
該ノズル部は、該ゴミ収集部に連通するゴミ経路を備える請求項1に記載の掃除器具。
【請求項3】
該吸引力生成部は、該負圧経路と連結される負圧室を備え、該ゴミ収集部は、該ゴミ経路と連結されるゴミ室を備え、該負圧室及び該ゴミ室は着脱自在に締結されていて、該負圧室から分離して該ゴミ室に溜まったゴミを適宜捨てられるようになっている請求項2に記載の掃除器具。
【請求項4】
該負圧室と該ゴミ室を仕切るフィルターが配設される請求項3に記載の掃除器具。
発明の詳細な説明
【技術分野】
【0001】
本発明は、加工装置で使用される掃除器具に関する。
続きを表示(約 1,900 文字)
【背景技術】
【0002】
IC、LSI等の複数のデバイスが分割予定ラインによって区画され表面に形成されたウエーハは、裏面が研削装置によって研削されて所定の厚みに形成された後、ダイシング装置、レーザー加工装置等によって個々のデバイスチップに分割され、携帯電話、パソコン等の電気機器に利用される。
【0003】
また、研削装置、ダイシング装置等を含む加工装置には、高圧エアー源と連通してウエーハ又は加工室を含む領域に付着した破片、水、ゴミ等を飛散させて除去する噴射ノズルを備えたエアガンが配設されている(例えば特許文献1を参照)。
【先行技術文献】
【特許文献】
【0004】
特開2013-169613号公報
【発明の概要】
【発明が解決しようとする課題】
【0005】
しかし、上記のエアガンによって破片、水、ゴミ等を吹き飛ばすことにより、周辺に飛散した破片、水、ゴミ等が、該加工装置が設置されたクリンルーム等の環境を汚染する場合があり、エアガンのみでは、クリンルーム内を効果的に清浄な状態に維持することが出来ないという問題がある。
【0006】
本発明は、上記事実に鑑みなされたものであり、その主たる技術課題は、エアガンのみでは、クリンルーム内を効果的に清浄な状態に維持することが出来ないという問題を解消できる掃除器具を提供することにある。
【課題を解決するための手段】
【0007】
上記主たる技術課題を解決するため、本発明によれば、被加工物を保持する保持手段と、該保持手段に保持された被加工物を加工する加工手段と、高圧エアーを噴射する噴出口を有する噴射ノズルを備えたエアガンと、を含む加工装置で使用される掃除器具であって、ゴミを吸引する吸引口を備えたノズル部と、該ノズル部に吸引力を生成する吸引力生成部と、該吸引力生成部によって生成された吸引力によって吸引されたゴミを収集するゴミ収集部と、を含み、該吸引力生成部は、該エアガンの噴射ノズルが着脱自在に装着される装着部を備える掃除器具が提供される。
【0008】
該吸引力生成部は、エジェクターと、該エジェクターと該エアガンの該噴出口とを連通する高圧エアー経路と、該エジェクターで生成される負圧を該ゴミ収集部に連通する負圧経路と、を備え、該ノズル部は、該ゴミ収集部に連通するゴミ経路を備えることが好ましい。また、該吸引力生成部は、該負圧経路と連結される負圧室を備え、該ゴミ収集部は、該ゴミ経路と連結されるゴミ室を備え、該負圧室及び該ゴミ室は着脱自在に締結されていて、該負圧室から分離して該ゴミ室に溜まったゴミを適宜捨てられるようになっていることが好ましい。さらに、該負圧室と該ゴミ室を仕切るフィルターが配設されることが好ましい。
【発明の効果】
【0009】
本発明の掃除器具は、被加工物を保持する保持手段と、該保持手段に保持された被加工物を加工する加工手段と、高圧エアーを噴射する噴出口を有する噴射ノズルを備えたエアガンと、を含む加工装置で使用される掃除器具であって、ゴミを吸引する吸引口を備えたノズル部と、該ノズル部に吸引力を生成する吸引力生成部と、該吸引力生成部によって生成された吸引力によって吸引されたゴミを収集するゴミ収集部と、を含み、該吸引力生成部は、該エアガンの噴射ノズルが着脱自在に装着される装着部を備えていることから、ウエーハ又は加工室を含む領域に付着した破片、水、ゴミ等を、エアガンを使用して吹き飛ばす場合と、該加工室を含む領域から、該ゴミ等を吸引して除去する場合とを、必要に応じて適宜選択でき、飛散した破片、水、ゴミ等がクリンルーム等の周辺環境を汚染するおそれがある場合には、本発明の掃除器具にエアガンを装着し、該エアガンから高圧エアーを供給することで吸引力を生成して、加工装置の周辺における汚染の問題を解消することができる。
【図面の簡単な説明】
【0010】
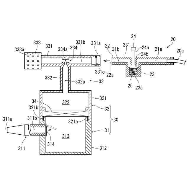
切削装置の全体斜視図である。
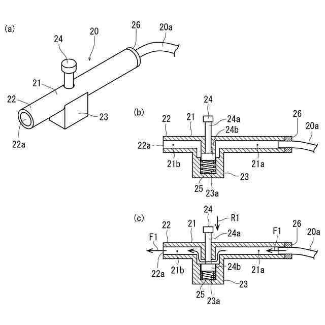
(a)エアガンの斜視図、(b)噴射停止状態にあるエアガンの縦断面図、(c)噴射状態にあるエアガンの縦断面図である。
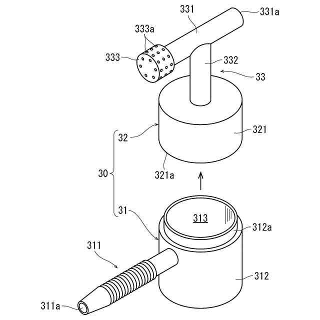
本実施形態の掃除器具の分解斜視図である。
図3に示す掃除器具を組み立て一体とした状態を示す斜視図である。
図4に示す掃除器具の断面図、及びエアガンの断面図である。
図5に示す掃除器具に対してエアガンから高圧エアーを供給して吸引作用を発生させている状態を示す断面図である。
【発明を実施するための形態】
(【0011】以降は省略されています)
この特許をJ-PlatPat(特許庁公式サイト)で参照する
関連特許
株式会社ディスコ
処理方法
3日前
株式会社ディスコ
掃除器具
3日前
株式会社ディスコ
掃除器具
3日前
株式会社ディスコ
加工装置
3日前
株式会社ディスコ
加工装置
4日前
株式会社ディスコ
搬送システム
3日前
株式会社ディスコ
搬送システム
3日前
株式会社ディスコ
搬送システム
3日前
株式会社ディスコ
洗浄装置及び洗浄方法
11日前
株式会社ディスコ
シリアル接続システム
16日前
株式会社ディスコ
パッケージデバイスチップの製造方法
16日前
株式会社ディスコ
ブレード直径算出方法、及び、加工装置
9日前
株式会社ディスコ
研削ホイール装着治具及び研削ホイール装着治具の使用方法
9日前
個人
フライス盤
2か月前
日東精工株式会社
ねじ締め機
5か月前
日東精工株式会社
ねじ締め機
3か月前
日東精工株式会社
ねじ締め機
2か月前
株式会社北川鉄工所
回転装置
5か月前
日東精工株式会社
ねじ締め機
1か月前
キヤノン電子株式会社
加工装置
16日前
日東精工株式会社
ねじ締め装置
2か月前
株式会社ダイヘン
溶接電源装置
3か月前
株式会社ダイヘン
溶接電源装置
4か月前
ダイニチ工業株式会社
配膳治具
19日前
日東精工株式会社
ねじ締め装置
4か月前
株式会社ダイヘン
溶接電源装置
4か月前
日東精工株式会社
ねじ整列トレー
11日前
株式会社FUJI
工作機械
1か月前
株式会社FUJI
工作機械
1か月前
個人
切削油供給装置
3か月前
株式会社FUJI
工作機械
5か月前
株式会社FUJI
工作機械
4か月前
中国電力株式会社
養生シート
1か月前
株式会社富田製作所
支持構造
24日前
個人
型枠製造装置のフレーム
1か月前
睦月電機株式会社
金属表面処理方法
16日前
続きを見る
他の特許を見る