TOP
|
特許
|
意匠
|
商標
特許ウォッチ
Twitter
他の特許を見る
10個以上の画像は省略されています。
公開番号
2025158025
公報種別
公開特許公報(A)
公開日
2025-10-16
出願番号
2024060448
出願日
2024-04-03
発明の名称
養生シート
出願人
中国電力株式会社
代理人
個人
主分類
B23K
9/32 20060101AFI20251008BHJP(工作機械;他に分類されない金属加工)
要約
【課題】 火花、火の粉の発生する溶接箇所(既設の配管)を簡単に囲うことができ、囲った空間から火花などを空間外に飛散することを防止する養生シートを提供する。
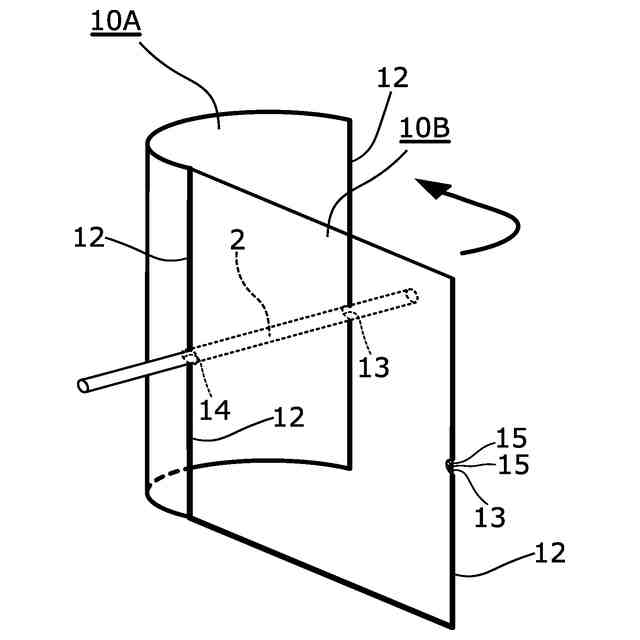
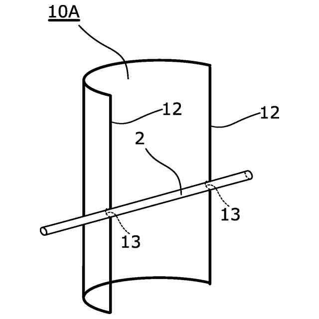
【解決手段】 溶接・溶断など火花、火の粉が発生する作業現場を囲う筒状の養生シート1であって、前記筒状を周方向に複数枚に分割した耐火性シート10A、10Bと、前記耐火性シート10Aの左右側端に、隣接する耐火性シート10Bと着脱自在に結着するマグネットテープ12と、を備え、前記耐火性シート10Aの左右側縁に半円形状の凹部13を設け、隣接する耐火性シート10Bと結着したときに、前記凹部13が作業対象の配管2が貫通する貫通孔14として機能するようにした、ことを特徴とする。
【選択図】 図10
特許請求の範囲
【請求項1】
溶接・溶断など火花、火の粉が発生する作業現場を囲う筒状の養生シートであって、
前記筒状を周方向に複数枚に分割した耐火性シートと、
前記耐火性シートの左右側端に、隣接する耐火性シートと着脱自在に結着する結着具と、を備え、
前記耐火性シートの左右側縁に半円形状の凹部を設け、隣接する耐火性シートと結着したときに、合わさった前記凹部が作業対象の配管が貫通する貫通孔として機能するようにした、
ことを特徴とする養生シート。
続きを表示(約 170 文字)
【請求項2】
前記凹部にシート状マグネットを設け、かつ、前記シート状マグネットに放射状のスリットを形成して、
隣接する2つの前記耐火性シートを結着させ、前記配管を通す前記貫通孔を形成したときに、前記配管と前記凹部との間隙を前記シート状マグネットで覆うようにした、
ことを特徴とする請求項1に記載の養生シート。
発明の詳細な説明
【技術分野】
【0001】
本発明は、配管の修理、取替などで溶接・溶断作業、あるいはグラインダー作業時の火花などの飛散を防止する養生シートに関し、特に、発電所内など、既設の配管の溶接など時の作業現場を囲い、周囲への火花、火の粉などが飛散しないようにした養生シートに関する。
続きを表示(約 1,000 文字)
【背景技術】
【0002】
配管の修理、取替などを行う際の、溶接、溶断作業、グラインダー作業にあっては、火花、火の粉などの飛散が問題となる。
【0003】
そこで、建築現場などにおいて配管等の溶接作業を行う際に、火花がかかってはいけないものを養生シートで覆ったり、通行人への飛来防止のため、溶接箇所の下方に養生シートなどを設置することが行われている(特許文献1、特許文献2)。
【先行技術文献】
【特許文献】
【0004】
特開2008-229685号公報
特開平8-33984号公報
【発明の概要】
【発明が解決しようとする課題】
【0005】
ところで、特許文献1には、火花受け部が傘状に開閉するもので、火花受け部を溶接箇所の下方に位置させたものが記載されている。
【0006】
特許文献2には、変形S字状縦桟や横桟を溶接箇所の近傍(前方、下方)に位置させ、これた桟に耐熱シートからなる溶接火花受部を設置したものが記載されている。
【0007】
特許文献1、特許文献2に記載されたものは、いずれも、溶接箇所と火花などがかぶっていけないものとの間にシート類を配置するものである。
【0008】
しかしながら、実際には、火花、火の粉の飛散は四方八方であり、養生シート(火花受け部)に受け止められなかった火花、火の粉が他の部位に当たって反射などしてしまい、かかってはいけないものに飛来してしまうという問題がある。
【0009】
そこでこの発明は、火花、火の粉の発生する溶接箇所(既設の配管)を筒状空間を有する養生シートで囲うことで、火花などを筒状空間外に飛散することを防止することを目的とする。
【課題を解決するための手段】
【0010】
上記課題を解決するために、請求項1の発明は、溶接・溶断など火花、火の粉が発生する作業現場を囲う筒状の養生シートであって、前記筒状を周方向に複数枚に分割した耐火性シートと、前記耐火性シートの左右側端に、隣接する耐火性シートと着脱自在に結着する結着具と、を備え、前記耐火性シートの左右側縁に半円形状の凹部を設け、隣接する耐火性シートと結着したときに、合わさった前記凹部が作業対象の配管が貫通する貫通孔として機能するようにした、ことを特徴とする。
(【0011】以降は省略されています)
この特許をJ-PlatPat(特許庁公式サイト)で参照する
関連特許
中国電力株式会社
被覆留め具
1か月前
中国電力株式会社
養生シート
1か月前
中国電力株式会社
玉掛け補助具
1か月前
中国電力株式会社
落下物受止ネット
25日前
中国電力株式会社
電柱管理システム
1か月前
中国電力株式会社
落雪損傷判定方法
1か月前
中国電力株式会社
空き家判定システム
1か月前
中国電力株式会社
燃料集合体移動装置
9日前
中国電力株式会社
架設電線の切断方法
1か月前
中国電力株式会社
落雪損傷範囲推定装置
1か月前
中国電力株式会社
配液管用の液漏れ補修具
9日前
中国電力株式会社
需要及び電源想定システム
1か月前
中国電力株式会社
安全装備チェックシステム
1か月前
中国電力株式会社
生体情報の異常検知システム
1か月前
中国電力株式会社
医薬品使用履歴登録システム
1か月前
中国電力株式会社
容器内の水分量検知システム
1か月前
中国電力株式会社
搬送装置及び電力制御システム
9日前
中国電力株式会社
配薬カートの医薬品提供システム
1か月前
中国電力株式会社
分散型エネルギー資源管理システム
1か月前
中国電力株式会社
配薬カートの引き出し方向制御システム
1か月前
中国電力株式会社
充電部可視化装置、及び充電部可視化方法
1か月前
中国電力株式会社
吊下パネルの修繕方法及び吊下管整列用具
23日前
中国電力株式会社
木質ペレット再造粒設備の加水量制御方法
22日前
中国電力株式会社
管理対象者又は管理対象物の位置特定システム
1か月前
中国電力株式会社
情報処理装置、情報処理方法およびプログラム
25日前
中国電力株式会社
無人航空機を用いた検針方法、及び無人航空機
1か月前
中国電力株式会社
廃棄物管理システムおよび廃棄物管理プログラム
1か月前
中国電力株式会社
離隔判定装置、離隔判定システム、離隔判定方法及びプログラム
1か月前
中国電力株式会社
二酸化炭素排出量の計算システム、二酸化炭素排出量の計算方法、二酸化炭素排出量を計算するプログラム
1か月前
中国電力株式会社
二酸化炭素排出量の計算システム、二酸化炭素排出量の計算方法および二酸化炭素排出量を計算するプログラム
1か月前
個人
フライス盤
2か月前
麗豊実業股フン有限公司
ラクトバチルス・パラカセイNB23菌株及びそれを筋肉量の増加や抗メタボリック症候群に用いる用途
6か月前
日東精工株式会社
ねじ締め機
1か月前
日東精工株式会社
ねじ締め機
6か月前
日東精工株式会社
ねじ締め機
2か月前
日東精工株式会社
ねじ締め機
3か月前
続きを見る
他の特許を見る