TOP
|
特許
|
意匠
|
商標
特許ウォッチ
Twitter
他の特許を見る
10個以上の画像は省略されています。
公開番号
2025151429
公報種別
公開特許公報(A)
公開日
2025-10-09
出願番号
2024052854
出願日
2024-03-28
発明の名称
離隔判定装置、離隔判定システム、離隔判定方法及びプログラム
出願人
中国電力株式会社
代理人
個人
主分類
G01B
11/14 20060101AFI20251002BHJP(測定;試験)
要約
【課題】より短時間で高精度かつ広範囲で離隔判定を行うことができる離隔判定装置、離隔判定システム、離隔判定方法及びプログラムを提供すること。
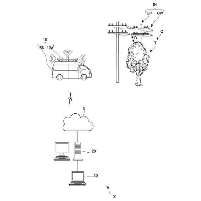
【解決手段】離隔判定装置30は、インフラストラクチャINと離隔対象物Oとの離隔判定を行う離隔判定装置30であって、モービルマッピングシステム10の計測により取得された、複数の画像データと、複数の前記画像データに関連付けられた3次元点群データと、を取得する計測情報取得部311と、複数の画像データのうち、インフラストラクチャINと離隔対象物Oとが含まれる判定用画像データを判別する判定用画像判別部313と、判定用画像判別部313により判別された判定用画像データと、判定用画像データに関連付けられた3次元点群データと、に基づいて、インフラストラクチャINと離隔対象物Oとの離隔判定を行う離隔判定部316と、を備える。
【選択図】図3
特許請求の範囲
【請求項1】
インフラストラクチャと離隔対象物との離隔判定を行う離隔判定装置であって、
モービルマッピングシステムの計測により取得された、複数の画像データと、複数の前記画像データに関連付けられた3次元点群データと、を取得する計測情報取得部と、
複数の前記画像データのうち、前記インフラストラクチャと前記離隔対象物とが含まれる判定用画像データを判別する判定用画像判別部と、
前記判定用画像判別部により判別された前記判定用画像データと、当該判定用画像データに関連付けられた3次元点群データと、に基づいて、前記インフラストラクチャと前記離隔対象物との離隔判定を行う離隔判定部と、を備える、離隔判定装置。
続きを表示(約 1,400 文字)
【請求項2】
前記インフラストラクチャは、送電のための架線と、前記架線を支持する電柱と、を含む、請求項1に記載の離隔判定装置。
【請求項3】
3次元点群データにおいて、前記電柱の一部を示す点の候補である電柱候補点と、前記架線の一部を示す点の候補である架線候補点と、を特定するインフラストラクチャ候補点特定部と、
前記架線候補点のうちの3点を通る近似曲線を仮想架線として抽出する仮想架線生成部と、を更に備え、
前記離隔判定部は、前記仮想架線と、前記架線候補点及び前記電柱候補点を除く前記判定用画像データに関連付けられた前記3次元点群データと、に基づいて、離隔判定を行う、請求項2に記載の離隔判定装置。
【請求項4】
前記判定用画像判別部により判別された前記判定用画像データと、当該判定用画像データに関連付けられた前記3次元点群データに基づいて、3Dモデルを生成する3Dモデル生成部を更に備え、
前記離隔判定部は、前記3Dモデル生成部が生成した前記3Dモデルに基づいて、離隔判定を行う、請求項1又は2に記載の離隔判定装置。
【請求項5】
前記離隔判定部は、前記インフラストラクチャを除く点を前記離隔対象物の点として、前記判定用画像データに関連付けられた前記3次元点群データに基づいて、前記インフラストラクチャと前記離隔対象物との離隔判定を行う、請求項1又は2に記載の離隔判定装置。
【請求項6】
前記仮想架線と、前記架線候補点及び前記電柱候補点を除く前記判定用画像データに関連付けられた前記3次元点群データと、に基づいて、前記仮想架線と前記離隔対象物との離隔距離を算出する離隔算出部を更に備え、
前記離隔判定部は、前記離隔距離が所定距離以下の場合に、離隔していないと判定する、請求項3に記載の離隔判定装置。
【請求項7】
前記仮想架線から所定範囲内の領域を離隔判定領域として設定する離隔判定領域設定部を更に備え、
前記離隔判定部は、前記離隔判定領域に、前記3次元点群データのうちの前記離隔対象物の一部を示す点がある場合に、離隔していないと判定し、前記離隔判定領域に、前記3次元点群データのうちの前記離隔対象物の一部を示す点がない場合に、離隔していると判定する、請求項3に記載の離隔判定装置。
【請求項8】
前記3Dモデルに基づき前記インフラストラクチャと前記離隔対象物との離隔距離を算出する離隔算出部を更に備え、
前記離隔判定部は、前記離隔距離が所定距離以下の場合に、離隔していないと判定する、請求項4に記載の離隔判定装置。
【請求項9】
前記3Dモデルにおいて、前記インフラストラクチャから所定範囲内の領域を離隔判定領域として設定する離隔判定領域設定部を更に備え、
前記離隔判定部は、前記3Dモデルにおいて、前記離隔判定領域に、前記離隔対象物がある場合に、離隔していないと判定し、前記離隔判定領域に、前記離隔対象物がない場合に、離隔していると判定する、請求項4に記載の離隔判定装置。
【請求項10】
請求項1に記載の離隔判定装置と、
道路を走行する計測車両に搭載された計測部により、道路周囲の前記画像データ及び3次元点群データを取得するモービルマッピングシステムと、備える、離隔判定システム。
(【請求項11】以降は省略されています)
発明の詳細な説明
【技術分野】
【0001】
本発明は、離隔判定装置、離隔判定システム、離隔判定方法及びプログラムに関する。
続きを表示(約 1,300 文字)
【背景技術】
【0002】
従来、電柱や電線等のインフラストラクチャの周囲をレーザスキャン等により測定し得られた3次元位置情報に基づいて、インフラストラクチャとそれらの周囲の樹木等との間の離隔判定を行う技術が知られている。この種の技術を示すものとして特許文献1が挙げられる。特許文献1では、レーザスキャンにより取得した電柱等の設備の点群データ(3次元位置情報)をもとに設備のモデルデータを生成し、このモデルデータをもとに、電柱と樹木との距離を算出し、算出された距離を3D重畳画像データに重畳させ、電柱と樹木との間の距離が適切か否かを判断できることが記載されている。
【先行技術文献】
【特許文献】
【0003】
特開2018-195240号公報
【発明の概要】
【発明が解決しようとする課題】
【0004】
3次元位置情報に基づく離隔判定をより高精度かつ広範囲に行う場合、情報処理には、より多くの位置情報が必要となり、位置情報が多くなる分情報処理に要する時間が長くなるという問題があった。
【0005】
本発明は、より短時間で高精度かつ広範囲で離隔判定を行うことができる離隔判定装置、離隔判定システム、離隔判定方法及びプログラムの提供を目的とする。
【課題を解決するための手段】
【0006】
(1)本発明に係る離隔判定装置は、インフラストラクチャと離隔対象物との離隔判定を行う離隔判定装置であって、モービルマッピングシステムの計測により取得された、複数の画像データと、複数の前記画像データに関連付けられた3次元点群データと、を取得する計測情報取得部と、複数の前記画像データのうち、前記インフラストラクチャと前記離隔対象物とが含まれる判定用画像データを判別する判定用画像判別部と、前記判定用画像判別部により判別された前記判定用画像データと、当該判定用画像データに関連付けられた3次元点群データと、に基づいて、前記インフラストラクチャと前記離隔対象物との離隔判定を行う離隔判定部と、を備える。
【0007】
(1)の離隔判定装置は、より短時間で高精度かつ広範囲で離隔判定を行うことができる。
【0008】
(2)(1)に記載の離隔判定装置においては、前記インフラストラクチャは、送電のための架線と、前記架線を支持する電柱と、を含む。
【0009】
(2)の離隔判定装置は、広範囲に配置される架線や電柱に対して、より短時間で高精度かつ広範囲で離隔判定を行うことができる。
【0010】
(3)(2)に記載の離隔判定装置は、3次元点群データにおいて、前記電柱の一部を示す点の候補である電柱候補点と、前記架線の一部を示す点の候補である架線候補点と、を特定するインフラストラクチャ候補点特定部と、前記架線候補点のうちの3点を通る近似曲線を仮想架線として抽出する仮想架線生成部と、を更に備え、前記離隔判定部は、前記仮想架線と、前記架線候補点及び前記電柱候補点を除く判定用画像データに関連付けられた前記3次元点群データと、に基づいて、離隔判定を行う。
(【0011】以降は省略されています)
この特許をJ-PlatPat(特許庁公式サイト)で参照する
関連特許
中国電力株式会社
被覆留め具
1か月前
中国電力株式会社
養生シート
1か月前
中国電力株式会社
玉掛け補助具
1か月前
中国電力株式会社
落雪損傷判定方法
1か月前
中国電力株式会社
電柱管理システム
1か月前
中国電力株式会社
落下物受止ネット
26日前
中国電力株式会社
空き家判定システム
1か月前
中国電力株式会社
燃料集合体移動装置
10日前
中国電力株式会社
架設電線の切断方法
1か月前
中国電力株式会社
落雪損傷範囲推定装置
1か月前
中国電力株式会社
配液管用の液漏れ補修具
10日前
中国電力株式会社
需要及び電源想定システム
1か月前
中国電力株式会社
生体情報の異常検知システム
1か月前
中国電力株式会社
医薬品使用履歴登録システム
1か月前
中国電力株式会社
容器内の水分量検知システム
1か月前
中国電力株式会社
搬送装置及び電力制御システム
10日前
中国電力株式会社
配薬カートの医薬品提供システム
1か月前
中国電力株式会社
分散型エネルギー資源管理システム
1か月前
中国電力株式会社
配薬カートの引き出し方向制御システム
1か月前
中国電力株式会社
吊下パネルの修繕方法及び吊下管整列用具
24日前
中国電力株式会社
木質ペレット再造粒設備の加水量制御方法
23日前
中国電力株式会社
充電部可視化装置、及び充電部可視化方法
1か月前
中国電力株式会社
情報処理装置、情報処理方法およびプログラム
26日前
中国電力株式会社
管理対象者又は管理対象物の位置特定システム
1か月前
中国電力株式会社
無人航空機を用いた検針方法、及び無人航空機
1か月前
中国電力株式会社
廃棄物管理システムおよび廃棄物管理プログラム
1か月前
個人
採尿及び採便具
1か月前
日本精機株式会社
検出装置
25日前
個人
高精度同時多点測定装置
1か月前
個人
アクセサリー型テスター
1か月前
個人
計量機能付き容器
20日前
日本精機株式会社
発光表示装置
3日前
株式会社カクマル
境界杭
10日前
甲神電機株式会社
電流検出装置
25日前
株式会社ミツトヨ
測定器
1か月前
株式会社トプコン
測量装置
2日前
続きを見る
他の特許を見る