TOP
|
特許
|
意匠
|
商標
特許ウォッチ
Twitter
他の特許を見る
公開番号
2025171023
公報種別
公開特許公報(A)
公開日
2025-11-20
出願番号
2024075974
出願日
2024-05-08
発明の名称
燃料集合体移動装置
出願人
中国電力株式会社
代理人
個人
主分類
G21C
19/18 20060101AFI20251113BHJP(核物理;核工学)
要約
【課題】衝突を回避して燃料集合体を適正に移動させる。
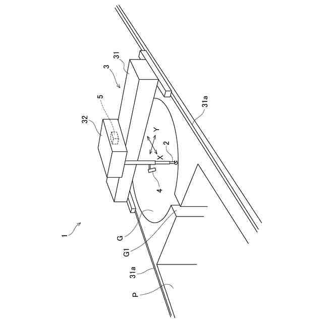
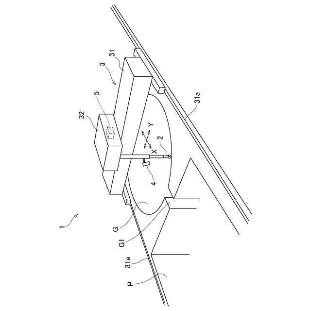
【解決手段】 燃料集合体を保持する燃料つかみ具2と、燃料つかみ具2を移動させる台車3と、を備える燃料集合体移動装置1であり、台車3の動きを制御する制御コンピュータ5と、燃料集合体の装着先であるチャンネル着脱機を含む装着物と燃料集合体との位置関係を撮影する制御用カメラ4と、を備え、制御コンピュータ5は、制御用カメラ4で撮影された画像に基づいて、燃料集合体が装着物に衝突せずに燃料集合体が装着物に装着されるように、台車3を制御する。
【選択図】図1
特許請求の範囲
【請求項1】
燃料集合体を保持する燃料つかみ具と、前記燃料つかみ具を移動させる移動手段と、を備える燃料集合体移動装置であり、
前記移動手段の動きを制御する制御手段と、
前記燃料集合体の装着先であるチャンネル着脱機を含む装着物と前記燃料集合体との位置関係を撮影する撮影手段と、
を備え、前記制御手段は、前記撮影手段で撮影された画像に基づいて、前記燃料集合体が前記装着物に衝突せずに前記燃料集合体が前記装着物に装着されるように、前記移動手段を制御する、
ことを特徴とする燃料集合体移動装置。
続きを表示(約 370 文字)
【請求項2】
前記燃料集合体を前記装着物から移動させる場合に、前記制御手段は、前記撮影手段で撮影された画像に基づいて、前記燃料集合体が前記装着物に衝突しないように、前記移動手段を制御する、
ことを特徴とする請求項1に記載の燃料集合体移動装置。
【請求項3】
前記撮影手段は、可視光カメラ機能と赤外線カメラ機能とを備える、
ことを特徴とする請求項1に記載の燃料集合体移動装置。
【請求項4】
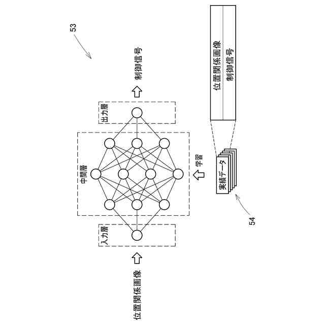
前記制御手段は、前記撮影手段で撮影された画像が入力されると、前記燃料集合体が前記装着物に衝突しないように前記移動手段を制御するための制御信号が出力されるように、過去の実績データに基づいて機械学習された移動制御用学習モデルを用いる、
ことを特徴とする請求項1に記載の燃料集合体移動装置。
発明の詳細な説明
【技術分野】
【0001】
本発明は、燃料集合体を所定の位置に移動させるための燃料集合体移動装置に関する。
続きを表示(約 1,500 文字)
【背景技術】
【0002】
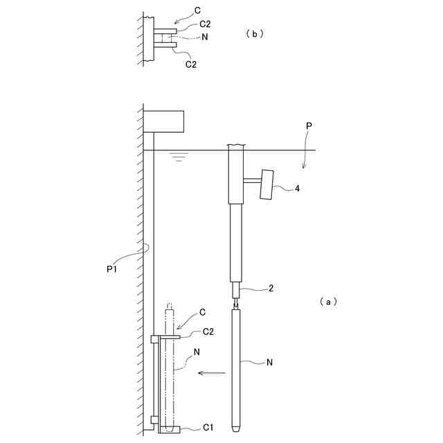
原子力発電所の原子炉炉心や燃料プール内で燃料集合体を移動させる場合、燃料つかみ具を使用して水中で移動させている。この移動は、燃料つかみ具で燃料集合体を保持した状態で移動元の場所から吊り上げ、燃料つかみ具を移動させて移動先(チャンネル着脱機や燃料ラックなど)に吊り下げ・装着し、燃料つかみ具による保持を解除するものである。このような移動を手動で行う場合、操作員が目視で確認しながら、燃料つかみ具の水平方向や垂直方向を適正な位置に調整している。また、このような移動を自動で行う技術が知られており(例えば、特許文献1参照。)、このような技術では、予め設定された移動元や移動先の座標を目標に、燃料つかみ具を自動制御するものである。
【先行技術文献】
【特許文献】
【0003】
特開2014-228483号公報
【発明の概要】
【発明が解決しようとする課題】
【0004】
ところで、燃料つかみ具の移動を自動で行う場合であっても、移動誤差や燃料つかみ具と燃料集合体との位置ずれなどが生じるため、移動中の燃料集合体がチャンネル着脱機や燃料ラックなどに衝突するおそれがある。このため、燃料集合体の移動に関する知識や技能・技術を習得した操作員が監視し、必要に応じて燃料つかみ具の移動を制御する必要があった。
【0005】
しかしながら、燃料集合体の移動に関する知識や技能を習得した操作員を一定数確保する必要があるため、費用がかさむとともに、教育や経験を積ませるための時間を要していた。しかも、近年、原子力発電所の長期停止に伴い、燃料集合体の移動に関する実務経験を積む機会が減少し、また、経験を積んだ操作員の退職により技能の伝承が困難になり、操作員が不足する事態が懸念されている。
【0006】
そこで本発明は、衝突を回避して燃料集合体を適正に移動させることが可能な燃料集合体移動装置を提供することを目的とする。
【課題を解決するための手段】
【0007】
上記課題を解決するために、請求項1の発明は、燃料集合体を保持する燃料つかみ具と、前記燃料つかみ具を移動させる移動手段と、を備える燃料集合体移動装置であり、前記移動手段の動きを制御する制御手段と、前記燃料集合体の装着先であるチャンネル着脱機を含む装着物と前記燃料集合体との位置関係を撮影する撮影手段と、を備え、前記制御手段は、前記撮影手段で撮影された画像に基づいて、前記燃料集合体が前記装着物に衝突せずに前記燃料集合体が前記装着物に装着されるように、前記移動手段を制御する、ことを特徴とする。
【0008】
請求項2の発明は、請求項1に記載の燃料集合体移動装置において、前記燃料集合体を前記装着物から移動させる場合に、前記制御手段は、前記撮影手段で撮影された画像に基づいて、前記燃料集合体が前記装着物に衝突しないように、前記移動手段を制御する、ことを特徴とする。
【0009】
請求項3の発明は、請求項1に記載の燃料集合体移動装置において、前記撮影手段は、可視光カメラ機能と赤外線カメラ機能とを備える、ことを特徴とする。
【0010】
請求項4の発明は、請求項1に記載の燃料集合体移動装置において、前記制御手段は、前記撮影手段で撮影された画像が入力されると、前記燃料集合体が前記装着物に衝突しないように前記移動手段を制御するための制御信号が出力されるように、過去の実績データに基づいて機械学習された移動制御用学習モデルを用いる、ことを特徴とする。
【発明の効果】
(【0011】以降は省略されています)
この特許をJ-PlatPat(特許庁公式サイト)で参照する
関連特許
他の特許を見る