TOP
|
特許
|
意匠
|
商標
特許ウォッチ
Twitter
他の特許を見る
公開番号
2025167050
公報種別
公開特許公報(A)
公開日
2025-11-07
出願番号
2024071332
出願日
2024-04-25
発明の名称
木質ペレット再造粒設備の加水量制御方法
出願人
中国電力株式会社
,
中電プラント株式会社
代理人
弁理士法人光陽国際特許事務所
主分類
B01J
2/20 20060101AFI20251030BHJP(物理的または化学的方法または装置一般)
要約
【課題】木質バイオマスに加水する給水装置を導入する場合において、再造粒装置の起動から定格運転に至る過程で作業員による流量調整弁の操作を不要とし、また、加水量の制御を自動化できる木質ペレット再造粒設備の加水量制御方法を提供する。
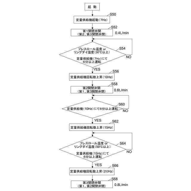
【解決手段】給水装置10を、少なくとも開閉弁111,121,131と流量調整弁112,122,132とが直列的に接続された複数の分岐経路110,120.130を並列的に接続して構成し、再造粒装置が起動してから定格運転に至るまでの加水量を給水装置の開閉弁および流量調整弁によって調整するにあたり、それぞれの分岐経路110,120,130を流れる流量をその分岐経路上の流量調整弁112,122,132によって異なる所定値に予め設定しておき、開閉弁111,121,131の開閉制御で混合器へ給水する分岐経路を変更することで、混合器に供給する加水量を段階的に大きくする。
【選択図】 図3
特許請求の範囲
【請求項1】
木質ペレットを再造粒する再造粒装置に投入する木質バイオマスを水と混合させる混合器と、この混合器に供給する加水量を調節可能とする給水装置と、を備え、
前記給水装置は、少なくとも開閉弁と流量調整弁とが直列的に接続された複数の分岐経路を並列的に接続して構成され、
前記再造粒装置が起動してから定格運転に至るまでの前記混合器へ供給する加水量を前記給水装置の前記開閉弁および前記流量調整弁によって調整する木質ペレット再造粒設備の加水量制御方法であって、
それぞれの分岐経路を流れる流量をその分岐経路上の前記流量調整弁によって異なる所定値に予め設定しておき、
前記開閉弁の開閉制御で前記混合器へ給水する分岐経路を変更することで、前記混合器に供給する加水量を段階的に大きくする、
ことを特徴とする木質ペレット再造粒設備の加水量制御方法。
続きを表示(約 540 文字)
【請求項2】
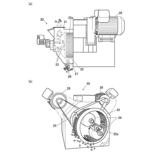
前記再造粒装置は、多数の成型孔が周壁に形成されたリングダイの内周面にプレスロールを押し当てることで水と混合させた前記木質バイオマスを前記成型孔から押し出すものであり、
前記リングダイの温度又は前記プレスロールの温度に基づき、前記各分岐経路の開閉弁を制御して前記混合器へ給水する分岐経路を変更する、
ことを特徴とする請求項1記載の木質ペレット再造粒設備の加水量制御方法。
【請求項3】
前記リングダイの温度又は前記プレスロールの温度の上昇に伴い、前記開閉弁は、必要とする加水量が得られるいずれかの分岐経路を開とし、残りの分岐経路を閉とする請求項2記載の木質ペレット再造粒設備の加水量制御方法。
【請求項4】
前記リングダイの温度又は前記プレスロールの温度の上昇に伴い、前記開閉弁は、必要とする加水量が得られる1又は複数の分岐経路を開とし、残りの分岐経路を閉とする請求項2記載の木質ペレット再造粒設備の加水量制御方法。
【請求項5】
前記再造粒装置が起動してから定格運転に至るまで、前記分岐経路は、2回以上変更されることを特徴とする請求項1乃至4のいずれかに記載の木質ペレット再造粒設備の加水量制御方法。
発明の詳細な説明
【技術分野】
【0001】
本発明は、木屑等の木質バイオマスを利用して木質ペレットを再造粒するための再造粒設備において、木質バイオマスへの加水量を制御する木質ペレット再造粒設備の加水量制御方法に関する。
続きを表示(約 1,700 文字)
【背景技術】
【0002】
木質バイオマスで形成されたペレット(木質バイオマスペレット)は脆いものが多いため、運搬時等においてペレット同士がぶつかり合う等により多くの木屑が発生する。そこで、発生した木屑(木質バイオマス)を再利用するために、再造粒設備が導入されている。
【0003】
この再造粒設備は、特許文献1(図8)や特許文献2に示される造粒装置と実質同様の再造粒装置を備えている。この再造粒装置は、収集された木屑を水と共に投入する材料投入口と、投入された材料を多数の穴が周壁に形成されたリングダイの内側へ押し込む押し込み装置と、リングダイの内側に押し込まれた材料をリングダイの周壁に内側から押し付けるプレスロールと、を備えている。そして、プレスロールによりリングダイの成型孔から押し出された材料をカッターで一定サイズにカットして木質ペレットを再造粒するようにしている。
【先行技術文献】
【特許文献】
【0004】
特開2019―147961号公報
特開2015―173994号公報
【発明の概要】
【発明が解決しようとする課題】
【0005】
このようなリングダイ式の再造粒装置においては、起動させる都度、定格運転に至るまでにプレスロールやリングダイの温度が徐々に高まり、また、木屑の供給量も増加してくるため、成形されるペレットの品質を維持するためには、木屑に混合させる加水量を適切に調整する必要がある。
そこで、起動してから定格運転に至るまでに、木屑と混合させる加水量を段階的に増やすことが可能な給水装置が導入されている。
【0006】
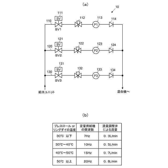
図5は、その一例を示すもので、給水装置10は、少なくとも開閉弁(SV1:111,SV2:121,SV3:131)と流量調整弁(ニードル弁:112,122,132)とが直列的に接続された3つの分岐経路110,120,130を並列的に接続して構成されている。
【0007】
各分岐経路は、その最上流側に開閉弁(SV1:111,SV2:121,SV3:131)が設けられ、その下流側に流量調整弁(ニードル弁:112,122,132)が設けられている。また、流量調整弁(ニードル弁)の下流側には、フローメータ(面積式流量計:113,123,133)を介して逆止弁114,124,134が設けられている。したがって、各分岐経路110.120.130は、開閉弁111,121,131によって給水経路として用いるか否かが決定され、また、各経路の給水量は流量調整弁112,122,132によって調整可能となる。
【0008】
このような給水装置を用いて、以下のように加水量制御を行うことも可能である。すなわち、選択した木質バイオマス(樹種)によって、保有している水分率は異なっているため、先ず、選択した木質バイオマス(樹種)に適した加水量が得られるいずれかの分岐経路を開閉弁111,121,131の操作により選択する。
【0009】
その後、再造粒装置を起動させて木質バイオマスを再造粒装置へ導入する。再造粒装置は、定格運転に移行する過程において、プレスロールやリングダイの温度が徐々に上昇し、再造粒装置に投入される木質バイオマス(木屑)の量も徐々に増えてくるので、成形されるペレットの品質を維持するためには、プレスロールやリングダイの温度帯に応じて、又は、木屑を供給する定量供給機の回転数に応じて、木屑と混合させる加水量を段階的に増加させる必要がある。
【0010】
そこで、使用する分岐経路を選択した上で、再造粒装置に導入する木質バイオマスと混合させる給水量を調整するために、図5(b)に示されるように、プレスロールやリングダイの温度帯に応じて、又は、木屑を供給する定量供給機の回転数(定量供給機の周波数)に応じて、流量調整弁112,122,132の開度を手動制御し、給水量をフローメータを見ながら予め試運転で決定された最適値(表に示される値)となるように調整することも可能となる。
(【0011】以降は省略されています)
この特許をJ-PlatPat(特許庁公式サイト)で参照する
関連特許
中国電力株式会社
被覆留め具
1か月前
中国電力株式会社
養生シート
1か月前
中国電力株式会社
玉掛け補助具
1か月前
中国電力株式会社
落下物受止ネット
25日前
中国電力株式会社
落雪損傷判定方法
1か月前
中国電力株式会社
燃料集合体移動装置
9日前
中国電力株式会社
架設電線の切断方法
1か月前
中国電力株式会社
落雪損傷範囲推定装置
1か月前
中国電力株式会社
配液管用の液漏れ補修具
9日前
中国電力株式会社
生体情報の異常検知システム
1か月前
中国電力株式会社
搬送装置及び電力制御システム
9日前
中国電力株式会社
分散型エネルギー資源管理システム
1か月前
中国電力株式会社
木質ペレット再造粒設備の加水量制御方法
22日前
中国電力株式会社
吊下パネルの修繕方法及び吊下管整列用具
23日前
中国電力株式会社
情報処理装置、情報処理方法およびプログラム
25日前
中国電力株式会社
廃棄物管理システムおよび廃棄物管理プログラム
1か月前
株式会社西部技研
除湿装置
1か月前
株式会社日本触媒
ドロー溶質
1か月前
プライミクス株式会社
攪拌装置
9日前
日本バイリーン株式会社
フィルタ
23日前
サンノプコ株式会社
消泡剤
1か月前
東レ株式会社
遠心ポッティング方法
1か月前
トヨタ自動車株式会社
濾過装置
24日前
株式会社切川物産
撹拌装置
10日前
トヨタ紡織株式会社
フィルタ
3日前
個人
気液混合装置
1か月前
栗田工業株式会社
ギ酸の回収方法
10日前
大和ハウス工業株式会社
反応装置
1か月前
松岡紙業 株式会社
油吸着体の製造方法
1か月前
トヨタ紡織株式会社
水流帯電装置
3日前
富士電機株式会社
ガス処理システム
1か月前
東芝ライテック株式会社
光照射装置
24日前
株式会社フクハラ
圧縮空気圧回路ユニット
1か月前
株式会社明電舎
成膜装置
1か月前
東芝ライテック株式会社
紫外線処理装置
9日前
日本化薬株式会社
直鎖ブテン製造用触媒及びその使用
1か月前
続きを見る
他の特許を見る