TOP
|
特許
|
意匠
|
商標
特許ウォッチ
Twitter
他の特許を見る
10個以上の画像は省略されています。
公開番号
2025147890
公報種別
公開特許公報(A)
公開日
2025-10-07
出願番号
2024048384
出願日
2024-03-25
発明の名称
品質判定装置及び品質判定方法
出願人
中国電力株式会社
,
ハシダ技研工業株式会社
代理人
個人
主分類
G01N
21/3563 20140101AFI20250930BHJP(測定;試験)
要約
【課題】非破壊で触媒の品質をより確実に判定可能な品質判定装置及び品質判定方法を提供すること。
【解決手段】品質判定装置1は、ハニカム触媒Cの品質を判定する品質判定装置1であって、ハニカム触媒Cに所定の波長の光を照射する発光部10と、発光部10から照射され、ハニカム触媒Cの表面に当たり反射した所定の波長の光を検出する検出部40と、検出部40により検出された所定の波長の光に基づき、ハニカム触媒Cの品質を判定する品質判定部116を備える。
【選択図】図1
特許請求の範囲
【請求項1】
触媒の品質を判定する品質判定装置であって、
前記触媒に所定の波長の光を照射する光源と、
前記光源から照射され、前記触媒の表面に当たり反射した前記所定の波長の光を検出する検出部と、
前記検出部で検出された前記所定の波長の光のスペクトルに基づき、前記触媒の品質を判定する品質判定部を備える、品質判定装置。
続きを表示(約 1,600 文字)
【請求項2】
前記触媒は、貫通孔を有し、
前記光源は、前記貫通孔の一方の開口側に配置され、
前記検出部は、前記貫通孔の他方の開口側に配置され、
前記検出部は、前記貫通孔の一方の開口側から前記光源により照射され、前記触媒の前記貫通孔の内面で反射し、前記貫通孔の他方の開口側から外部に到達する、前記所定の波長の光を検出する、請求項1に記載の品質判定装置。
【請求項3】
前記触媒は、貫通孔を有し、
前記光源から照射した前記所定の波長の光を前記触媒の前記貫通孔の内面に当たるように案内する案内部と、
前記案内部を前記触媒の前記貫通孔の内面のうちの品質の判定対象部分に配置する配置部と、
前記スペクトルに基づき、前記触媒の前記貫通孔の品質を判定する品質判定部と、を備え、
前記案内部は、前記触媒の表面に当たり反射した前記所定の波長の光を伝達可能に設けられたケーブルを有し、
前記検出部は、前記ケーブルから伝達された前記所定の波長の光を検出する、請求項1に記載の品質判定装置。
【請求項4】
前記配置部は、前記判定対象部分と前記案内部との間から空気を除去するように前記案内部を前記貫通孔の内面に配置する、請求項3に記載の品質判定装置。
【請求項5】
前記配置部は、前記判定対象部分と前記案内部とを密着するように前記案内部を配置することで前記判定対象部分と前記案内部との間から空気を除去する、請求項4に記載の品質判定装置。
【請求項6】
前記配置部は、前記判定対象部分と前記案内部との間の空気を吸引しつつ前記案内部を配置することで前記判定対象部分と前記案内部との間から空気を除去する、請求項4又は5に記載の品質判定装置。
【請求項7】
前記配置部は、内部に前記ケーブルが通され、一端側が屈曲したチューブと、前記チューブの他端側に接続され前記チューブの内部の空気を吸引可能な吸引部と、を有し、
前記案内部は、前記チューブの一端側の内部に配置され、
前記配置部は、前記チューブの一端側を前記判定対象部分に接触させた状態で前記吸引部により前記チューブの内部を吸引することにより、前記判定対象部分と前記案内部との間の空気を吸引しつつ前記案内部を前記判定対象部分の前記貫通孔の内面に配置する、請求項6に記載の品質判定装置。
【請求項8】
前記配置部は、前記判定対象部分と前記案内部との間の空気を不活性ガスにより置換する、請求項3又は4に記載の品質判定装置。
【請求項9】
前記配置部は、
内部に前記ケーブルが通され、一端側が屈曲し、全長にわたり気体が流通可能な2以上の流路を有するチューブと、
前記チューブの前記流路のうちの少なくとも1つの供給流路の他端側に接続され前記チューブの内部に不活性ガスを供給可能なガス供給部と、
前記チューブの前記流路のうちの少なくとも1つの排出流路の他端側に接続され前記ガス供給部による前記不活性ガスの供給に伴い押し出される空気を排出する排出部と、を有し、
前記案内部は、前記チューブの一端側の内部に配置され、
前記配置部は、前記ガス供給部が前記供給流路に前記不活性ガスを供給し、前記案内部と前記貫通孔の内面との間の空気を前記排出流路と前記排出部を介して排出することで、前記判定対象部分と前記案内部との間の空気を前記不活性ガスにより置換する、請求項8に記載の品質判定装置。
【請求項10】
前記配置部は、電磁石を有し、前記電磁石の磁力により前記判定対象部分と前記案内部とが密着するように前記貫通孔の内面に対して前記案内部を移動させる移動機構を有する、請求項5に記載の品質判定装置。
(【請求項11】以降は省略されています)
発明の詳細な説明
【技術分野】
【0001】
本発明は、品質判定装置及び品質判定方法に関する。
続きを表示(約 1,300 文字)
【背景技術】
【0002】
従来、排気ガスの浄化に用いられるハニカム構造を有する触媒は、使用に伴う性能低下に対して性能を回復させるための再生が行われ、再生後の触媒について品質を判定する技術が知られている。この種の技術を示すものとして特許文献1が挙げられる。特許文献1では、ハニカム触媒の表面に堆積している粒径2μm以下の粒子を含む被覆層の厚さを測定することでハニカム触媒の劣化を評価することが記載されている。
【先行技術文献】
【特許文献】
【0003】
再表2017-022582号公報
【発明の概要】
【発明が解決しようとする課題】
【0004】
ところで、顕微鏡等による表面観察や成分分析等を利用した、より高精度な品質判定方法では、試料取得のために触媒の損傷や破壊が伴うことから、触媒の全数を検査することが難しく、触媒の品質不良を見落とすおそれがあった。
【0005】
本発明は、非破壊で触媒の品質をより確実に判定可能な品質判定装置及び品質判定方法の提供を目的とする。
【課題を解決するための手段】
【0006】
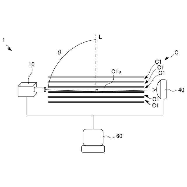
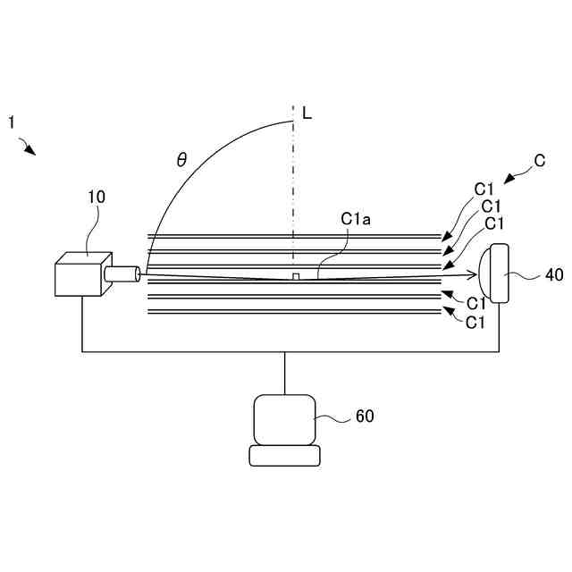
(1)本発明に係る品質判定装置は、触媒の品質を判定する品質判定装置であって、前記触媒に所定の波長の光を照射する光源と、前記光源から照射され、前記触媒の表面に当たり反射した前記所定の波長の光を検出する検出部と、前記検出部で検出された前記所定の波長の光のスペクトルに基づき、前記触媒の品質を判定する品質判定部を備える。
【0007】
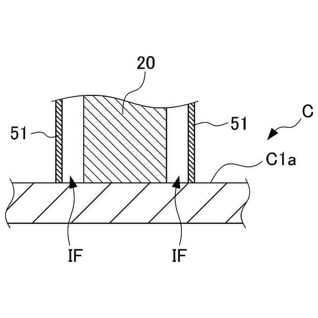
(2)(1)に記載の品質判定装置は、前記触媒は、貫通孔を有し、前記光源は、前記貫通孔の一方の開口側に配置され、前記検出部は、前記貫通孔の他方の開口側に配置され、前記検出部は、前記貫通孔の一方の開口側から前記光源により照射され、前記触媒の前記貫通孔の内面で反射し、前記貫通孔の他方の開口側から外部に到達する前記所定の波長の光を検出する。
【0008】
(3)(1)に記載の品質判定装置は、前記触媒は、貫通孔を有し、前記光源から照射した前記所定の波長の光を前記触媒の前記貫通孔の内面に当たるように案内する案内部と、前記案内部を前記触媒の前記貫通孔の内面のうちの品質の判定対象部分に配置する配置部と、前記スペクトルに基づき、前記触媒の前記貫通孔の品質を判定する品質判定部と、を備え、前記案内部は、前記触媒の表面に当たり反射した前記所定の波長の光を伝達可能に設けられたケーブルを有し、前記検出部は、前記ケーブルから伝達された前記所定の波長の光を検出する。
【0009】
(4)(3)に記載の品質判定装置は、前記配置部は、前記判定対象部分と前記案内部との間から空気を除去するように前記案内部を前記貫通孔の内面に配置する。
【0010】
(5)(4)に記載の品質判定装置においては、前記配置部は、前記判定対象部分と前記案内部とを密着するように前記案内部を配置することで前記判定対象部分と前記案内部との間から空気を除去する。
(【0011】以降は省略されています)
この特許をJ-PlatPat(特許庁公式サイト)で参照する
関連特許
中国電力株式会社
標示旗
23日前
中国電力株式会社
電柱管理システム
2日前
中国電力株式会社
異常箇所検出装置
24日前
中国電力株式会社
鉄塔地際部雨よけ具
23日前
中国電力株式会社
空き家判定システム
2日前
中国電力株式会社
蜂の巣判定警告装置
25日前
中国電力株式会社
需要及び電源想定システム
3日前
中国電力株式会社
電力ケーブル接続部カバー
16日前
中国電力株式会社
安全装備チェックシステム
4日前
中国電力株式会社
生体情報の異常検知システム
2日前
中国電力株式会社
医薬品使用履歴登録システム
2日前
中国電力株式会社
容器内の水分量検知システム
2日前
中国電力株式会社
品質判定装置及び品質判定方法
5日前
中国電力株式会社
配薬カートの医薬品提供システム
2日前
中国電力株式会社
分散型エネルギー資源管理システム
2日前
中国電力株式会社
沈砂池排砂方法及び沈砂池排砂システム
17日前
中国電力株式会社
配薬カートの引き出し方向制御システム
2日前
中国電力株式会社
漏水測定装置用洗浄装置及び漏水測定装置
1か月前
中国電力株式会社
充電部可視化装置、及び充電部可視化方法
3日前
中国電力株式会社
車両位置特定システム及び車両位置特定方法
1か月前
中国電力株式会社
電柱元位置建替方法、連結具及び基礎構造物
1か月前
中国電力株式会社
管理対象者又は管理対象物の位置特定システム
2日前
中国電力株式会社
無人航空機を用いた検針方法、及び無人航空機
3日前
中国電力株式会社
表示装置、撮像防止装置、表示方法およびプログラム
13日前
中国電力株式会社
文書作成支援システムおよび文書作成支援プログラム
23日前
東芝エネルギーシステムズ株式会社
系統安定化システム
1か月前
中国電力株式会社
室内監視システム、室内監視方法及び室内監視プログラム
1か月前
東芝エネルギーシステムズ株式会社
系統安定化システム
1か月前
中国電力株式会社
ノイズ推定装置、ノイズ推定装置の制御方法及びプログラム
4日前
東芝エネルギーシステムズ株式会社
電力系統安定化システム
1か月前
東芝エネルギーシステムズ株式会社
電力系統安定化システム
1か月前
中国電力株式会社
停電エリア表示システム及び停電エリア表示方法及び表示画面
13日前
中国電力株式会社
離隔判定装置、離隔判定システム、離隔判定方法及びプログラム
3日前
中国電力株式会社
計測データ分析装置、計測データ分析装置の制御方法及びプログラム
4日前
中国電力株式会社
ケーブル支持具、高圧ケーブルの取付工法および高圧ケーブルの取外し工法
23日前
中国電力株式会社
圧縮位置表示シール及び圧縮位置表示シールセット及び圧縮位置表示シール付き圧縮スリーブ
23日前
続きを見る
他の特許を見る