TOP
|
特許
|
意匠
|
商標
特許ウォッチ
Twitter
他の特許を見る
公開番号
2025172385
公報種別
公開特許公報(A)
公開日
2025-11-26
出願番号
2024077870
出願日
2024-05-13
発明の名称
切削装置
出願人
株式会社ディスコ
代理人
弁理士法人東京アルパ特許事務所
主分類
B24B
53/00 20060101AFI20251118BHJP(研削;研磨)
要約
【課題】切削装置におけるドレスにかかる時間を短くする。
【解決手段】第1昇降機構16によって第1切削機構18を上昇させることにより、切削ブレード31の上方に配置されているドレス砥石51に切削ブレード31の上端を接触させて、切削ブレード31をドレスする。したがって、第1切削機構18ごと切削ブレード31を上昇させるだけで、切削ブレード31をドレスすることができる。このため、第1切削機構18をサブチャックテーブルに保持されたドレッシングボード上に移動させて、このドレッシングボードに切削ブレード31を切り込ませる場合に比して、ドレスにかかる時間を短縮することができる。
【選択図】図3
特許請求の範囲
【請求項1】
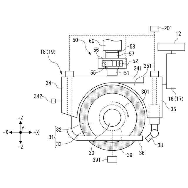
被加工物を保持するチャックテーブルと、該被加工物を回転する切削ブレードによって切削する切削機構と、該切削機構を昇降させる昇降機構と、該切削ブレードのドレスを行うドレス砥石を備えたドレス機構と、該ドレス砥石に該切削ブレードの先端を接触させ該切削ブレードのドレスを行うドレス制御部と、を備える切削装置であって、
該ドレス機構は、該切削ブレードの上方に配置されて該ドレス砥石を保持する保持部を備え、
該ドレス制御部は、該切削機構を上昇させて、該保持部に保持された該ドレス砥石に該切削ブレードの上端を接触させ、該切削ブレードをドレスする、
切削装置。
続きを表示(約 840 文字)
【請求項2】
該ドレス機構は、
該保持部を昇降自由に支持するガイド部と、
該保持部を上方向に付勢する上方向付勢部と、
該保持部の上方に配置されており、該昇降機構によって昇降しないブロックと、をさらに備え、
該保持部、該ガイド部および該上方向付勢部が、該切削機構における該切削ブレードの上部に配置されて該昇降機構によって該切削機構とともに昇降するように構成されており、
該ドレス制御部は、該切削機構を上昇させ、該保持部を該ブロックに押し当てることによって該ドレス砥石の上昇を停止させて、該上方向付勢部の付勢力に抗して上昇する該切削ブレードの上端を該ドレス砥石に接触させる、
請求項1記載の切削装置。
【請求項3】
該ドレス砥石に該切削ブレードが接触した際に生じる振動を測定するAEセンサを備え、
該ドレス制御部は、該ドレス砥石に該切削ブレードが接触した際の該AEセンサの測定値が所定の値になるように、該切削機構を上昇させて該切削ブレードを該ドレス砥石に接触させる、
請求項1記載の切削装置。
【請求項4】
該切削機構は、該切削ブレードを回転させるモータと、該モータにかかる回転負荷によって上昇する負荷電流値を検知する回転負荷検知部と、を備え、
該ドレス制御部は、該ドレス砥石に該切削ブレードが接触した際に該回転負荷検知部によって検知される負荷電流値が所定の値になるように、該切削機構を上昇させて該切削ブレードを該ドレス砥石に接触させる、
請求項1記載の切削装置。
【請求項5】
該ドレス機構は、該ドレス砥石を吊持する回転シャフトと、該回転シャフトを回転させる回転駆動源と、を備え、
該ドレス制御部は、該回転シャフトを回転させることにより回転する該ドレス砥石に、該切削ブレードの先端を接触させる、
請求項1から4のいずれかに記載の切削装置。
発明の詳細な説明
【技術分野】
【0001】
本発明は、切削装置に関する。
続きを表示(約 1,500 文字)
【背景技術】
【0002】
特許文献1に開示のように、切削装置には、切削加工中に切削ブレードのドレスを可能とするため、サブチャックテーブルが配置されており、サブチャックテーブルにドレッシングボードが配置されている。
【先行技術文献】
【特許文献】
【0003】
特開2023-051422号公報
【発明の概要】
【発明が解決しようとする課題】
【0004】
切削ブレードをドレスするときには、サブチャックテーブルに保持されたドレッシングボードに、切削ブレードを切り込ませる。このため、切削加工中のドレスには移動時間がかかる。
【0005】
したがって、本発明の目的は、切削装置におけるドレスにかかる時間を短くすることにある。
【課題を解決するための手段】
【0006】
本発明の切削装置(本切削装置)は、被加工物を保持するチャックテーブルと、該被加工物を回転する切削ブレードによって切削する切削機構と、該切削機構を昇降させる昇降機構と、該切削ブレードのドレスを行うドレス砥石を備えたドレス機構と、該ドレス砥石に該切削ブレードの先端を接触させ該切削ブレードのドレスを行うドレス制御部と、を備える切削装置であって、該ドレス機構は、該切削ブレードの上方に配置されて該ドレス砥石を保持する保持部を備え、該ドレス制御部は、該切削機構を上昇させて、該保持部に保持された該ドレス砥石に該切削ブレードの上端を接触させ、該切削ブレードをドレスする。
【0007】
本切削装置では、該ドレス機構は、該保持部を昇降自由に支持するガイド部と、該保持部を上方向に付勢する上方向付勢部と、該保持部の上方に配置されており、該昇降機構によって昇降しないブロックと、をさらに備えてもよく、該保持部、該ガイド部および該上方向付勢部が、該切削機構における該切削ブレードの上部に配置されて該昇降機構によって該切削機構とともに昇降するように構成されていてもよく、該ドレス制御部は、該切削機構を上昇させ、該保持部を該ブロックに押し当てることによって該ドレス砥石の上昇を停止させて、該上方向付勢部の付勢力に抗して上昇する該切削ブレードの上端を該ドレス砥石に接触させてもよい。
【0008】
本切削装置は、該ドレス砥石に該切削ブレードが接触した際に生じる振動を測定するAEセンサを備えてもよく、該ドレス制御部は、該ドレス砥石に該切削ブレードが接触した際の該AEセンサの測定値が所定の値になるように、該切削機構を上昇させて該切削ブレードを該ドレス砥石に接触させてもよい。
【0009】
本切削装置では、該切削機構は、該切削ブレードを回転させるモータと、該モータにかかる回転負荷によって上昇する負荷電流値を検知する回転負荷検知部と、を備えてもよく、該ドレス制御部は、該ドレス砥石に該切削ブレードが接触した際に該回転負荷検知部によって検知される負荷電流値が所定の値になるように、該切削機構を上昇させて該切削ブレードを該ドレス砥石に接触させてもよい。
【0010】
本切削装置では、該ドレス機構は、該ドレス砥石を吊持する回転シャフトと、該回転シャフトを回転させる回転駆動源と、を備えてもよく、該ドレス制御部は、該回転シャフトを回転させることにより回転する該ドレス砥石に、該切削ブレードの先端を接触させてもよい。
【発明の効果】
(【0011】以降は省略されています)
この特許をJ-PlatPat(特許庁公式サイト)で参照する
関連特許
個人
包丁研ぎ器具
4か月前
株式会社松風
研磨用ゴム砥石
1か月前
株式会社SUS
ワーク保持治具
14日前
株式会社東京精密
研削装置
1か月前
株式会社タカトリ
ウエハの研削装置
1か月前
株式会社ディスコ
被加工物の加工方法
2か月前
株式会社アイオーテック
外周加工装置
今日
ノリタケ株式会社
超砥粒ホイール
1か月前
株式会社東京精密
加工装置
1か月前
株式会社東京精密
加工装置
1か月前
株式会社東京精密
加工方法
1か月前
ノリタケ株式会社
研磨パッド
1か月前
トヨタ自動車株式会社
回転砥石の製造方法
3か月前
株式会社荏原製作所
研磨装置
21日前
秀和工業株式会社
処理装置および処理方法
2か月前
株式会社東京精密
研削装置
2か月前
富士紡ホールディングス株式会社
研磨パッド
1か月前
富士紡ホールディングス株式会社
研磨パッド
1か月前
富士紡ホールディングス株式会社
研磨パッド
1か月前
株式会社アイドゥス企画
受動変形内面研磨ホイール
3か月前
株式会社スギノマシン
ウォータージェット切断装置
6日前
富士紡ホールディングス株式会社
研磨パッド
1か月前
株式会社ディスコ
加工装置
22日前
株式会社ディスコ
切削装置
28日前
旭化成株式会社
研磨パッド
3か月前
株式会社東京精密
ダイシング装置
1か月前
株式会社ディスコ
加工装置
2か月前
株式会社東京精密
ダイシング装置
1か月前
Mipox株式会社
研磨部材の製造方法
3か月前
Mipox株式会社
研磨部材の製造方法
3か月前
Mipox株式会社
研磨部材の製造方法
3か月前
株式会社ディスコ
研削装置
4か月前
株式会社ディスコ
貼り合わせウェーハの加工方法
1か月前
株式会社クラッチ
ブラスト加工用ボックス
1か月前
株式会社東京精密
ハブレスブレード
1か月前
株式会社和井田製作所
エッジライン生成装置
1か月前
続きを見る
他の特許を見る