TOP
|
特許
|
意匠
|
商標
特許ウォッチ
Twitter
他の特許を見る
10個以上の画像は省略されています。
公開番号
2025134183
公報種別
公開特許公報(A)
公開日
2025-09-17
出願番号
2024031926
出願日
2024-03-04
発明の名称
処理装置および処理方法
出願人
秀和工業株式会社
代理人
個人
主分類
B24B
7/04 20060101AFI20250909BHJP(研削;研磨)
要約
【課題】揺動動作を伴う研削または研磨処理の加工精度を向上することができる処理装置および処理方法を提供すること。
【解決手段】本発明に係る処理装置は、処理対象であるワークを研削処理または研磨処理する処理装置であって、処理具を保持して回転動作させる第1回転体と、前記ワークを保持して回転動作させる第2回転体と、前記処理具および前記ワークの少なくとも一方を、前記第1,第2回転体の回転軸方向に相対的に接近させる第1駆動部と、前記第1,第2回転体の少なくとも一方を回転軸に対して垂直な方向に揺動動作させる第2駆動部と、前記第2駆動部による前記第1,第2回転体の回転軸間の距離、および前記第1駆動部による前記処理具の前記ワークへの加工圧力を制御する制御部と、を備え、前記第2駆動部は、前記揺動動作に正比例で変換する機構を有することを特徴とする。
【選択図】図1
特許請求の範囲
【請求項1】
処理対象であるワークを研削処理または研磨処理する処理装置であって、
処理具を保持して回転動作させる第1回転体と、
前記ワークを保持して回転動作させる第2回転体と、
前記処理具および前記ワークの少なくとも一方を、前記第1,第2回転体の回転軸方向に相対的に接近させる第1駆動部と、
前記第1,第2回転体の少なくとも一方を回転軸に対して垂直な方向に揺動動作させる第2駆動部と、
前記第2駆動部による前記第1,第2回転体の回転軸間の距離、および前記第1駆動部による前記処理具の前記ワークへの加工圧力を制御する制御部と、
を備え、
前記第2駆動部は、前記揺動動作に正比例で変換する直線駆動機構を有することを特徴とする処理装置。
続きを表示(約 830 文字)
【請求項2】
前記第2駆動部の前記直線駆動機構は、
前記第1,第2回転体の少なくとも一方を前記垂直な方向に直線移動させるスクリューおよびボールねじと、
前記スクリューを軸回転させるモータと、
を有することを特徴とする請求項1に記載の処理装置。
【請求項3】
前記第2駆動部の前記直線駆動機構は、
前記第1,第2回転体の少なくとも一方を前記垂直な方向に直線移動させる互いに噛み合うラックギアおよびピニオンギアと、
前記ピニオンギアを回転させるモータと、
を有することを特徴とする請求項1に記載の処理装置。
【請求項4】
処理対象であるワークを研削処理または研磨処理する処理方法であって、
第1駆動部が、第1回転体により回転動作される処理具を、第2回転体により回転動作される前記ワークに押し当てて当該ワークの第1領域を研削または研磨処理する第1処理工程と、
前記第1処理工程の後、前記処理具の前記ワークへの押し当てを解除する解除工程と、
前記解除工程の後、第2駆動部が、前記第1,第2回転体の少なくとも一方を回転軸に対して垂直な方向に所定量移動させる移動工程と、
前記移動工程の後、前記第1駆動部が、前記第1回転体により回転動作される前記処理具を、前記第2回転体により回転動作される前記ワークに押し当てて当該ワークの第2領域を研削または研磨処理する第2処理工程と
を有することを特徴とする処理方法。
【請求項5】
前記移動工程において、前記第2駆動部は、揺動動作に正比例で変換して前記第1,第2回転体の少なくとも一方を前記垂直な方向へ移動させることを特徴とする請求項4に記載の処理方法。
【請求項6】
前記第1領域は、前記第2領域よりも前記ワークの回転軸に遠位であることを特徴とする請求項4に記載の処理方法。
発明の詳細な説明
【技術分野】
【0001】
本発明は、対象物を研削または研磨する処理装置および処理方法に関する。
続きを表示(約 1,600 文字)
【背景技術】
【0002】
例えば、半導体装置の製造では、半導体基板(以下、ワークともいう)の裏面を研削装置により研削して薄化することが行われている。従来から提案される研削装置は、基台と、基台に取り付けられたモータによって回転駆動されるワークスピンドルと、基台に対して上下動可能に支持された主軸台と、主軸台に取り付けられ、モータによって回転駆動される工具スピンドルとを備え、ワークスピンドルに研削対象であるワークを吸着保持し、工具スピンドルに取り付けられた砥石によりワークを研削するタイプのものが一般的である。
【0003】
また、従来の研削装置には、工具もしくはワークを保持して回転するスピンドルに対してスピンドル回転軸に直交する方向に振動を付与する振動付与機構を備えるものがある。この振動付与機構は、加工装置の基台に回転可能に支承された中空円筒状のシャフトと、シャフトの中空部を貫通して延び、シャフトの一端に回転可能に支承されるカラー及び他端に回転可能に支承されるスピンドルホルダを一体に結合するスピンドルとの二重軸から構成され、カラー及びスピンドルホルダを支承するシャフトの両端部分が当該シャフトの回転中心からほぼ同一方向へ同一量偏心した偏心軸部として形成され、振動シャフトとスピンドルとをそれぞれ回転駆動することによってカラーに固定される工具もしくはワークに回転と共に当該回転軸に直交する方向の振動を付与することを特徴とする。
【先行技術文献】
【特許文献】
【0004】
特開2005-131737号
【発明の開示】
【発明が解決しようとする課題】
【0005】
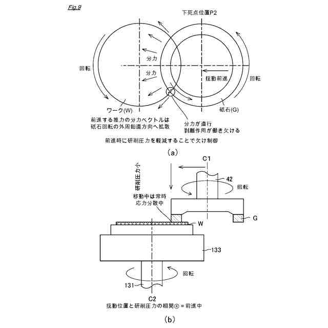
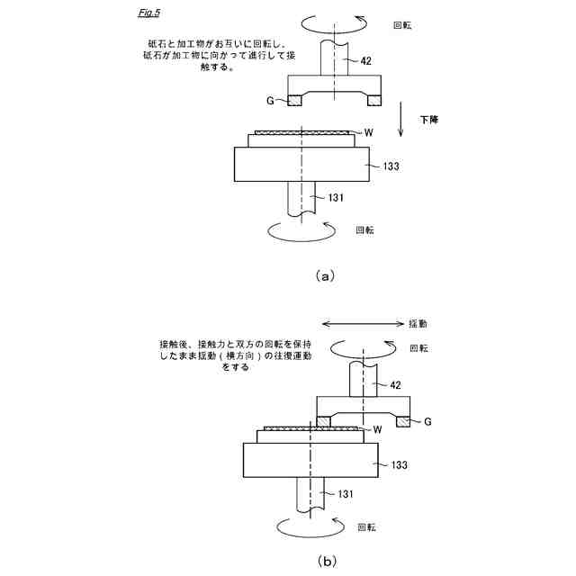
以上のように、従来の処理装置には、研削処理において、砥石とワークとの間の相対運動方向と直交する方向に揺動動作を行うものがある。しかしながら、ワークの研削・研磨処理への高精度化が進むなか、揺動動作における更なる精密な制御が求められている。
【0006】
本発明は、上記課題の解決のためになされたものであり、揺動動作を伴う研削または研磨処理の加工精度を向上することができる処理装置および処理方法を提供することを目的とする。
【課題を解決するための手段】
【0007】
上記の課題を解決すべく、本発明に係る処理装置は、処理対象であるワークを研削処理または研磨処理する処理装置であって、処理具を保持して回転動作させる第1回転体と、前記ワークを保持して回転動作させる第2回転体と、前記処理具および前記ワークの少なくとも一方を、前記第1,第2回転体の回転軸方向に相対的に接近させる第1駆動部と、前記第1,第2回転体の少なくとも一方を回転軸に対して垂直な方向に揺動動作させる第2駆動部と、前記第2駆動部による前記第1,第2回転体の回転軸間の距離、および前記第1駆動部による前記処理具の前記ワークへの加工圧力を制御する制御部と、を備え、前記第2駆動部は、前記揺動動作に正比例で変換する直線駆動機構を有することを特徴とする。
【0008】
上記構成によれば、第2駆動部による第1,第2回転体の回転軸間の距離の変化、言い換えると、第2駆動部による揺動動作において、正比例で揺動動作に変換するため、回転動作に基づく揺動動作の制御性を高めることができる。
【0009】
また、本発明に係る処理装置の第2駆動部の直線駆動機構は、前記第1,第2回転体の少なくとも一方を前記垂直な方向に直線移動させるスクリューおよびボールねじと、前記スクリューを軸回転させるモータと、を有することを特徴とする。
【0010】
上記構成によれば、モータの回転動作をスクリューおよびボールねじによって高精度に揺動動作へ変換することができる。
(【0011】以降は省略されています)
この特許をJ-PlatPat(特許庁公式サイト)で参照する
関連特許
秀和工業株式会社
処理装置および処理方法
2か月前
株式会社松風
研磨用ゴム砥石
2か月前
株式会社SUS
ワーク保持治具
28日前
株式会社東京精密
研削装置
1か月前
株式会社タカトリ
ウエハの研削装置
1か月前
株式会社アイオーテック
外周加工装置
14日前
株式会社ディスコ
被加工物の加工方法
2か月前
株式会社東京精密
加工装置
2か月前
ノリタケ株式会社
超砥粒ホイール
2か月前
株式会社東京精密
加工装置
2か月前
株式会社東京精密
加工方法
2か月前
秀和工業株式会社
処理装置および処理方法
2か月前
株式会社荏原製作所
研磨装置
1か月前
ノリタケ株式会社
研磨パッド
2か月前
富士紡ホールディングス株式会社
研磨パッド
1か月前
株式会社スギノマシン
ウォータージェット切断装置
20日前
株式会社東京精密
研削装置
3か月前
富士紡ホールディングス株式会社
研磨パッド
1か月前
富士紡ホールディングス株式会社
研磨パッド
1か月前
富士紡ホールディングス株式会社
研磨パッド
1か月前
株式会社ディスコ
加工装置
3か月前
株式会社ディスコ
切削装置
1か月前
株式会社東京精密
ダイシング装置
2か月前
株式会社東京精密
ダイシング装置
1か月前
Mipox株式会社
研磨部材の製造方法
3か月前
Mipox株式会社
研磨部材の製造方法
3か月前
Mipox株式会社
研磨部材の製造方法
3か月前
旭化成株式会社
研磨パッド
3か月前
株式会社ディスコ
加工装置
1か月前
株式会社クラッチ
ブラスト加工用ボックス
1か月前
株式会社ディスコ
貼り合わせウェーハの加工方法
1か月前
株式会社東京精密
ハブレスブレード
2か月前
株式会社和井田製作所
エッジライン生成装置
1か月前
ノリタケ株式会社
砥粒内包型高強度研磨パッド
2か月前
株式会社ディスコ
研削装置
3か月前
信越半導体株式会社
ウェーハの加工方法
2か月前
続きを見る
他の特許を見る