TOP
|
特許
|
意匠
|
商標
特許ウォッチ
Twitter
他の特許を見る
公開番号
2025162384
公報種別
公開特許公報(A)
公開日
2025-10-27
出願番号
2024065653
出願日
2024-04-15
発明の名称
ウエハの研削装置
出願人
株式会社タカトリ
代理人
個人
主分類
B24B
49/08 20060101AFI20251020BHJP(研削;研磨)
要約
【課題】ウエハを研削する砥石ユニットを正確に装着させた状態で、ウエハを研削できるようにしたウエハの研削装置を提供する。
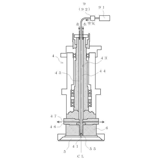
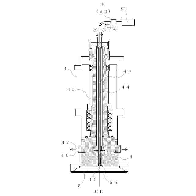
【解決手段】昇降自在に設けられ、回転軸CLを中心に回転するスピンドル4と、当該スピンドル4に砥石ユニット5を自動で磁着させる装着部6と、当該装着部6によって装着された砥石ユニット5を回転させることによって、ウエハ10を研削させるようにした研削装置1において、前記スピンドル4の回転軸CLに管44を通し、当該管44に空気を通す。そして、圧力センサー92によって、砥石ユニット5の装着状態を検知できるようにする。
【選択図】図6
特許請求の範囲
【請求項1】
昇降自在に設けられ、回転軸を中心に回転するスピンドルと、
当該スピンドルに砥石ユニットを装着させる装着部と、
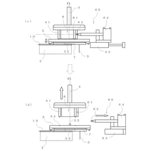
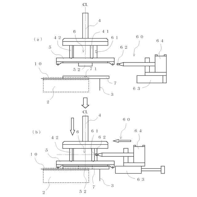
当該装着部によって装着された砥石ユニットを回転させることによって、ウエハを研削させるようにした研削装置において、
前記スピンドルに対する砥石ユニットの装着状態を検知する検知手段を設けるようにしたことを特徴とするウエハの研削装置。
続きを表示(約 510 文字)
【請求項2】
前記スピンドルが、回転軸に砥石ユニットの装着面側に貫通する導通路を備えてなるものであり、
前記検知手段が、当該導通路を通る空気の圧力によって、砥石ユニットの装着状態を検知するものである請求項1に記載のウエハの研削装置。
【請求項3】
前記スピンドルが、回転軸に砥石ユニットの装着面側に貫通する導通路を備えてなるものであり、
当該導通路が、空気と水を通すものであり、
前記検知手段が、当該導通路を通る空気の圧力によって、砥石ユニットの装着状態を検知するものであり、
前記導通路を通る水によってウエハを研削させるようにした請求項1に記載のウエハの研削装置。
【請求項4】
前記スピンドルが、回転軸に砥石ユニットの装着面側に貫通する導通路を備えてなるものであり、
前記検知手段が、当該導通路内を通る管に空気を通し、当該空気の圧力によって、砥石ユニットの装着状態を検知するものであり、
当該管と前記導通路の間に、水を通す隙間を形成し、当該水をスピンドルの側方から排出する排出部を備えてなるものである請求項1に記載のウエハの研削装置。
発明の詳細な説明
【技術分野】
【0001】
本発明は、ウエハを研削する研削装置に関するものであって、より詳しくは、砥石がスピンドルに装着されているか否かを検知できるようにしたウエハの研削装置に関するものである。
続きを表示(約 1,100 文字)
【背景技術】
【0002】
従来、ワイヤーソーで薄く切断された半導体のウエハは、研削装置で更に薄く研削されるが、この研削を行うための砥石ユニットを交換する場合、磁着させて交換できるようにした方法が提案されている(特許文献1)。
【0003】
この特許文献1(第62段落参照)の砥石ユニットの交換方法は、スピンドルの下部に電磁石を設けておくとともに、鉄で構成された砥石フランジを有する砥石ユニットを設けておき、電磁石の磁着状態と消磁状態を切り替えることによって、新しい砥石ユニットに交換できるようにしたものである。このような構成を採用すれば、従来のように、交換作業時に、下方から工具を入れてネジを取り外す必要がなくなるため、交換作業を楽に行うことができるようになる。
【先行技術文献】
【特許文献】
【0004】
特開2001―148361号公報
【発明の概要】
【発明が解決しようとする課題】
【0005】
しかしながら、このように砥石ユニットを手動以外の方法で交換できるようにした場合、次のような問題を生ずる。
【0006】
すなわち、従来では、手作業で砥石ユニットを装着するようにしているため、装着状態を手で触って確認することができるが、電磁石などを用いて自動で砥石ユニットを装着させるようにした場合、その装着の状態を確認することができない。
【0007】
また、砥石ユニットを手作業で装着させるようにした場合であっても、研削加工中に砥石ユニットが緩む可能性があり、そのような場合、砥石ユニットが脱落して、研削装置の破損につながる危険性がある。
【0008】
そこで、本発明は、ウエハを研削する砥石ユニットを正確に装着させた状態で、ウエハを研削できるようにしたウエハの研削装置を提供することを目的とする。
【課題を解決するための手段】
【0009】
すなわち、本発明は上記課題を解決するために、昇降自在に設けられ、回転軸を中心に回転するスピンドルと、当該スピンドルに砥石ユニットを装着させる装着部と、当該装着部によって装着された砥石ユニットを回転させることによって、ウエハを研削させるようにした研削装置において、前記スピンドルに対する砥石ユニットの装着状態を検知する検知手段を設けるようにしたものである。
【0010】
このように構成すれば、砥石ユニットが正確に装着されていない場合に、これを検知することができるため、研削作業中に砥石ユニットが外れて、研削装置を損傷させる危険性を低減させることができるようになる。
(【0011】以降は省略されています)
この特許をJ-PlatPat(特許庁公式サイト)で参照する
関連特許
株式会社タカトリ
ウエハの研削装置
27日前
個人
包丁研ぎ器具
3か月前
株式会社松風
研磨用ゴム砥石
1か月前
株式会社SUS
ワーク保持治具
11日前
株式会社クボタ
管研削装置
4か月前
株式会社東京精密
研削装置
1か月前
株式会社タカトリ
ウエハの研削装置
27日前
株式会社ディスコ
被加工物の加工方法
2か月前
株式会社東京精密
加工方法
1か月前
株式会社東京精密
加工装置
1か月前
ノリタケ株式会社
超砥粒ホイール
1か月前
株式会社ニッチュー
ブラスト装置
4か月前
株式会社東京精密
加工装置
1か月前
株式会社荏原製作所
研磨装置
18日前
秀和工業株式会社
処理装置および処理方法
2か月前
ノリタケ株式会社
研磨パッド
1か月前
トヨタ自動車株式会社
回転砥石の製造方法
3か月前
株式会社アイドゥス企画
受動変形内面研磨ホイール
3か月前
富士紡ホールディングス株式会社
研磨パッド
1か月前
富士紡ホールディングス株式会社
研磨パッド
1か月前
株式会社東京精密
研削装置
2か月前
富士紡ホールディングス株式会社
研磨パッド
1か月前
富士紡ホールディングス株式会社
研磨パッド
1か月前
株式会社スギノマシン
ウォータージェット切断装置
3日前
Mipox株式会社
研磨部材の製造方法
2か月前
株式会社東京精密
ダイシング装置
1か月前
株式会社東京精密
ダイシング装置
1か月前
Mipox株式会社
研磨部材の製造方法
2か月前
株式会社ディスコ
切削装置
25日前
Mipox株式会社
研磨部材の製造方法
2か月前
株式会社ディスコ
研削装置
3か月前
株式会社ディスコ
加工装置
19日前
旭化成株式会社
研磨パッド
2か月前
株式会社ディスコ
加工装置
2か月前
株式会社クラッチ
ブラスト加工用ボックス
1か月前
株式会社東京精密
ハブレスブレード
1か月前
続きを見る
他の特許を見る