TOP
|
特許
|
意匠
|
商標
特許ウォッチ
Twitter
他の特許を見る
公開番号
2025143830
公報種別
公開特許公報(A)
公開日
2025-10-02
出願番号
2024043282
出願日
2024-03-19
発明の名称
洗浄装置及び洗浄方法
出願人
株式会社ディスコ
代理人
弁理士法人愛宕綜合特許事務所
主分類
H01L
21/304 20060101AFI20250925BHJP(基本的電気素子)
要約
【課題】洗浄装置によってウエーハの研削面を洗浄する際に、スピンナーテーブルの外周からコンタミ混じりの洗浄水が吸い込まれて、ウエーハの吸着面が汚染されるという問題が解消される洗浄装置を提供する。
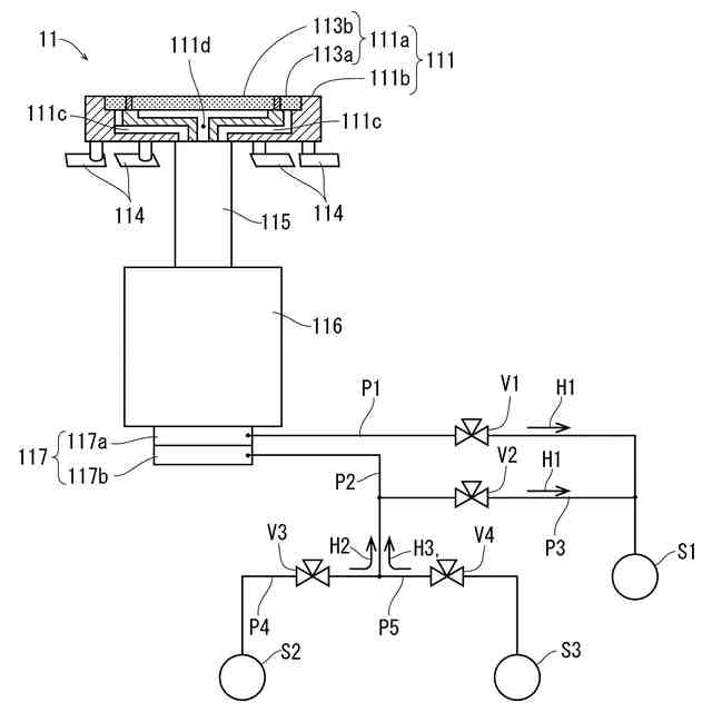
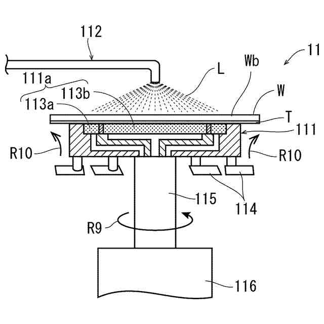
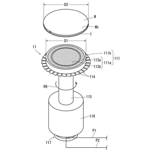
【解決手段】ウエーハWを吸引保持する保持面111bを有するスピンナーテーブル111と、スピンナーテーブル111を回転する駆動源116と、スピンナーテーブル111に保持されたウエーハWに洗浄水Lを供給するノズル112とを備え、スピンナーテーブル111の外径は、ウエーハの外径よりも小さく構成され、スピンナーテーブル111の回転に伴って回転し上昇気流R10を生成するファン114がスピンナーテーブル111の保持面111bより下部に設置され、ウエーハWを洗浄する際に供給された洗浄水LがウエーハWを回り込み、保持面111bから吸引されるのを抑制する。
【選択図】図7
特許請求の範囲
【請求項1】
ウエーハを洗浄する洗浄装置であって、
ウエーハを吸引保持する保持面を有するスピンナーテーブルと、該スピンナーテーブルを回転する駆動源と、該スピンナーテーブルに保持されたウエーハに洗浄水を供給するノズルとを備え、
該スピンナーテーブルの外径は、ウエーハの外径よりも小さく構成され、該スピンナーテーブルの回転に伴って回転し上昇気流を生成するファンが該スピンナーテーブルの保持面より下部に設置され、
ウエーハを洗浄する際に供給された洗浄水がウエーハを回り込み、該保持面から吸引されるのを抑制する洗浄装置。
続きを表示(約 120 文字)
【請求項2】
該スピンナーテーブルの保持面においてウエーハを吸引する吸引領域が、外周領域と中央領域とに仕切られており、
洗浄が終了したウエーハを該チャックテーブルから搬出する際、該中央領域から流体を噴出する請求項1に記載の洗浄装置。
発明の詳細な説明
【技術分野】
【0001】
本発明は、ウエーハを洗浄する洗浄装置に関する。
続きを表示(約 1,800 文字)
【背景技術】
【0002】
IC、LSI等の複数のデバイスが分割予定ラインによって区画され表面に形成されたウエーハは、研削装置によって裏面が研削されて所定の厚みに形成された後、ダイシング装置、レーザー加工装置によって個々のデバイスチップに分割され、携帯電話、パソコン等の電気機器に利用される。
【0003】
研削装置は、保護テープが貼着されたウエーハの表面を吸引して保持するチャックテーブルと、該チャックテーブルに吸引保持されたウエーハの裏面を研削する研削砥石を環状に備えた研削ホイールを回転可能に装着した研削手段と、研削済みのウエーハの表面側をスピンナーテーブルで吸引して回転させながら、洗浄水を研削面である裏面に供給して洗浄する洗浄装置とを含み構成されていて、ウエーハを高精度に所望の厚みに加工し、洗浄することができる。
【0004】
また、ウエーハの裏面を研削すると、コンタミ混じりの研削水がチャックテーブルの外周から浸入して、ウエーハの表面に貼着された保護テープを汚染するという問題があり、本出願人によって、チャックテーブルによって吸着されていたウエーハの表面に貼着された保護テープ側の面を洗浄する吸着面洗浄手段を備えた研削装置が提案されている(特許文献1を参照)。
【先行技術文献】
【特許文献】
【0005】
特開2019-054082号公報
【発明の概要】
【発明が解決しようとする課題】
【0006】
しかし、上記した洗浄装置で、ウエーハの研削面(裏面)を洗浄すると、該洗浄装置においてウエーハを保持するスピンナーテーブルの外周から、裏面を洗浄した後のコンタミ混じりの洗浄水が吸い込まれ、上記の吸着面洗浄手段で洗浄したウエーハの吸着面が、再び汚染されるという問題がある。
【0007】
本発明は、上記事実に鑑みなされたものであり、その主たる技術課題は、洗浄装置によってウエーハの研削面(裏面)を洗浄する際に、スピンナーテーブルの外周からコンタミ混じりの洗浄水が吸い込まれて、ウエーハの吸着面(保護テープ側の面)が汚染されるという問題が解消される洗浄装置を提供することにある。
【課題を解決するための手段】
【0008】
上記主たる技術課題を解決するため、本発明によれば、ウエーハを洗浄する洗浄装置であって、ウエーハを吸引保持する保持面を有するスピンナーテーブルと、該スピンナーテーブルを回転する駆動源と、該スピンナーテーブルに保持されたウエーハに洗浄水を供給するノズルとを備え、該スピンナーテーブルの外径は、ウエーハの外径よりも小さく構成され、該スピンナーテーブルの回転に伴って回転し上昇気流を生成するファンが該スピンナーテーブルの保持面より下部に設置され、ウエーハを洗浄する際に供給された洗浄水がウエーハを回り込み、該保持面から吸引されるのを抑制する洗浄装置が提供される。
【0009】
該スピンナーテーブルの保持面においてウエーハを吸引する吸引領域が、外周領域と中央領域とに仕切られており、洗浄が終了したウエーハを該チャックテーブルから搬出する際、該中央領域から流体を噴出するように構成されていることが好ましい。
【発明の効果】
【0010】
本発明の洗浄装置は、ウエーハを吸引保持する保持面を有するスピンナーテーブルと、該スピンナーテーブルを回転する駆動源と、該スピンナーテーブルに保持されたウエーハに洗浄水を供給するノズルとを備え、該スピンナーテーブルの外径は、ウエーハの外径よりも小さく構成され、該スピンナーテーブルの回転に伴って回転し上昇気流を生成するファンが該スピンナーテーブルの保持面より下部に設置され、ウエーハを洗浄する際に供給された洗浄水がウエーハを回り込み、該保持面から吸引されるのを抑制することから、洗浄装置においてウエーハの研削面を洗浄する際に、洗浄ノズルから供給されて、該研削面から除去したコンタミ等を含む研削水がスピンナーテーブルの保持面に吸い込まれることが抑制され、ウエーハの吸着面の外周が汚染されることが防止される。
【図面の簡単な説明】
(【0011】以降は省略されています)
この特許をJ-PlatPat(特許庁公式サイト)で参照する
関連特許
株式会社ディスコ
加工方法
5日前
株式会社ディスコ
研磨装置
10日前
株式会社ディスコ
加工装置
3日前
株式会社ディスコ
加工装置
3日前
株式会社ディスコ
研削装置
9日前
株式会社ディスコ
搬送システム
9日前
株式会社ディスコ
ノズルユニット
13日前
株式会社ディスコ
ブレーキング装置
9日前
株式会社ディスコ
検出方法及び処理装置
2日前
株式会社ディスコ
搬出装置及び切削装置
2日前
株式会社ディスコ
洗浄装置及び洗浄方法
10日前
株式会社ディスコ
搬送機構および搬送方法
10日前
株式会社ディスコ
窒化ガリウム基板の製造方法
5日前
株式会社ディスコ
チャックテーブルの整形方法
4日前
株式会社ディスコ
試験装置、試験片の試験方法
13日前
株式会社ディスコ
保護シート、及びシート配設方法
9日前
株式会社ディスコ
板状ワークの研削方法及び研削装置
5日前
株式会社ディスコ
ウエーハの処理方法及びウエーハの処理装置
11日前
株式会社ディスコ
シートの処理方法、チップの製造方法及び基板の製造方法
9日前
株式会社ディスコ
フレームユニット形成方法およびフレームユニット形成装置
9日前
株式会社ディスコ
ドレッシングツール、保持テーブル、加工装置、及び、ドレッシング方法
2日前
個人
フレキシブル電気化学素子
2日前
東レ株式会社
多孔質炭素シート
1か月前
日本発條株式会社
積層体
13日前
株式会社ユーシン
操作装置
2日前
ローム株式会社
半導体装置
4日前
ローム株式会社
半導体装置
1か月前
ローム株式会社
半導体装置
9日前
個人
防雪防塵カバー
13日前
ローム株式会社
半導体装置
11日前
キヤノン株式会社
電子機器
1か月前
ローム株式会社
半導体装置
11日前
ローム株式会社
半導体装置
11日前
オムロン株式会社
電磁継電器
3日前
株式会社GSユアサ
蓄電装置
13日前
株式会社ホロン
冷陰極電子源
9日前
続きを見る
他の特許を見る