TOP
|
特許
|
意匠
|
商標
特許ウォッチ
Twitter
他の特許を見る
10個以上の画像は省略されています。
公開番号
2025165677
公報種別
公開特許公報(A)
公開日
2025-11-05
出願番号
2024069901
出願日
2024-04-23
発明の名称
保護部材形成装置、保護部材形成方法及びウェーハの製造方法
出願人
株式会社ディスコ
代理人
弁理士法人東京アルパ特許事務所
主分類
H01L
21/304 20060101AFI20251028BHJP(基本的電気素子)
要約
【課題】ウェーハの研削加工中の保護部材のウェーハからの剥離を防ぐとともに、研削加工後に保護部材をウェーハから容易に剥離させること.
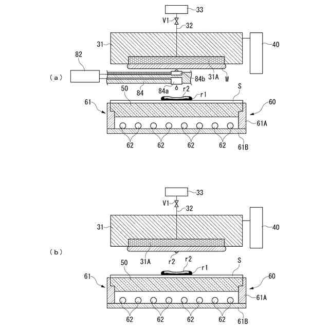
【解決手段】第1樹脂ノズル(第1樹脂供給部)83によって接着力の強い第1液状樹脂r1を供給した後、該第1液状樹脂r1の中央部に、第2樹脂ノズル(第2供給部)84によって接着力の弱い第2液状樹脂r2を供給し、これらの第1液状樹脂r1と第2液状樹脂r2を昇降機構40によって保持テーブル31に保持されたウェーハWをウェーハWの一方の面全面に押し広げて硬化ユニット60によって硬化させ、ウェーハWの一方の面の中央部分に第2液状樹脂r2が硬化した第2樹脂R2を円形に接着させつつ、該第2樹脂R2の外側に第1液状樹脂r1が硬化した第1樹脂R1を接着させる。
【選択図】図5
特許請求の範囲
【請求項1】
滴下した液状樹脂を拡張させる拡張テーブルと、
該拡張テーブルの上方に対向配置される保持テーブルと、
前記拡張テーブル側に液状樹脂を供給する液状樹脂供給部と、
前記保持テーブルと前記拡張テーブルとを相対的に鉛直方向に昇降させて液状樹脂を拡張させる昇降機構と、
拡張した液状樹脂を硬化させる硬化手段と、
を備える保護部材形成装置であって、
前記液状樹脂供給部は、
第1液状樹脂を供給する第1供給部と、
前記第1液状樹脂よりも接着力が弱い第2液状樹脂を供給する第2供給部と、
を備え、
前記第1供給部によって前記第1液状樹脂を供給した後、該第1液状樹脂の中央部分に前記第2供給部によって前記第2液状樹脂を供給し、これらの第1液状樹脂と第2液状樹脂を前記昇降機構によってウェーハの一方の面全面に押し広げて前記硬化手段によって硬化させ、ウェーハの一方の面の中央部分に前記第2液状樹脂が硬化した第2樹脂を円形に接着させつつ、該第2樹脂の外側に前記第1液状樹脂が硬化した第1樹脂を接着させる制御部を設けて構成されることを特徴とする保護部材形成装置。
続きを表示(約 330 文字)
【請求項2】
請求項1記載の保護部材形成装置を用いてウェーハの一方の面全面に液状樹脂を押し広げて硬化させることによって保護部材を形成する保護部材形成方法であって、
前記拡張テーブル側に前記第1液状樹脂を供給する第1液状樹脂供給工程と、
前記第1液状樹脂の中央部分に前記第2液状樹脂を供給する第2液状樹脂供給工程と、
前記拡張テーブルと前記保持テーブルとを相対的に鉛直方向に接近させて前記第1液状樹脂と前記第2液状樹脂とをウェーハの一方の面全面に押し広げる拡張工程と、
前記第1液状樹脂と前記第2液状樹脂を硬化させる硬化工程と、
を経てウェーハの一方の面全面に保護部材を形成することを特徴とする保護部材形成方法。
発明の詳細な説明
【技術分野】
【0001】
本発明は、ウェーハの一方の面全面に保護部材を形成するための保護部材形成装置及び保護部材形成方法に関する。
続きを表示(約 2,300 文字)
【背景技術】
【0002】
例えば、電子機器に用いられるICやLSIなどの半導体デバイスの製造に用いられるウェーハは、シリコンなどの単結晶のインゴットからブレードソーやワイヤーソーなどの切断装置によって切り出されたスライスウェーハを研削装置や研磨装置によって両面を平坦化することによって得られている。そして、このように両面が平坦化されたウェーハの表面にICやLSIなどのデバイスが形成され、これらのデバイスが形成されたウェーハの裏面が研削されて該ウェーハが所定の厚みに薄化され、薄化されたウェーハがダイシングソーなどによって切断されて個々のデバイスに分割されている。
【0003】
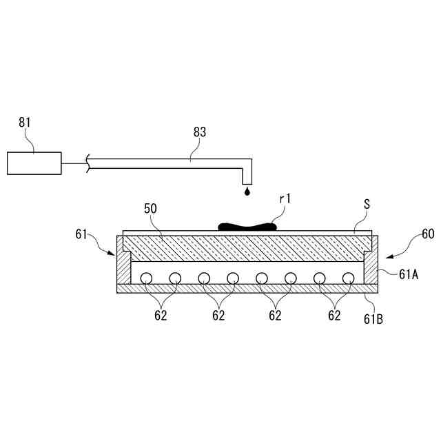
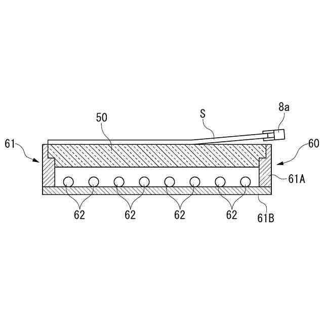
ところで、インゴットから切り出されたスライスウェーハには、ブレードソーなどの切断装置による切断加工時に両面に発生する加工歪の大きさの違いによる反りと、両面の表層に生じるうねりを有している。このため、スライスウェーハの一方の面に紫外線硬化樹脂などの保護部材を形成してその面を平坦化し、この保護部材の平坦な一方の面をチャックテーブルの保持面で保持した状態でスライスウェーハの他方の面を研削して該他方の面を平坦化した後、該スライスウェーハから保護部材を剥ぎ取り、平坦な他方の面をチャックテーブルの保持面で保持した状態で該スライスウェーハの一方の面を研削して平坦な面とする加工方法が実施されている。そして、スライスウェーハの一方の面に保護部材を形成するための保護部材形成装置が特許文献1~3などにおいて提案されている。
【0004】
保護部材形成装置においては、スライスウェーハ(以下、単に「ウェーハ」と称する)の一方の面全面に液状樹脂を拡張させ、この液状樹脂を硬化させることによって保護部材を形成しているが、液状樹脂をウェーハの一方の面全面に拡張させる際には、拡張テーブル上にシートを配置し、このシートの上に液状樹脂を滴下し、拡張テーブルの上方に配置された保持テーブルをこれに保持されたウェーハと共に設定した所定の高さ位置まで下降させ、シート上の液状樹脂をウェーハによって押し付けることによって液状樹脂を拡張させている。そして、液状樹脂が紫外線硬化樹脂である場合、この紫外線硬化樹脂に紫外線を照射して該紫外線硬化樹脂を硬化させている。
【先行技術文献】
【特許文献】
【0005】
特開2014-192473号公報
特開2017-079291号公報
特開2019-029543号公報
【発明の概要】
【発明が解決しようとする課題】
【0006】
ところで、一方の面全面に保護部材が形成されたウェーハを、保護部材を下にしてチャックテーブル上に保持して該ウェーハの他方の面を研削砥石によって研削しているときに、ウェーハの外周部分に保護部材の剥離が発生するために該ウェーハの外周部分が薄くなるという問題がある。
【0007】
上記問題への対策として、保護部材の接着力を強くする方法が考えられるが、保護部材の接着力を強くすると、研削加工後に保護部材をウェーハから剥離させることが困難となり、保護部材を強引に剥ぎ取ると、保護部材の一部がウェーハに残ったり、ウェーハが破損するという問題が発生する。
【0008】
本発明は、上記問題に鑑みてなされたもので、その目的は、ウェーハの研削加工中の保護部材のウェーハからの剥離を防ぐとともに、研削加工後に保護部材をウェーハから容易に剥離させることができる保護部材形成装置及び保護部材形成方法を提供することにある。
【課題を解決するための手段】
【0009】
上記目的を達成するための第1発明は、滴下した液状樹脂を拡張させる拡張テーブルと、
該拡張テーブルの上方に対向配置される保持テーブルと、前記拡張テーブル側に液状樹脂を供給する液状樹脂供給部と、前記保持テーブルと前記拡張テーブルとを相対的に鉛直方向に昇降させて液状樹脂を拡張させる昇降機構と、拡張した液状樹脂を硬化させる硬化手段と、を備える保護部材形成装置であって、前記液状樹脂供給部は、第1液状樹脂を供給する第1供給部と、前記第1液状樹脂よりも接着力が弱い第2液状樹脂を供給する第2供給部と、を備え、前記第1供給部によって前記第1液状樹脂を供給した後、該第1液状樹脂の中央部分に前記第2供給部によって前記第2液状樹脂を供給し、これらの第1液状樹脂と第2液状樹脂を前記昇降機構によってウェーハの一方の面全面に押し広げて前記硬化手段によって硬化させ、ウェーハの一方の面の中央部分に前記第2液状樹脂が硬化した第2樹脂を円形に接着させつつ、該第2樹脂の外側に前記第1液状樹脂が硬化した第1樹脂を接着させる制御部を設けて構成されることを特徴とする。
【0010】
また、第2発明は、第1発明に係る保護部材形成装置を用いてウェーハの一方の面全面に液状樹脂を押し広げて硬化させることによって保護部材を形成する保護部材形成方法であって、前記拡張テーブル側に前記第1液状樹脂を供給する第1液状樹脂供給工程と、前記第1液状樹脂の中央部分に前記第2液状樹脂を供給する第2液状樹脂供給工程と、前記拡張テーブルと前記保持テーブルとを相対的に鉛直方向に接近させて前記第1液状樹脂と前記第2液状樹脂とをウェーハの一方の面全面に押し広げる拡張工程と、前記第1液状樹脂と前記第2液状樹脂を硬化させる硬化工程と、を経てウェーハの一方の面全面に保護部材を形成することを特徴とする。
【発明の効果】
(【0011】以降は省略されています)
この特許をJ-PlatPat(特許庁公式サイト)で参照する
関連特許
株式会社ディスコ
加工装置
4日前
株式会社ディスコ
加工装置
12日前
株式会社ディスコ
加工装置
7日前
株式会社ディスコ
シート固着装置
6日前
株式会社ディスコ
レーザー加工装置
6日前
株式会社ディスコ
被加工物の加工方法
12日前
株式会社ディスコ
スピンドルユニット
4日前
株式会社ディスコ
キャリア板の除去方法
6日前
株式会社ディスコ
シリアル接続システム
4日前
株式会社ディスコ
加工方法、及び研磨装置
6日前
株式会社ディスコ
フィルターハウジングホルダー
4日前
株式会社ディスコ
ウェーハの加工方法及び加工装置
12日前
株式会社ディスコ
カーフチェック方法及び加工装置
6日前
株式会社ディスコ
ウェーハの加工方法及び切削装置
12日前
株式会社ディスコ
切削装置、及び被加工物の切削方法
4日前
株式会社ディスコ
支持部材及び処理対象物の処理方法
4日前
株式会社ディスコ
パッケージデバイスチップの製造方法
4日前
株式会社ディスコ
ウェーハ洗浄装置と加工装置及び加工方法
6日前
株式会社ディスコ
ノズル、切削装置及び被加工物の加工方法
5日前
株式会社ディスコ
保護部材形成装置、保護部材形成方法及びウェーハの製造方法
6日前
株式会社ディスコ
レーザ加工装置、被加工物の面取り方法、及びウエーハの製造方法
7日前
株式会社ディスコ
シート固着装置及びシートが固着されている被固着物を製造する方法
6日前
株式会社ディスコ
シート固着装置及びシートが固着されている被固着物を製造する方法
6日前
東ソー株式会社
絶縁電線
20日前
APB株式会社
蓄電セル
18日前
個人
フレキシブル電気化学素子
1か月前
ローム株式会社
半導体装置
1か月前
日新イオン機器株式会社
イオン源
28日前
株式会社ユーシン
操作装置
1か月前
マクセル株式会社
電源装置
12日前
ローム株式会社
半導体装置
1か月前
株式会社東芝
端子台
12日前
ローム株式会社
半導体装置
19日前
株式会社GSユアサ
蓄電設備
1か月前
株式会社GSユアサ
蓄電装置
13日前
株式会社GSユアサ
蓄電装置
5日前
続きを見る
他の特許を見る