TOP
|
特許
|
意匠
|
商標
特許ウォッチ
Twitter
他の特許を見る
公開番号
2025173220
公報種別
公開特許公報(A)
公開日
2025-11-27
出願番号
2024078701
出願日
2024-05-14
発明の名称
研削装置
出願人
株式会社ディスコ
代理人
インフォート弁理士法人
主分類
H01L
21/304 20060101AFI20251119BHJP(基本的電気素子)
要約
【課題】研削装置において、ウェーハ上面の不良を抑制する。
【解決手段】研削装置1は、ウェーハを保持するチャックテーブル10と、ウェーハを研削砥石66で研削する研削機構60と、チャックテーブル10と研削砥石66とを収容する加工室31と、を備える。研削装置1は、加工室31内でチャックテーブル10に保持された研削前のウェーハの上面に洗浄水を供給して上面を洗浄する洗浄水ノズルであるヘッド部51を備える。
【選択図】図1
特許請求の範囲
【請求項1】
ウェーハを保持するチャックテーブルと、該ウェーハを研削砥石で研削する研削機構と、該チャックテーブルと該研削砥石とを収容する研削室と、を備える研削装置であって、
該研削室内で該チャックテーブルに保持された研削前の該ウェーハの上面に洗浄水を供給して該上面を洗浄する洗浄水ノズルを備える、研削装置。
続きを表示(約 920 文字)
【請求項2】
該洗浄水ノズルが供給する洗浄水には、エアが混合されている、請求項1記載の研削装置。
【請求項3】
該研削室に配置し、該チャックテーブルに保持された該ウェーハの厚みを非接触で測定する非接触厚み測定器を、さらに備え、
該非接触厚み測定器は、
該ウェーハの上方に配置し、下面と該ウェーハの上面との間に水層を形成して該間を水で満たす水層形成部と、
該水層形成部を該チャックテーブルの保持面の径方向に移動させる径方向移動機構を備え、
該水層形成部を該洗浄水ノズルとして利用する、請求項1又は請求項2記載の研削装置。
【請求項4】
ウェーハを保持するチャックテーブルと、該チャックテーブルを3つ以上備え中心を軸に回転させるターンテーブルと、該ウェーハを粗研削砥石で研削する粗研削機構と、該粗研削砥石で粗研削した該ウェーハを仕上げ研削砥石で研削する仕上げ研削機構と、該チャックテーブルと該粗研削砥石とを収容する粗研削室と、該チャックテーブルと該仕上げ研削砥石とを収容する仕上げ研削室と、を備える研削装置であって、
該仕上げ研削砥石によって該チャックテーブルに保持された該ウェーハを研削する前に、該ウェーハの上面に洗浄水を供給し、該ウェーハの上面を洗浄する洗浄水ノズルを該粗研削室と該仕上げ研削室の少なくとも一方に備える、
研削装置。
【請求項5】
該洗浄水ノズルは、該洗浄水にエアを混合するエア混合ユニットを備える、請求項4記載の研削装置。
【請求項6】
該粗研削室と該仕上げ研削室の少なくとも一方に配置し、該チャックテーブルに保持された該ウェーハの厚みを非接触で測定する非接触厚み測定器を、さらに備え、
該非接触厚み測定器は、
該ウェーハの上方に配置し、下面と該ウェーハの上面との間に水層を形成して該間を水で満たす水層形成部と、
該水層形成部を該チャックテーブルの保持面の径方向に移動させる径方向移動機構を備え、
該水層形成部を該洗浄水ノズルとして利用する、請求項4又は請求項5記載の研削装置。
発明の詳細な説明
【技術分野】
【0001】
本発明は、研削装置に関する。
続きを表示(約 1,300 文字)
【背景技術】
【0002】
粗研削砥石で研削する粗研削機構と、粗研削砥石より砥粒径が小さい仕上げ研削砥石で研削する仕上げ研削機構と、を備える研削装置が知られている(特許文献1参照)。
【先行技術文献】
【特許文献】
【0003】
特開2009-050944号公報
【発明の概要】
【発明が解決しようとする課題】
【0004】
このような研削装置では、ウェーハに対して、まず粗研削機構による粗研削が行われ、その後、仕上げ研削機構による仕上げ研削が行われる。この際、粗研削で生じた研削屑がウェーハに付着したまま仕上げ研削が行われると、仕上げ研削砥石の下面とウェーハの上面との間に研削屑が挟まり、ウェーハに深い傷をつけてしまう虞がある。
【0005】
研削屑がウェーハを傷つけるといった問題は、粗研削機構と仕上げ研削機構とを備える研削装置に限って生じるものではない。単一の研削機構を備える研削装置であっても、研削前のウェーハの上面に研削屑のような粒体が付着していれば、同様に生じ得る。
【0006】
本発明は、上記の事情を鑑みてなされたものであって、ウェーハ上面の不良を抑制する研削装置を提供することを目的とする。
【課題を解決するための手段】
【0007】
本発明の一態様の研削装置は、ウェーハを保持するチャックテーブルと、該ウェーハを研削砥石で研削する研削機構と、該チャックテーブルと該研削砥石とを収容する研削室と、を備える研削装置であり、該研削室内で該チャックテーブルに保持された研削前のウェーハの上面に洗浄水を供給して該上面を洗浄する洗浄水ノズルを備える。
【0008】
本発明の別の態様の研削装置は、ウェーハを保持するチャックテーブルと、該チャックテーブルを3つ以上備え中心を軸に回転させるターンテーブルと、該ウェーハを粗研削砥石で研削する粗研削機構と、該粗研削砥石で粗研削した該ウェーハを仕上げ研削砥石で研削する仕上げ研削機構と、該チャックテーブルと該粗研削砥石とを収容する粗研削室と、該チャックテーブルと該仕上げ研削砥石とを収容する仕上げ研削室と、を備える研削装置であり、該仕上げ研削砥石によって該チャックテーブルに保持された該ウェーハを研削する前に、該ウェーハの上面に洗浄水を供給し、該ウェーハの上面を洗浄する洗浄水ノズルを該粗研削室と該仕上げ研削室の少なくとも一方に備える。
【発明の効果】
【0009】
本発明によれば、ウェーハ上面の不良を抑制する研削装置を提供することができる。
【図面の簡単な説明】
【0010】
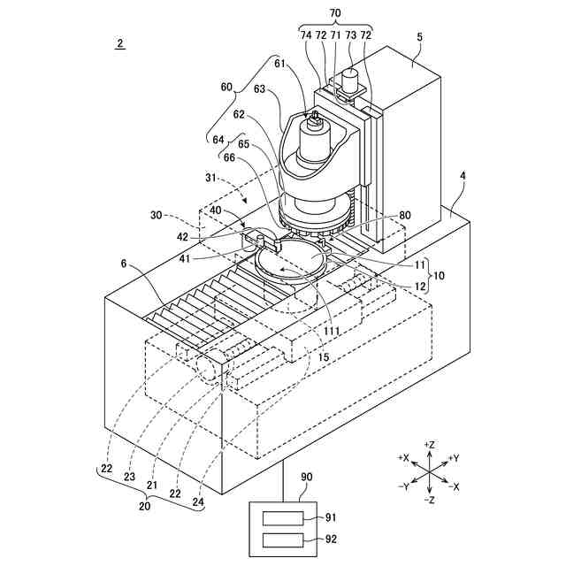
第1の実施形態に係る研削装置の斜視図である。
第1の実施形態に係る研削装置のチャックテーブル付近の拡大図である。
第1の実施形態に係る研削装置が備える非接触厚み測定器の断面模式図である。
変形例に係る非接触厚み測定器の断面模式図である。
第2の実施形態に係る研削装置の斜視図である。
第3の実施形態に係る研削装置の斜視図である。
【発明を実施するための形態】
(【0011】以降は省略されています)
この特許をJ-PlatPat(特許庁公式サイト)で参照する
関連特許
株式会社ディスコ
焼成炉
1か月前
株式会社ディスコ
加工装置
1か月前
株式会社ディスコ
掃除器具
7日前
株式会社ディスコ
加工装置
1か月前
株式会社ディスコ
加工装置
1か月前
株式会社ディスコ
加工方法
1か月前
株式会社ディスコ
加工装置
1か月前
株式会社ディスコ
処理装置
1か月前
株式会社ディスコ
研削装置
1か月前
株式会社ディスコ
切削装置
29日前
株式会社ディスコ
加工装置
23日前
株式会社ディスコ
加工装置
20日前
株式会社ディスコ
加工装置
8日前
株式会社ディスコ
加工装置
7日前
株式会社ディスコ
掃除器具
7日前
株式会社ディスコ
加工装置
28日前
株式会社ディスコ
研削装置
今日
株式会社ディスコ
加工装置
今日
株式会社ディスコ
処理方法
7日前
株式会社ディスコ
切削装置
1日前
株式会社ディスコ
搬送システム
7日前
株式会社ディスコ
搬送システム
今日
株式会社ディスコ
搬送システム
1か月前
株式会社ディスコ
搬送システム
1か月前
株式会社ディスコ
搬送システム
1か月前
株式会社ディスコ
搬送システム
7日前
株式会社ディスコ
搬送システム
7日前
株式会社ディスコ
シート固着装置
22日前
株式会社ディスコ
液状樹脂供給装置
1か月前
株式会社ディスコ
カセットステージ
今日
株式会社ディスコ
抗折強度測定装置
1か月前
株式会社ディスコ
保護部材形成装置
1か月前
株式会社ディスコ
保護部材形成装置
1か月前
株式会社ディスコ
配線引き抜き治具
1か月前
株式会社ディスコ
レーザー加工装置
22日前
株式会社ディスコ
加工室の洗浄方法
1か月前
続きを見る
他の特許を見る