TOP
|
特許
|
意匠
|
商標
特許ウォッチ
Twitter
他の特許を見る
公開番号
2025173014
公報種別
公開特許公報(A)
公開日
2025-11-27
出願番号
2024078317
出願日
2024-05-14
発明の名称
カセットステージ
出願人
株式会社ディスコ
代理人
インフォート弁理士法人
主分類
H01L
21/677 20060101AFI20251119BHJP(基本的電気素子)
要約
【課題】カセットステージに配置するアダプタの脱落を防ぐ。
【解決手段】少なくとも3つのキネマピン(50)を備えるカセットステージ(13)であって、キネマピンに支持される被支持部(63)を有し上面(61)にカセット(55)を載置するアダプタ(60)と、キネマピンの先端に形成する凹部(53)と、凹部に対応しアダプタを貫通する貫通孔(66)と、貫通孔を貫通し凹部に進入してキネマピンにアダプタを固定する固定部(70)と、を備える。
【選択図】図2
特許請求の範囲
【請求項1】
少なくとも3つのキネマピンによってカセットを支持するカセットステージであって、
該キネマピンに支持される被支持部を有し上面にカセットを載置するアダプタと、
該キネマピンの先端に形成する凹部と、
該凹部に対応し該アダプタを貫通する貫通孔と、
該貫通孔を貫通し該凹部に進入し該キネマピンに該アダプタを固定する固定部と、
を備える、カセットステージ。
発明の詳細な説明
【技術分野】
【0001】
本発明は、加工装置や処理装置が備えるカセットステージに関する。
続きを表示(約 1,300 文字)
【背景技術】
【0002】
特許文献1に開示のように、加工装置に備えられ、ウェーハを収容したカセットを載置するカセットステージは、カセットを所定の角度に固定するため、キネマピンを備えている。複数のキネマピンにカセットの被支持部を支持させることによって、カセットステージの所定の位置に所定の方向でカセットを載置させている。
【0003】
また、特許文献2及び特許文献3に開示のように、加工装置においてキネマピンの配置に対応していないカセットをカセットステージに載置させる際には、カセットステージのキネマピンにアダプタを載置して、そのアダプタにカセットを載置している。
【先行技術文献】
【特許文献】
【0004】
特開2010-040612号公報
特開2022-002272号公報
特開2003-297902号公報
【発明の概要】
【発明が解決しようとする課題】
【0005】
アダプタにカセットを載置する場合、アダプタに対してカセットを脱着する際に、カセットアダプタがキネマピンから脱落することがあり、その対策が求められていた。
【0006】
したがって、加工装置や、加工以外の各種処理を行う処理装置においては、カセットステージに配置するアダプタを脱落しないようにする、という解決すべき課題がある。
【課題を解決するための手段】
【0007】
本発明の一態様は、少なくとも3つのキネマピンによってカセットを支持するカセットステージであって、該キネマピンに支持される被支持部を有し上面にカセットを載置するアダプタと、該キネマピンの先端に形成する凹部と、該凹部に対応し該アダプタを貫通する貫通孔と、該貫通孔を貫通し該凹部に進入し該キネマピンに該アダプタを固定する固定部と、を備える。
【発明の効果】
【0008】
以上の態様のカセットステージによれば、キネマピンによりアダプタの被支持部を支持した状態で、固定部がアダプタの貫通孔を貫通してキネマピンの先端の凹部に進入してアダプタを固定し、カセットステージに配置するアダプタの脱落を防ぐことができる。
【図面の簡単な説明】
【0009】
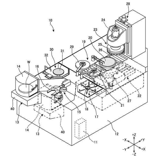
加工装置の斜視図である。
加工装置が備えるカセットステージと、カセットステージに脱着されるアダプタの斜視図である。
アダプタの下面側を示す斜視図である。
図3のA-A線に沿う断面図である。
固定部によってキネマピンにアダプタを固定した状態の断面図である。
図5のB-B線に沿う断面図である。
異なる形態の固定部及びキネマピンを示す斜視図である。
【発明を実施するための形態】
【0010】
図1に示す加工装置10は、被加工物であるウェーハWに対して研削加工を行う研削装置である。加工装置10におけるX軸方向、Y軸方向、Z軸方向は互いに垂直な関係にある。X軸方向とY軸方向は水平方向である。Z軸方向は上下方向であり、+Z方向側が上方、-Z方向側が下方である。
(【0011】以降は省略されています)
この特許をJ-PlatPat(特許庁公式サイト)で参照する
関連特許
株式会社ディスコ
加工装置
9日前
株式会社ディスコ
加工装置
24日前
株式会社ディスコ
加工装置
8日前
株式会社ディスコ
掃除器具
8日前
株式会社ディスコ
掃除器具
8日前
株式会社ディスコ
処理方法
8日前
株式会社ディスコ
加工装置
21日前
株式会社ディスコ
切削装置
2日前
株式会社ディスコ
加工装置
29日前
株式会社ディスコ
加工装置
1日前
株式会社ディスコ
研削装置
1日前
株式会社ディスコ
切削装置
1か月前
株式会社ディスコ
搬送システム
8日前
株式会社ディスコ
搬送システム
8日前
株式会社ディスコ
搬送システム
8日前
株式会社ディスコ
搬送システム
1日前
株式会社ディスコ
シート固着装置
23日前
株式会社ディスコ
配線引き抜き治具
1か月前
株式会社ディスコ
加工室の洗浄方法
1か月前
株式会社ディスコ
カセットステージ
1日前
株式会社ディスコ
レーザー加工装置
23日前
株式会社ディスコ
スピンドルユニット
21日前
株式会社ディスコ
被加工物の加工方法
29日前
株式会社ディスコ
処理装置及び検知方法
1か月前
株式会社ディスコ
キャリア板の除去方法
23日前
株式会社ディスコ
洗浄装置及び洗浄方法
16日前
株式会社ディスコ
シリアル接続システム
21日前
株式会社ディスコ
研削装置および研削方法
1か月前
株式会社ディスコ
加工方法、及び研磨装置
23日前
株式会社ディスコ
試験装置、及び、試験方法
1日前
株式会社ディスコ
走査光学系及び光学処理装置
29日前
株式会社ディスコ
フィルターハウジングホルダー
21日前
株式会社ディスコ
カーフチェック方法及び加工装置
23日前
株式会社ディスコ
ウェーハの加工方法及び加工装置
29日前
株式会社ディスコ
ウェーハ及びウェーハの製造方法
1日前
株式会社ディスコ
ウェーハの加工方法及び切削装置
29日前
続きを見る
他の特許を見る