TOP
|
特許
|
意匠
|
商標
特許ウォッチ
Twitter
他の特許を見る
10個以上の画像は省略されています。
公開番号
2025173012
公報種別
公開特許公報(A)
公開日
2025-11-27
出願番号
2024078315
出願日
2024-05-14
発明の名称
ウェーハ及びウェーハの製造方法
出願人
株式会社ディスコ
代理人
インフォート弁理士法人
主分類
H01L
21/304 20060101AFI20251119BHJP(基本的電気素子)
要約
【課題】センサを変更することなく検出でき、デバイスを形成するエリアを広げられるマークを備えたウェーハを提供する。
【解決手段】ウェーハ(10)の結晶方位を示すマークとして、該ウェーハの厚み方向で貫通する貫通孔(20)を備えるようにした。
【選択図】図5
特許請求の範囲
【請求項1】
ウェーハの結晶方位を示すマークとして、該ウェーハの厚み方向で貫通する貫通孔を備える、ウェーハ。
続きを表示(約 730 文字)
【請求項2】
該ウェーハの外周縁に形成された面取り部に該貫通孔を備える、請求項1記載のウェーハ。
【請求項3】
該ウェーハの外周縁に形成された面取り部よりも内側で該ウェーハの外周部分に該貫通孔を備える、請求項1記載のウェーハ。
【請求項4】
該ウェーハは、外周縁に形成されたリング状の補強部と、該補強部よりも径方向の内側の凹部とを有し、該補強部に該貫通孔を備える、請求項1記載のウェーハ。
【請求項5】
ウェーハの結晶方位を示すマークとして、該ウェーハの外周縁に形成された面取り部に該ウェーハの径方向を深さとする凹部を備える、ウェーハ。
【請求項6】
インゴットをスライスしたスライスウェーハからウェーハを製造するウェーハの製造方法であって、
該スライスウェーハの両面を平坦化する平坦化工程と、
該スライスウェーハの外形を整形し面取り部を形成する外形整形工程と、
該平坦化工程、または該外形整形工程、を経た該スライスウェーハの外周部分に厚み方向で貫通する貫通孔を形成するマーク形成工程と、を含む、ウェーハの製造方法。
【請求項7】
インゴットをスライスしたスライスウェーハからウェーハを製造するウェーハの製造方法であって、
該スライスウェーハの両面を平坦化する平坦化工程と、
該スライスウェーハの外形を整形し面取り部を形成する外形整形工程と、
該平坦化工程、または該外形整形工程、を経た該スライスウェーハの外周部分に径方向を深さとする凹部を該面取り部に形成するマーク形成工程と、
を含む、ウェーハの製造方法。
発明の詳細な説明
【技術分野】
【0001】
本発明は、ウェーハ及びウェーハの製造方法に関する。
続きを表示(約 1,100 文字)
【背景技術】
【0002】
特許文献1、2に開示のように、シリコンウェーハのような結晶体からなるウェーハには、結晶方位を示すマークとして、外周の一部を直線状に形成したオリエンテーションフラットや、外周の一部を切り欠いたノッチなどを形成している。また、特許文献3のように、この種のマークをウェーハの2か所に形成する場合がある。
【0003】
ウェーハにおいて、オリエンテーションフラットやノッチの部分にはデバイスを形成できないため、オリエンテーションフラットやノッチに制約されて、デバイスを形成するエリアを広げられないという課題がある。この課題を解決するために、特許文献4に開示のように、ウェーハの内部(厚み方向の内側)に、結晶方位を示すマークを形成する技術が提案されている。
【先行技術文献】
【特許文献】
【0004】
特開2011-003773号公報
特開2010-221393号公報
特開2002-134374号公報
特開2013-055139号公報
【発明の概要】
【発明が解決しようとする課題】
【0005】
ウェーハの内部にマークを形成した場合、当該ウェーハの加工や処理を行う装置において、従来のオリエンテーションフラットやノッチの検出に利用していたセンサでは、マークを検出することができないため、センサを変更する必要があり、費用や手間がかかっていた。
【0006】
従って、センサを変更することなく検出でき、デバイスを形成するエリアを広げられるマークを備えたウェーハと、そのウェーハの製造方法が求められている。
【課題を解決するための手段】
【0007】
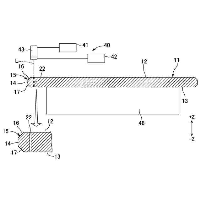
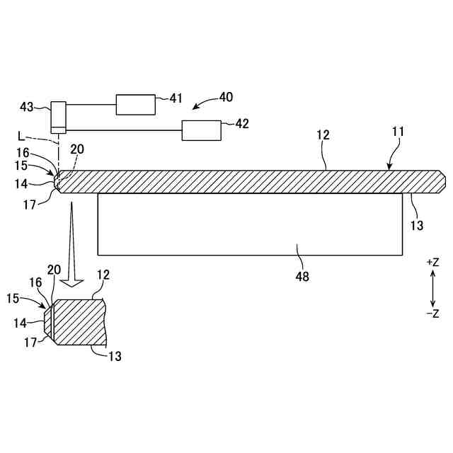
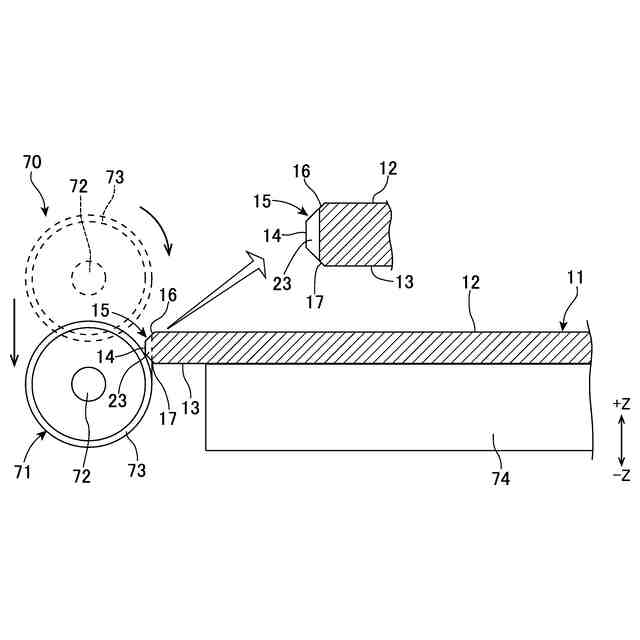
本発明の一態様のウェーハは、ウェーハの結晶方位を示すマークとして、該ウェーハの厚み方向で貫通する貫通孔を備える。
【0008】
一例として、該ウェーハの外周縁に形成された面取り部に該貫通孔を備える。あるいは、該ウェーハの外周縁に形成された面取り部よりも内側で該ウェーハの外周部分に該貫通孔を備える。
【0009】
該ウェーハは、外周縁に形成されたリング状の補強部と、該補強部よりも径方向の内側の凹部とを有し、該補強部に該貫通孔を備えてもよい。
【0010】
本発明の一態様のウェーハは、ウェーハの結晶方位を示すマークとして、該ウェーハの外周縁に形成された面取り部に該ウェーハの径方向を深さとする凹部を備える。
(【0011】以降は省略されています)
この特許をJ-PlatPat(特許庁公式サイト)で参照する
関連特許
株式会社ディスコ
焼成炉
1か月前
株式会社ディスコ
加工装置
1か月前
株式会社ディスコ
処理方法
7日前
株式会社ディスコ
切削装置
29日前
株式会社ディスコ
加工装置
28日前
株式会社ディスコ
加工装置
23日前
株式会社ディスコ
研削装置
1か月前
株式会社ディスコ
処理装置
1か月前
株式会社ディスコ
加工装置
20日前
株式会社ディスコ
加工方法
1か月前
株式会社ディスコ
加工装置
8日前
株式会社ディスコ
加工装置
7日前
株式会社ディスコ
掃除器具
7日前
株式会社ディスコ
掃除器具
7日前
株式会社ディスコ
加工装置
1か月前
株式会社ディスコ
加工装置
1か月前
株式会社ディスコ
切削装置
1日前
株式会社ディスコ
研削装置
今日
株式会社ディスコ
加工装置
今日
株式会社ディスコ
搬送システム
7日前
株式会社ディスコ
搬送システム
7日前
株式会社ディスコ
搬送システム
7日前
株式会社ディスコ
搬送システム
1か月前
株式会社ディスコ
搬送システム
1か月前
株式会社ディスコ
搬送システム
今日
株式会社ディスコ
搬送システム
1か月前
株式会社ディスコ
シート固着装置
22日前
株式会社ディスコ
カセットステージ
今日
株式会社ディスコ
抗折強度測定装置
1か月前
株式会社ディスコ
レーザー加工装置
22日前
株式会社ディスコ
配線引き抜き治具
1か月前
株式会社ディスコ
保護部材形成装置
1か月前
株式会社ディスコ
液状樹脂供給装置
1か月前
株式会社ディスコ
加工室の洗浄方法
1か月前
株式会社ディスコ
ウェーハの分割方法
1か月前
株式会社ディスコ
ウエーハの加工方法
1か月前
続きを見る
他の特許を見る