TOP
|
特許
|
意匠
|
商標
特許ウォッチ
Twitter
他の特許を見る
公開番号
2025173760
公報種別
公開特許公報(A)
公開日
2025-11-28
出願番号
2024079505
出願日
2024-05-15
発明の名称
切削装置
出願人
株式会社ディスコ
代理人
個人
,
個人
,
個人
,
個人
,
個人
,
個人
主分類
B24B
55/06 20060101AFI20251120BHJP(研削;研磨)
要約
【課題】切削ブレードの保護カバーに付着した切削屑を除去する。
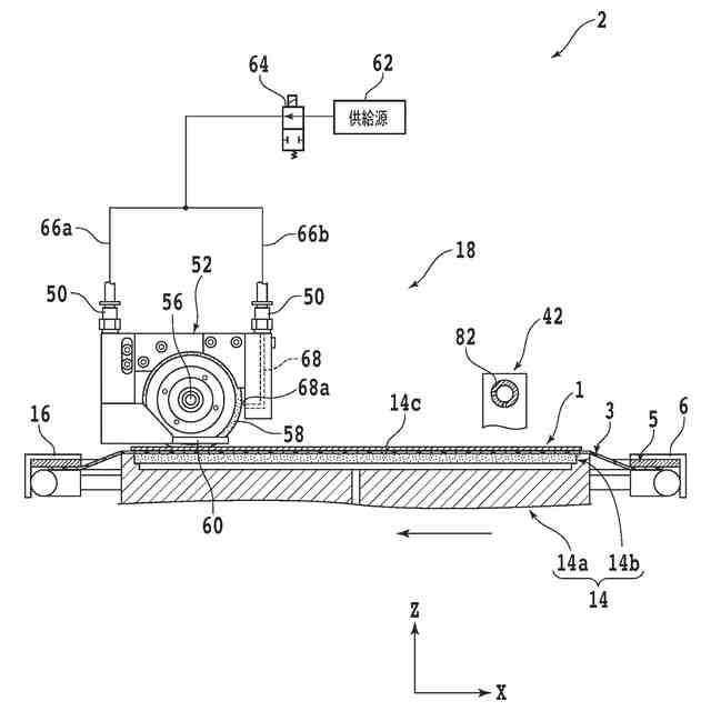
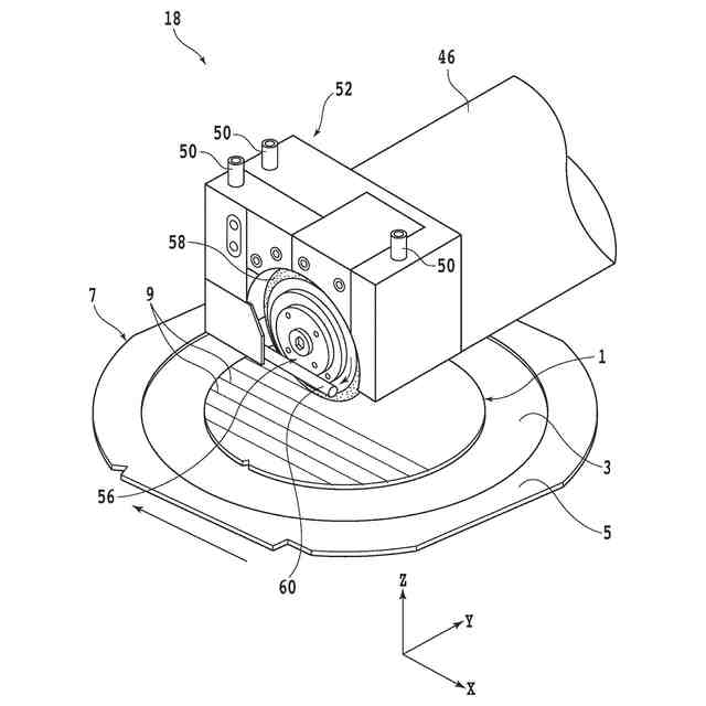
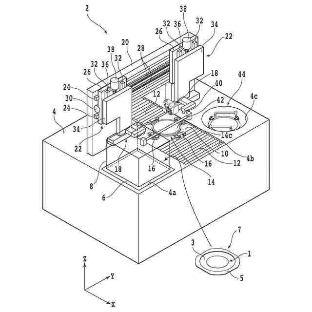
【解決手段】被加工物を保持する保持面を有する保持テーブルと、一端に円環状の切削ブレードが固定され該切削ブレードの回転軸となるスピンドルと、該切削ブレードを覆い保護できる保護カバーと、を有し、該保持テーブルに保持された該被加工物を該切削ブレードで切削できる切削部と、流体を噴射できる噴射部と、該噴射部による該流体の噴射先を該保持テーブル及び該保護カバーで切り替えられる噴射先変更部と、を備える切削装置。好ましくは、該保持テーブル及び該切削部を該保持面に沿った第1方向に相対的に移動させる移動部を更に備え、該噴射部は、該第1方向に交差する第2方向に延在し、該流体を噴射できる棒状の本体を有し、該移動部及び該噴射先変更部の一方または両方によって該流体を該保持面の全体に噴射できる。
【選択図】図6
特許請求の範囲
【請求項1】
被加工物を保持する保持面を有する保持テーブルと、
一端に円環状の切削ブレードが固定され該切削ブレードの回転軸となるスピンドルと、該切削ブレードを覆い保護できる保護カバーと、を有し、該保持テーブルに保持された該被加工物を該切削ブレードで切削できる切削部と、
流体を噴射できる噴射部と、
該噴射部による該流体の噴射先を該保持テーブル及び該保護カバーで切り替えられる噴射先変更部と、を備える、
切削装置。
続きを表示(約 620 文字)
【請求項2】
該保持テーブル及び該切削部を該保持面に沿った第1方向に相対的に移動させる移動部を更に備え、
該噴射部は、
該第1方向に交差する第2方向に延在し、該流体を噴射できる棒状の本体を有し、
該移動部及び該噴射先変更部の一方または両方によって該流体を該保持面の全体に噴射できる、
請求項1に記載の切削装置。
【請求項3】
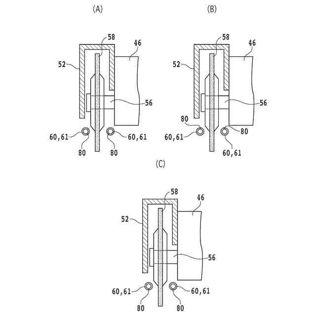
該噴射部は、該保持テーブルに向けて該流体を噴射できる第1噴射口と、該保護カバーに向けて該流体を噴射できる第2噴射口と、を該本体に有し、
該噴射先変更部は、該第1噴射口及び該第2噴射口の一方または両方を遮蔽できる遮蔽体と、該遮蔽体を該第1噴射口及び該第2噴射口に対して移動させる遮蔽体移動部と、により構成される、請求項2に記載の切削装置。
【請求項4】
該噴射部は、該保護カバーで覆われた該切削ブレードを両側方から挟む一対の棒状の本体を有し、
該噴射先変更部は、一対の該本体のそれぞれをそれぞれの伸長方向の周りに回転させることで、該噴射部による該流体の噴射先を該切削ブレードと、該保護カバーと、該保持テーブルと、で切り替えられる、請求項1に記載の切削装置。
【請求項5】
該噴射先変更部は、該流体の供給源から供給される該流体の流れまたは圧力を駆動源とする、請求項1から請求項4のいずれかに記載の切削装置。
発明の詳細な説明
【技術分野】
【0001】
本発明は、半導体ウェーハ等の被加工物を切削ブレードで切削する切削装置に関する。
続きを表示(約 1,500 文字)
【背景技術】
【0002】
デバイスチップの製造工程では、互いに交差する複数の分割予定ライン(ストリート)によって区画された複数の領域にそれぞれ、IC(Integrated Circuit)、LSI(Large Scale Integration)等のデバイスが形成された円盤状のウェーハが用いられる。このウェーハを分割予定ラインに沿って分割することにより、デバイスをそれぞれ備える複数のデバイスチップが得られる。デバイスチップは、携帯電話、パーソナルコンピュータ等の様々な電子機器に搭載される。
【0003】
半導体ウェーハは、例えば、円環状の切削ブレードを備えた切削装置で分割される(特許文献1参照)。切削装置は、半導体ウェーハ等の被加工物を保持する保持テーブル(チャックテーブル)と、保持テーブルで保持された被加工物を切削ブレードで切削する切削部(切削ユニット)と、を備える。
【0004】
切削ブレードを回転させながら被加工物に切り込ませると、被加工物が切削される。このとき、摩擦に起因する切削熱や切削屑、被加工物から分離した端材等が発生する。そこで、切削が実施される間、切削ブレード及び被加工物には純水等で構成される切削水が噴射され、切削水により切削熱及び切削屑等が除去される。切削部には、切削ブレード及び被加工物に切削水を噴射するための噴射ノズルが設けられており、切削水はこの噴射ノズルから噴射される。
【0005】
ただし、被加工物を切削する際に切削ブレードは高速で回転しているため、切削水を供給しつつ切削ブレードで被加工物を切削すると、切削屑や端材を取り込んだ切削水が広範囲に飛散する。そこで、切削水の飛散先に水溜まりを形成しておき、水溜まりに飛散してきた切削屑や端材を流水で押し流す技術が開発されている(特許文献1参照)。
【0006】
ところで、切削ブレードで被加工物をその上端から下端まで確実に切削するために、切削ブレードの下端が被加工物の下端より僅かに低くなるように切削ブレードの切り込み深さを高精度に制御する必要がある。そこで、切削装置では、被加工物を切削ブレードで切削する前に、セットアップ工程が実施される。
【0007】
セットアップ工程では、保持テーブル(チャックテーブル)の枠体に上方から切削ブレードを下降させ、枠体と切削ブレードの接触が検知されたときの切削ブレードの高さを基準高さとして設定する。ここで、保持テーブルと切削ブレードの接触の検知は、両者の間で通電が生じたこと検知することで実施される(特許文献2参照)。
【先行技術文献】
【特許文献】
【0008】
特開2019-192846号公報
特開平11-254259号公報
【発明の概要】
【発明が解決しようとする課題】
【0009】
被加工物を切削する際に生じる切削屑は、その大半が切削水により除去されるが、一部が切削ブレードを囲繞する保護カバー等に付着する。そして、保護カバーに付着した切削屑は、時間が経過すると保護カバーから落下して保持テーブルの上面に付着することがある。
【0010】
保持テーブルの上面に切削屑が付着した状態でセットアップ工程を実施すると、切削ブレードが保持テーブルの上面に接触するよりも前に切削屑に接触した時点で切削ブレード及び保持テーブルの通電が検出される。この場合、本来基準高さとされるべき高さ位置とは異なる高さ位置が基準高さとして設定されてしまい、被加工物の切削時に切削ブレードが想定された通りに被加工物に切り込まなくなる。
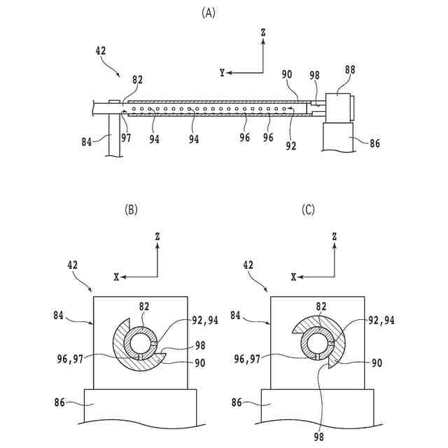
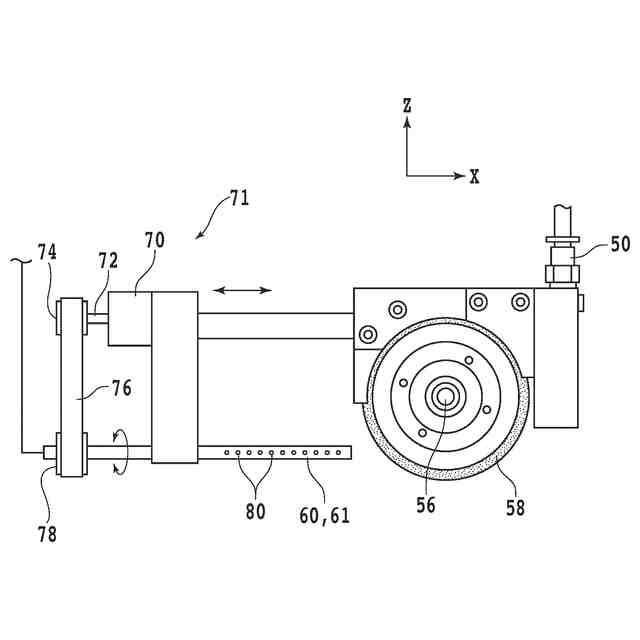
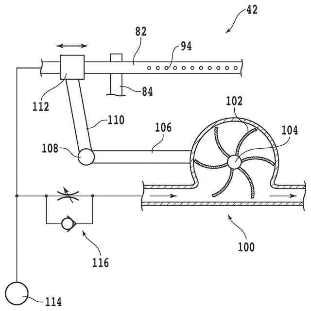
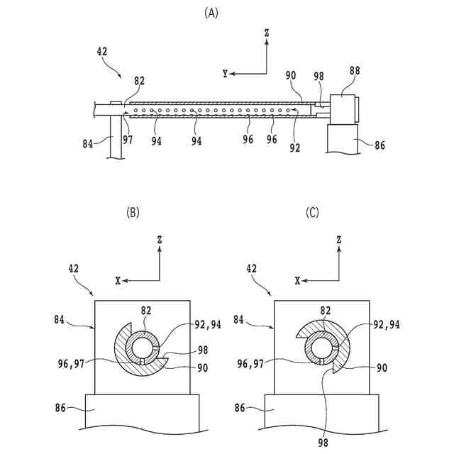
(【0011】以降は省略されています)
この特許をJ-PlatPat(特許庁公式サイト)で参照する
関連特許
株式会社ディスコ
焼成炉
1か月前
株式会社ディスコ
加工方法
1か月前
株式会社ディスコ
加工装置
21日前
株式会社ディスコ
加工装置
9日前
株式会社ディスコ
加工装置
8日前
株式会社ディスコ
掃除器具
8日前
株式会社ディスコ
掃除器具
8日前
株式会社ディスコ
処理方法
8日前
株式会社ディスコ
加工装置
29日前
株式会社ディスコ
切削装置
2日前
株式会社ディスコ
加工装置
24日前
株式会社ディスコ
切削装置
1か月前
株式会社ディスコ
加工装置
1日前
株式会社ディスコ
加工装置
1か月前
株式会社ディスコ
処理装置
1か月前
株式会社ディスコ
研削装置
1か月前
株式会社ディスコ
加工装置
1か月前
株式会社ディスコ
加工装置
1か月前
株式会社ディスコ
処理装置
今日
株式会社ディスコ
切削装置
今日
株式会社ディスコ
研削装置
1日前
株式会社ディスコ
搬送システム
8日前
株式会社ディスコ
搬送システム
1か月前
株式会社ディスコ
搬送システム
1日前
株式会社ディスコ
搬送システム
今日
株式会社ディスコ
搬送システム
8日前
株式会社ディスコ
搬送システム
1か月前
株式会社ディスコ
搬送システム
1か月前
株式会社ディスコ
搬送システム
8日前
株式会社ディスコ
シート固着装置
23日前
株式会社ディスコ
レーザー加工装置
23日前
株式会社ディスコ
配線引き抜き治具
1か月前
株式会社ディスコ
加工室の洗浄方法
1か月前
株式会社ディスコ
保護部材形成装置
1か月前
株式会社ディスコ
液状樹脂供給装置
1か月前
株式会社ディスコ
カセットステージ
1日前
続きを見る
他の特許を見る