TOP
|
特許
|
意匠
|
商標
特許ウォッチ
Twitter
他の特許を見る
公開番号
2025173534
公報種別
公開特許公報(A)
公開日
2025-11-28
出願番号
2024079082
出願日
2024-05-15
発明の名称
リングフレーム、ウェーハの分割方法及び分割装置
出願人
株式会社ディスコ
代理人
インフォート弁理士法人
主分類
H01L
21/301 20060101AFI20251120BHJP(基本的電気素子)
要約
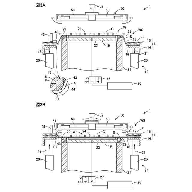
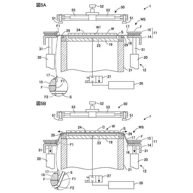
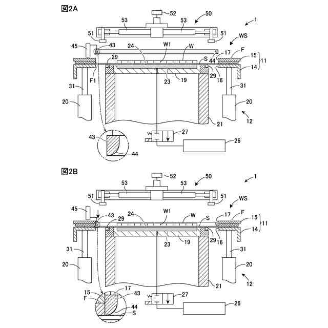
【課題】ウェーハの分割時に拡張されるシートが破断することを防止できるようにすること。
【解決手段】分割装置(1)は、リングフレーム(F)の開口(F1)を塞ぐように貼着したシート(S)を拡張してシートに貼着したウェーハ(W)に形成された改質層(W1)を起点にウェーハを分割する。分割装置は、リングフレームの両面を把持する把持機構(11)と、シートに貼着したウェーハの面に垂直方向にリングフレームとウェーハとを相対的に離隔させることにより、リングフレームの開口部分のシートを拡張させてウェーハを分割する分割機構(12)と、分割機構によってシートを拡張させる際に、リングフレームの内周面内側に配置し断面が円弧の部分をシートに当てる形状のリング部材(43)と、を備えている。
【選択図】図3
特許請求の範囲
【請求項1】
中央に開口を有するリングフレームであって、
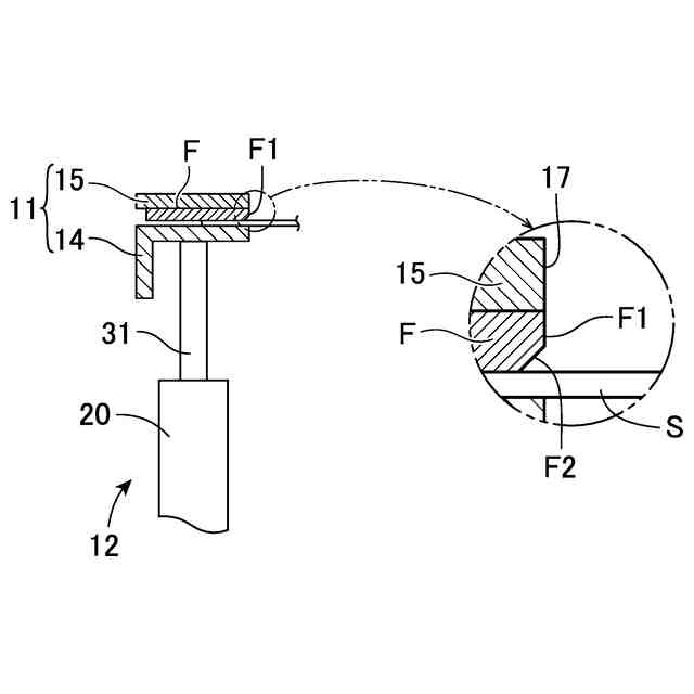
内周面と該内周面に接続する対向した2つの面のうちの少なくとも一方との角に面取り部を形成した、リングフレーム。
続きを表示(約 1,300 文字)
【請求項2】
リングフレームの開口を塞いだシートを拡張して該シートに貼着したウェーハに形成された分割起点を起点に該ウェーハを分割する分割方法であって、
請求項1記載のリングフレームの前記面取り部に接続する面に該シートを貼着して該リングフレームの開口を塞ぎ、該シートに該ウェーハを貼着するシート貼着工程と、
該ウェーハの面に垂直方向に該リングフレームと該ウェーハとを離隔させ、該シートを該面取り部にて谷折りにし該リングフレームの開口部分の該シートを拡張させ、該分割起点を起点に該ウェーハを分割する分割工程と、からなる、ウェーハの分割方法。
【請求項3】
リングフレームの開口を塞ぐように貼着したシートを拡張して該シートに貼着したウェーハに形成された分割起点を起点に該ウェーハを分割する分割方法であって、
該シートが貼着された部分を含み該リングフレームの両面を把持機構によって把持する把持工程と、
該リングフレームの内周面内側に断面が円弧の部分を該シートに当たるような形状のリング部材を配置するリング部材配置工程と、
該ウェーハの面に垂直方向に該リングフレームと該ウェーハとを離隔させ、該リングフレームの開口部分の該シートを拡張させ、該分割起点を起点に該ウェーハを分割する分割工程と、からなる、ウェーハの分割方法。
【請求項4】
リングフレームの開口を塞ぐように貼着したシートを拡張して該シートに貼着したウェーハに形成された分割起点を起点に該ウェーハを分割する分割装置であって、
該シートが貼着された部分を含み該リングフレームの両面を把持する把持機構と、
該シートに貼着した該ウェーハの面に垂直方向に該リングフレームと該ウェーハとを相対的に離隔させることにより該リングフレームの開口部分の該シートを拡張させ該ウェーハを分割する分割機構と、
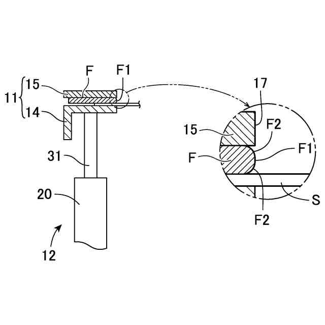
該分割機構によって該シートを拡張させる際に該リングフレームの内周面内側に配置し断面が円弧の部分を該シートに当てる形状のリング部材と、を備える、分割装置。
【請求項5】
リングフレームの開口を塞ぐように貼着したシートを拡張して該シートに貼着したウェーハに形成された分割起点を起点に該ウェーハを分割する分割装置であって、
該シートが貼着された部分を含み該リングフレームの両面を把持する把持機構と、
該シートに貼着した該ウェーハの面に垂直方向に該リングフレームと該ウェーハとを相対的に離隔させることにより該リングフレームの開口部分の該シートを拡張させ該ウェーハを分割する分割機構と、を備え、
該把持機構は、該リングフレームに貼着した該シートを下にして載置する載置テーブルと、該載置テーブルに載置した該リングフレームを上方から挟むカバープレートと、を備え、
該カバープレートは、該リングフレームの内周面内側に進入し該シートに下端を接触させ、先端の断面が円弧の部分を該シートに当てる形状の円筒部を備える、分割装置。
発明の詳細な説明
【技術分野】
【0001】
本発明は、リングフレーム、ウェーハの分割方法及び分割装置に関する。
続きを表示(約 1,700 文字)
【背景技術】
【0002】
特許文献1は、ウェーハに貼着したテープをエキスパンドしてウェーハを分割する方法を開示している。かかる分割方法では、チップが小さくなったことによってテープのエキスパンド量を大きくする必要がある。特許文献1では、テープをエキスパンドした後、該テープをリングフレームに貼着して支持させるステップを行っている。かかるステップを行う場合には、テープの貼り直しが必要となって加工時間が長くなる、という問題がある。
【0003】
このようなテープの貼り直しが不要な方法として、特許文献2に開示された方法が知られている。特許文献2は、リングフレームとウェーハとにテープを貼着した後、リングフレームの開口部分のテープをエキスパンドしてウェーハを分割している。
【先行技術文献】
【特許文献】
【0004】
特開2014-063793号公報
特開2024-036560号公報
【発明の概要】
【発明が解決しようとする課題】
【0005】
しかしながら、特許文献2では、テープのエキスパンド量を大きくすると、リングフレームや拡張規制リングによってテープに局所的に強いストレスが加わり、エキスパンドによってテープが破断する、という問題がある。
【0006】
本発明はかかる点に鑑みてなされたものであり、ウェーハの分割時に拡張されるシートが破断することを防止することができるリングフレーム、ウェーハの分割方法及び分割装置を提供することを目的の一つとする。
【課題を解決するための手段】
【0007】
本発明の一態様のリングフレームは、中央に開口を有するリングフレームであって、内周面と該内周面に接続する対向した2つの面のうちの少なくとも一方との角に面取り部を形成している。
【0008】
本発明の一態様のウェーハの分割方法は、リングフレームの開口を塞いだシートを拡張して該シートに貼着したウェーハに形成された分割起点を起点に該ウェーハを分割する分割方法であって、上記リングフレームの前記面取り部に接続する面に該シートを貼着して該リングフレームの開口を塞ぎ、該シートに該ウェーハを貼着するシート貼着工程と、該ウェーハの面に垂直方向に該リングフレームと該ウェーハとを離隔させ、該シートを該面取り部にて谷折りにし該リングフレームの開口部分の該シートを拡張させ、該分割起点を起点に該ウェーハを分割する分割工程と、からなる。
【0009】
本発明の一態様のウェーハの分割方法は、リングフレームの開口を塞ぐように貼着したシートを拡張して該シートに貼着した該ウェーハに形成された分割起点を起点にウェーハを分割する分割方法であって、該シートが貼着された部分を含み該リングフレームの両面を把持機構によって把持する把持工程と、該リングフレームの内周面内側に断面が円弧の部分を該シートに当たるような形状のリング部材を配置するリング部材配置工程と、該ウェーハの面に垂直方向に該リングフレームと該ウェーハとを離隔させ、該リングフレームの開口部分の該シートを拡張させ、該分割起点を起点に該ウェーハを分割する分割工程と、からなる。
【0010】
本発明の一態様の分割装置は、リングフレームの開口を塞ぐように貼着したシートを拡張して該シートに貼着した該ウェーハに形成された分割起点を起点にウェーハを分割する分割装置であって、該シートが貼着された部分を含み該リングフレームの両面を把持する把持機構と、該シートに貼着した該ウェーハの面に垂直方向に該リングフレームと該ウェーハとを相対的に離隔させることにより該リングフレームの開口部分の該シートを拡張させ該ウェーハを分割する分割機構と、該分割機構によって該シートを拡張させる際に該リングフレームの内周面内側に配置し断面が円弧の部分を該シートに当てる形状のリング部材と、を備える。
(【0011】以降は省略されています)
この特許をJ-PlatPat(特許庁公式サイト)で参照する
関連特許
株式会社ディスコ
処理装置
3日前
株式会社ディスコ
研削装置
4日前
株式会社ディスコ
加工装置
24日前
株式会社ディスコ
加工装置
12日前
株式会社ディスコ
加工装置
11日前
株式会社ディスコ
掃除器具
11日前
株式会社ディスコ
掃除器具
11日前
株式会社ディスコ
処理方法
11日前
株式会社ディスコ
切削装置
5日前
株式会社ディスコ
加工装置
4日前
株式会社ディスコ
加工装置
27日前
株式会社ディスコ
加工装置
1か月前
株式会社ディスコ
切削装置
3日前
株式会社ディスコ
切削装置
1か月前
株式会社ディスコ
搬送システム
11日前
株式会社ディスコ
搬送システム
11日前
株式会社ディスコ
搬送システム
3日前
株式会社ディスコ
搬送システム
11日前
株式会社ディスコ
搬送システム
4日前
株式会社ディスコ
シート固着装置
26日前
株式会社ディスコ
レーザー加工装置
26日前
株式会社ディスコ
カセットステージ
4日前
株式会社ディスコ
加工室の洗浄方法
1か月前
株式会社ディスコ
配線引き抜き治具
1か月前
株式会社ディスコ
被加工物の加工方法
1か月前
株式会社ディスコ
スピンドルユニット
24日前
株式会社ディスコ
キャリア板の除去方法
26日前
株式会社ディスコ
シリアル接続システム
24日前
株式会社ディスコ
処理装置及び検知方法
1か月前
株式会社ディスコ
分割装置及び分割方法
3日前
株式会社ディスコ
洗浄装置及び洗浄方法
19日前
株式会社ディスコ
研削装置および研削方法
1か月前
株式会社ディスコ
加工方法、及び研磨装置
26日前
株式会社ディスコ
支持ウェーハの再使用方法
3日前
株式会社ディスコ
試験装置、及び、試験方法
4日前
株式会社ディスコ
基板の製造方法及び処理装置
3日前
続きを見る
他の特許を見る