TOP
|
特許
|
意匠
|
商標
特許ウォッチ
Twitter
他の特許を見る
10個以上の画像は省略されています。
公開番号
2025176950
公報種別
公開特許公報(A)
公開日
2025-12-05
出願番号
2024083373
出願日
2024-05-22
発明の名称
洗浄方法
出願人
株式会社ディスコ
代理人
個人
,
個人
,
個人
,
個人
,
個人
,
個人
主分類
B24B
55/06 20060101AFI20251128BHJP(研削;研磨)
要約
【課題】厚さ測定器を研削装置に取り付けた状態のままで、厚さ測定器を洗浄する。
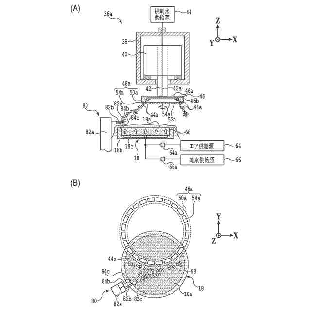
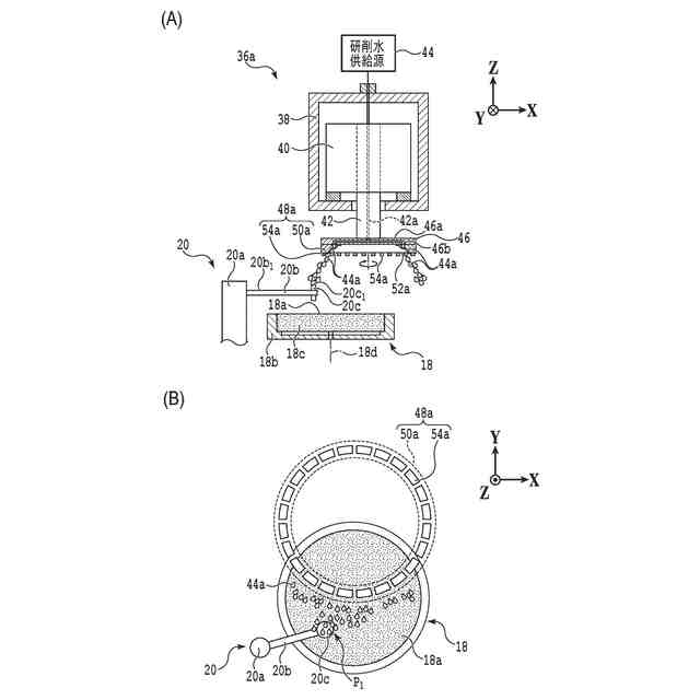
【解決手段】被加工物を保持面で保持するチャックテーブルと、保持面で保持された被加工物の厚さを測定する厚さ測定器と、を有する研削装置において厚さ測定器を洗浄する洗浄方法であって、円環状のホイール基台と、ホイール基台の一面に環状に配置された砥石部と、を有し、スピンドルの下端部に装着された研削ホイールから、ホイール基台の内部を通過して砥石部に供給される液体を放出する液体放出工程と、アームと、アームの先端部に固定されたセンサヘッドと、を含む厚さ測定器におけるアーム及びセンサヘッドの各上部に液体を接触させることにより厚さ測定器を洗浄する洗浄工程と、を備える洗浄方法を提供する。
【選択図】図4
特許請求の範囲
【請求項1】
被加工物を保持面で保持するチャックテーブルと、該保持面で保持された該被加工物の厚さを測定する厚さ測定器と、を有する研削装置において該厚さ測定器を洗浄する洗浄方法であって、
円環状のホイール基台と、該ホイール基台の一面に環状に配置された砥石部と、を有し、スピンドルの下端部に装着された研削ホイールから、該ホイール基台の内部を通過して該砥石部に供給される液体を放出する液体放出工程と、
アームと、該アームの先端部に固定されたセンサヘッドと、を含む該厚さ測定器における該アーム及び該センサヘッドの各上部に該液体を接触させることにより該厚さ測定器を洗浄する洗浄工程と、
を備えることを特徴とする洗浄方法。
続きを表示(約 340 文字)
【請求項2】
該洗浄工程では、該被加工物が保持されていない該保持面から外部に流体を噴出させながら該厚さ測定器を洗浄することを特徴とする請求項1に記載の洗浄方法。
【請求項3】
該洗浄工程では、該センサヘッドが鉛直方向において該保持面と重ならない退避位置に該センサヘッドを配置した状態で、該厚さ測定器を洗浄することを特徴とする請求項1又は2に記載の洗浄方法。
【請求項4】
該洗浄工程では、該研削ホイールから供給される該液体で該アーム及び該センサヘッドの各上部を洗浄すると共に、該センサヘッドを水平方向に沿って移動させることにより該保持面から噴出される流体で該センサヘッドの下部を洗浄することを特徴とする請求項1又は2に記載の洗浄方法。
発明の詳細な説明
【技術分野】
【0001】
本発明は、被加工物を保持面で保持するチャックテーブルと、保持面で保持された被加工物の厚さを測定する厚さ測定器と、を有する研削装置において厚さ測定器を洗浄する洗浄方法に関する。
続きを表示(約 1,200 文字)
【背景技術】
【0002】
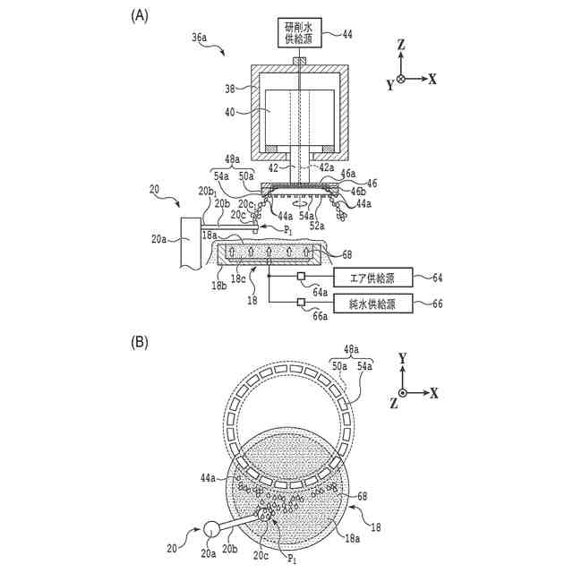
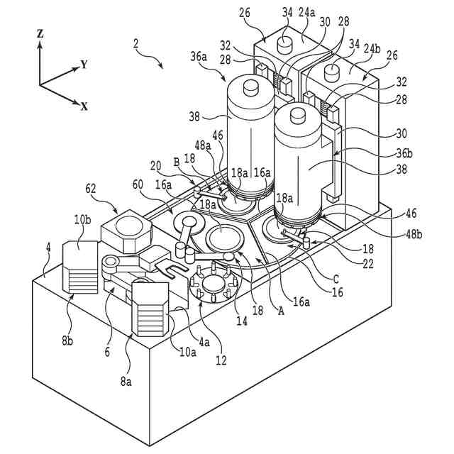
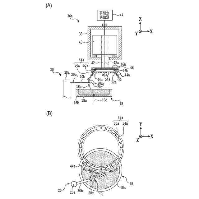
半導体デバイスチップの製造工程では、半導体デバイスチップを薄化するために、半導体ウェーハの表面に複数のデバイスを形成した後、この半導体ウェーハをデバイス単位に分割する前に、半導体ウェーハの裏面を研削装置で研削して半導体ウェーハを薄化することが行われる。
【0003】
研削装置には、半導体ウェーハを研削する研削ユニットに加えて、半導体ウェーハの厚さを測定するための厚さ測定器が搭載されており、厚さ測定器で半導体ウェーハの厚さを測定しながら、半導体ウェーハが目的の厚さとなるまで研削ユニットで半導体ウェーハを研削する。
【0004】
厚さ測定器としては、半導体ウェーハを透過する波長帯域の測定光をセンサヘッドから投光し、測定光に対する半導体ウェーハの表裏面からの反射光をセンサヘッドで受光し、これらの反射光の干渉を利用して、光学的手法により半導体ウェーハに接触することなく半導体ウェーハの厚さを測定する非接触式の厚さ測定器が知られている(例えば、特許文献1参照)。
【0005】
また、厚さ測定器としては、半導体ウェーハに接触させる第1触針と、半導体ウェーハを吸引保持するチャックテーブルの保持面に接触する第2触針と、を利用して半導体ウェーハの厚さを測定する接触式の厚さ測定器も知られている。
【0006】
ところで、研削ユニットは、スピンドルを有し、スピンドルの下端部には、円環状の研削ホイールが装着されている。研削ホイールは、円環状のホイール基台と、ホイール基台の下面においてホイール基台の周方向に沿って略等間隔に配置された複数の研削砥石と、を有する。
【0007】
研削装置で半導体ウェーハを研削する際には、研削砥石と半導体ウェーハとの接触領域に、純水等の研削水を供給しながら、半導体ウェーハを研削する。半導体ウェーハを研削すると、研削屑が混合されたミスト状の研削水が周囲に飛散する。
【0008】
研削屑を含むミスト状の研削水は、厚さ測定器に付着した後、厚さ測定器からチャックテーブルの保持面に落下することがある。落下した研削屑が保持面に付着すると、保持面と半導体ウェーハとの間に研削屑が挟まった状態で半導体ウェーハを研削することによる半導体ウェーハの割れ、保持面での半導体ウェーハの吸着不良等につながる可能性がある。
【0009】
勿論、厚さ測定器を洗浄すれば研削屑を除去できるが、厚さ測定器は、研削室を規定する加工室カバーの内側に配置されており、この加工室カバーは、研削装置の筐体内に配置されている。
【0010】
それゆえ、厚さ測定器を洗浄するためには、研削装置の動作を一旦停止し、研削室内に配置された厚さ測定器を研削装置から取り出して洗浄し、その後、元の位置に戻すという一連の作業が必要となる。
(【0011】以降は省略されています)
この特許をJ-PlatPat(特許庁公式サイト)で参照する
関連特許
株式会社ディスコ
焼成炉
1か月前
株式会社ディスコ
加工装置
16日前
株式会社ディスコ
加工方法
2日前
株式会社ディスコ
処理方法
15日前
株式会社ディスコ
切削装置
9日前
株式会社ディスコ
掃除器具
15日前
株式会社ディスコ
掃除器具
15日前
株式会社ディスコ
加工装置
8日前
株式会社ディスコ
研削装置
8日前
株式会社ディスコ
加工装置
15日前
株式会社ディスコ
加工装置
28日前
株式会社ディスコ
切削装置
7日前
株式会社ディスコ
加工装置
1か月前
株式会社ディスコ
加工装置
1か月前
株式会社ディスコ
切削装置
1か月前
株式会社ディスコ
処理装置
7日前
株式会社ディスコ
加工方法
今日
株式会社ディスコ
処理装置
今日
株式会社ディスコ
加工装置
1日前
株式会社ディスコ
処理装置
1か月前
株式会社ディスコ
研削装置
1か月前
株式会社ディスコ
加工方法
今日
株式会社ディスコ
洗浄方法
今日
株式会社ディスコ
結束バンド
今日
株式会社ディスコ
搬送システム
1か月前
株式会社ディスコ
搬送システム
15日前
株式会社ディスコ
搬送システム
8日前
株式会社ディスコ
搬送システム
15日前
株式会社ディスコ
搬送システム
7日前
株式会社ディスコ
搬送システム
15日前
株式会社ディスコ
シート固着装置
1か月前
株式会社ディスコ
レーザー加工装置
1か月前
株式会社ディスコ
抗折強度測定装置
1か月前
株式会社ディスコ
カセットステージ
8日前
株式会社ディスコ
加工室の洗浄方法
1か月前
株式会社ディスコ
配線引き抜き治具
1か月前
続きを見る
他の特許を見る