TOP
|
特許
|
意匠
|
商標
特許ウォッチ
Twitter
他の特許を見る
10個以上の画像は省略されています。
公開番号
2025176973
公報種別
公開特許公報(A)
公開日
2025-12-05
出願番号
2024083410
出願日
2024-05-22
発明の名称
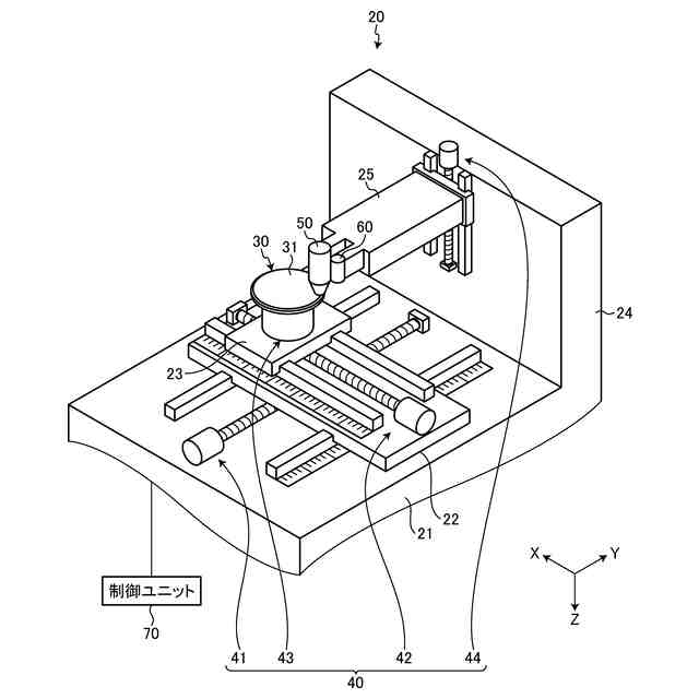
加工方法
出願人
株式会社ディスコ
代理人
弁理士法人酒井国際特許事務所
主分類
H01L
21/304 20060101AFI20251128BHJP(基本的電気素子)
要約
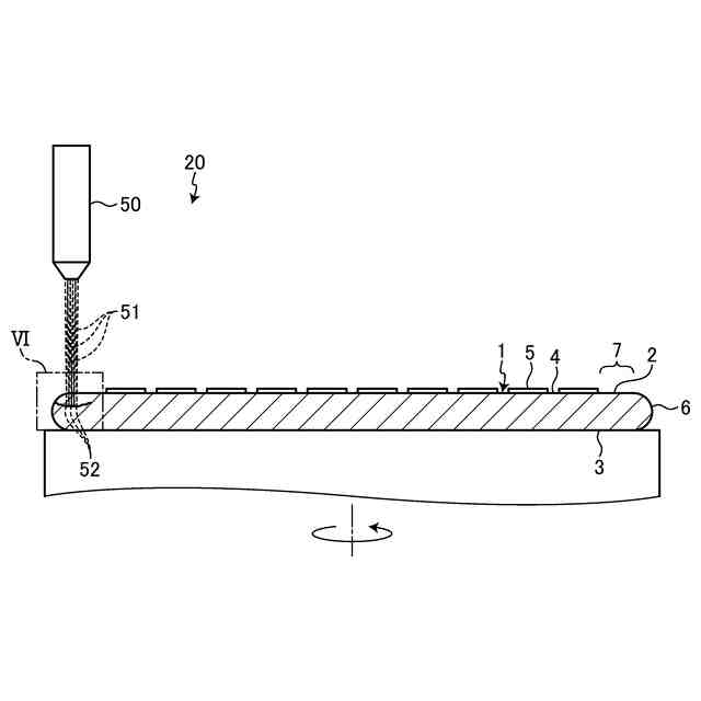
【課題】研削前に外周部を除去してもウェーハの直径が縮小することを抑制することができる加工方法を提供すること。
【解決手段】加工方法は、表面と表面の背面の裏面とを有し外周に面取り部が形成されたウェーハの加工方法であって、ウェーハの外周部にレーザビームを照射してウェーハの内部に環状の改質領域を形成する改質領域形成ステップ101と、改質領域形成ステップ101を実施した後、改質領域を起点にウェーハの外周の一部をウェーハから除去した除去部を形成する除去ステップ102と、を備え、改質領域は、除去ステップ102で一部が除去された後のウェーハの最大直径と除去ステップ102を実施する前のウェーハの最大直径とが変わらない位置に形成される。
【選択図】図3
特許請求の範囲
【請求項1】
第1面と該第1面の背面の第2面とを有し外周に面取り部が形成されたウェーハの加工方法であって、
該ウェーハの外周部にレーザビームを照射して該ウェーハの内部に環状の改質領域を形成する改質領域形成ステップと、
該改質領域形成ステップを実施した後、該改質領域を起点に該ウェーハの外周の一部を該ウェーハから除去した除去部を形成する除去ステップと、を備え、
該改質領域は、該除去ステップで該一部が除去された後の該ウェーハの最大直径と該除去ステップを実施する前の該ウェーハの最大直径とが変わらない位置に形成される、加工方法。
続きを表示(約 600 文字)
【請求項2】
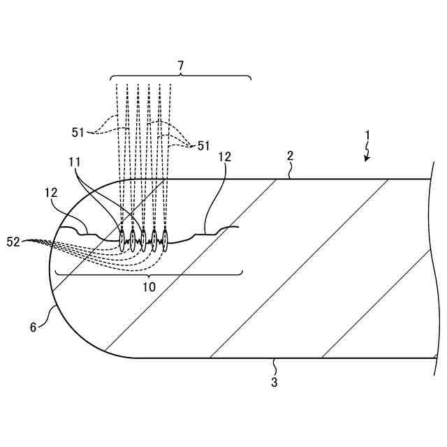
該改質領域形成ステップでは、該ウェーハの外周縁から中心に向かう所定幅の環状の改質領域からなる環状床を該ウェーハ内部に形成するとともに該第1面側から該第2面側に向かった所定深さの環状の改質領域からなる環状壁を該ウェーハ内部に形成する、請求項1に記載の加工方法。
【請求項3】
該改質領域形成ステップでは、該ウェーハの該第1面側からレーザビームを照射し、該環状床を形成した後、該環状壁を形成する、請求項2に記載の加工方法。
【請求項4】
該改質領域形成ステップでは、該ウェーハの該第2面側からレーザビームを照射し、該環状壁を形成した後、該環状床を形成する、請求項2に記載の加工方法。
【請求項5】
該改質領域形成ステップでは、ウェーハの外周縁から中心側に向かって順に複数の該環状床を形成する、請求項2に記載の加工方法。
【請求項6】
該除去ステップを実施した後、第2ウェーハに該ウェーハの該第1面側を対面させて該第2ウェーハに該ウェーハを積層した積層ウェーハを形成する積層ウェーハ形成ステップを備えた、請求項1または請求項2に記載の加工方法。
【請求項7】
該積層ウェーハ形成ステップを実施した後、該積層ウェーハの該第2面を研削して該除去部に至る厚みまで研削する研削ステップを備えた、請求項6に記載の加工方法。
発明の詳細な説明
【技術分野】
【0001】
本発明は、第1面と第2面とを有し外周に面取り部が形成されたウェーハの加工方法に関する。
続きを表示(約 1,100 文字)
【背景技術】
【0002】
ウェーハの裏面を研削して薄化した際に、ウェーハ外周の面取り部が庇状となる所謂シャープエッジが形成されてシャープエッジを起点にウェーハが破損するおそれを防止するために、研削前に面取り部を除去している。
【0003】
そこで、レーザビームをウェーハに照射してウェーハを内周部と外周部とに分割し、外周部を除去してからウェーハを研削する方法が提案されている(例えば、特許文献1参照)。
【先行技術文献】
【特許文献】
【0004】
特開2006-108532号公報
【発明の概要】
【発明が解決しようとする課題】
【0005】
しかし、外周部を除去されたウェーハは、直径が縮径する。
【0006】
ところで、ウェーハを吸引保持する一般的なチャックテーブルは、例えば、直径が6インチ、8インチ、又は300mm等のウェーハを保持するために、ウェーハの直径と同径の吸引保持面を有する。
【0007】
ウェーハの直径が小さく変化すると、例えば後の工程においてチャックテーブルでウェーハを吸引保持しようとしても、負圧がリークしてしまい吸引保持できない。
【0008】
また、外周部を除去した後にウェーハを他のウェーハと貼り合わせて貼り合わせウェーハを形成する際にも問題が生じる。一般的な貼り合わせ装置ではウェーハの外周位置を基準に貼り合わせ位置を調整するため、ウェーハの直径が縮径していると、貼り合わせ位置がずれてしまう。
【0009】
本発明の目的は、研削前に外周部を除去してもウェーハの直径が縮小することを抑制することができる加工方法を提供することである。
【課題を解決するための手段】
【0010】
上述した課題を解決し、目的を達成するために、本発明の加工方法は、第1面と該第1面の背面の第2面とを有し外周に面取り部が形成されたウェーハの加工方法であって、該ウェーハの外周部にレーザビームを照射して該ウェーハの内部に環状の改質領域を形成する改質領域形成ステップと、該改質領域形成ステップを実施した後、該改質領域を起点に該ウェーハの外周の一部を該ウェーハから除去した除去部を形成する除去ステップと、を備え、該改質領域は、該除去ステップで該一部が除去された後の該ウェーハの最大直径と該除去ステップを実施する前の該ウェーハの最大直径とが変わらない位置に形成されることを特徴とする。
(【0011】以降は省略されています)
この特許をJ-PlatPat(特許庁公式サイト)で参照する
関連特許
株式会社ディスコ
焼成炉
1か月前
株式会社ディスコ
研削装置
2か月前
株式会社ディスコ
処理方法
15日前
株式会社ディスコ
加工装置
1か月前
株式会社ディスコ
加工方法
1か月前
株式会社ディスコ
加工装置
8日前
株式会社ディスコ
処理装置
1か月前
株式会社ディスコ
切削装置
9日前
株式会社ディスコ
研削装置
1か月前
株式会社ディスコ
掃除器具
15日前
株式会社ディスコ
加工方法
1か月前
株式会社ディスコ
掃除器具
15日前
株式会社ディスコ
加工装置
15日前
株式会社ディスコ
加工装置
16日前
株式会社ディスコ
加工装置
1か月前
株式会社ディスコ
切削装置
1か月前
株式会社ディスコ
加工装置
28日前
株式会社ディスコ
加工装置
1か月前
株式会社ディスコ
加工装置
1か月前
株式会社ディスコ
切削装置
7日前
株式会社ディスコ
研削装置
8日前
株式会社ディスコ
加工方法
2日前
株式会社ディスコ
加工装置
1か月前
株式会社ディスコ
処理装置
7日前
株式会社ディスコ
処理装置
今日
株式会社ディスコ
加工装置
1か月前
株式会社ディスコ
切削装置
1か月前
株式会社ディスコ
加工装置
1か月前
株式会社ディスコ
加工装置
1日前
株式会社ディスコ
加工方法
今日
株式会社ディスコ
加工装置
1か月前
株式会社ディスコ
洗浄方法
今日
株式会社ディスコ
加工方法
今日
株式会社ディスコ
結束バンド
今日
株式会社ディスコ
搬送システム
15日前
株式会社ディスコ
搬送システム
15日前
続きを見る
他の特許を見る