TOP
|
特許
|
意匠
|
商標
特許ウォッチ
Twitter
他の特許を見る
公開番号
2025176755
公報種別
公開特許公報(A)
公開日
2025-12-05
出願番号
2024083033
出願日
2024-05-22
発明の名称
結束バンド
出願人
株式会社ディスコ
代理人
弁理士法人愛宕綜合特許事務所
主分類
B65D
63/10 20060101AFI20251128BHJP(運搬;包装;貯蔵;薄板状または線条材料の取扱い)
要約
【課題】結束バンドにおいて、一部のバンド本体しか使用されず、その他の部分は、切断されて廃棄され無駄になることから、不経済であるという問題を解決できる結束バンドを提供する。
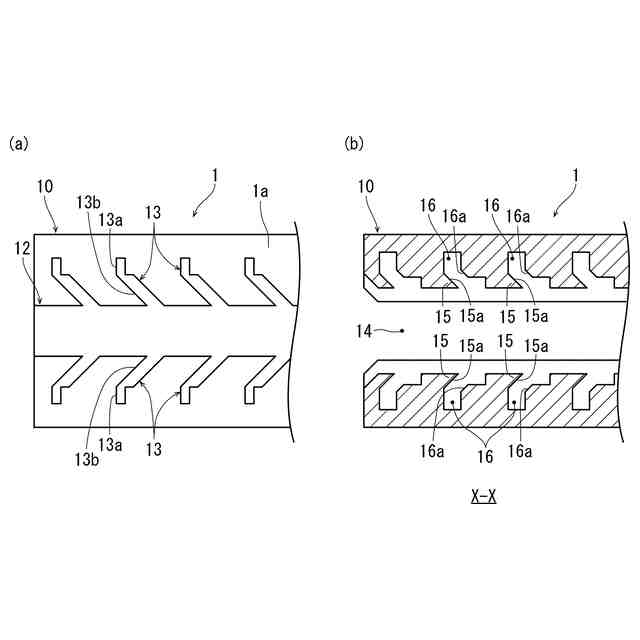
【解決手段】バンド本体10と、バンド本体10の長手方向に沿う一方の面1aに形成された凸部12と、バンド本体10の長手方向に沿う他方の面1bに形成され凸部12と係合する凹部14と、凸部12の外側面に形成された複数の逆行防止片13と、凹部14の内側面に形成され逆行防止片13と係合してバンド本体10の逆行を防止する複数の返し片15と、を含み構成される。
【選択図】図1
特許請求の範囲
【請求項1】
結束バンドであって、
バンド本体と、
該バンド本体の長手方向に沿う一方の面に形成された凸部と、
該バンド本体の長手方向に沿う他方の面に形成され該凸部と係合する凹部と、
該凸部の外側面に形成された複数の逆行防止片と、
該凹部の内側面に形成され該逆行防止片と係合して該バンド本体の逆行を防止する複数の返し片と、
を含み構成された結束バンド。
続きを表示(約 98 文字)
【請求項2】
必要な長さに切断可能に構成された請求項1に記載の結束バンド。
【請求項3】
該凸部から該凹部を離間させて結束を解除できる請求項1に記載の結束バンド。
発明の詳細な説明
【技術分野】
【0001】
本発明は、結束バンドに関する。
続きを表示(約 1,600 文字)
【背景技術】
【0002】
加工装置に配設される電線、チューブ、ケーブル等の細長く屈曲する複数の部材は、結束バンドによって結束される。
【0003】
従来において一般的に知られている結束バンド30を図6に示す。図示の結束バンド30は、一方の面31aに、結束バンド30の長手方向に直交する方向に細かい凹凸32が形成されたバンド本体31と、該バンド本体31の端に形成された固定部33とから構成されている。該固定部33の内部33aには、一方向にしか動かない図示を省略する係合爪が配設されており、ケーブル等の結束対象物を結束する場合は、該バンド本体31を、該結束対象物に巻き掛けて、該バンド本体31の先端31cを固定部33の内部33aに挿入し、該先端31cを矢印R0で示す方向に引っ張ることで結束対象物を締め付け、バンド本体31の一方の面31aに形成された該凹凸32が該係合爪に引っ掛かることで、バンド本体31が緩まない構造になっている(例えば、特許文献1を参照)。
【先行技術文献】
【特許文献】
【0004】
特開2022-086503号公報
【発明の概要】
【発明が解決しようとする課題】
【0005】
上記した従来の結束バンドにおいては、結束対象物がどの程度の太さになるのかが不明であることから、バンド本体31は、比較的長めに設定されている。そして、固定部33は、1本の結束バンドに対して1つ設定されるのみであるから、結束に使用された結束バンド30の該固定部33から外方に伸びて余った先端31c側のバンド本体31は不要になり、その後の作業に邪魔になることを回避すべく、該固定部33から外方にはみ出たバンド本体31は切断されて、廃棄される。
【0006】
上記したように、従来技術における結束バンド30は、バンド本体31が長めに設定されているにも関わらず、実際には、固定部33近傍の一部のバンド本体31しか使用されず、その他の部分は廃棄されて無駄になることから不経済であるという問題がある。
【0007】
本発明は、上記事実に鑑みなされたものであり、その主たる技術課題は、従来の結束バンドでは、バンド本体の一部しか使用されず、その他の部分は、切断されて廃棄され無駄になることから、不経済であるという問題を解決できる結束バンドを提供することにある。
【課題を解決するための手段】
【0008】
上記主たる技術課題を解決するため、本発明によれば、結束バンドであって、バンド本体と、該バンド本体の長手方向に沿う一方の面に形成された凸部と、該バンド本体の長手方向に沿う他方の面に形成され該凸部と係合する凹部と、該凸部の外側面に形成された複数の逆行防止片と、該凹部の内側面に形成され該逆行防止片と係合して該バンド本体の逆行を防止する複数の返し片と、を含み構成された結束バンドが提供される。
【0009】
本発明の結束バンドは、必要な長さに切断可能に構成されることが好ましい。また、該凸部から該凹部を離間させて結束を解除できることが好ましい。
【発明の効果】
【0010】
本発明の結束バンドは、バンド本体と、該バンド本体の長手方向に沿う一方の面に形成された凸部と、該バンド本体の長手方向に沿う他方の面に形成され該凸部と係合する凹部と、該凸部の外側面に形成された複数の逆行防止片と、該凹部の内側面に形成され該逆行防止片と係合して該バンド本体の逆行を防止する複数の返し片と、を含み構成されていることから、結束対象物を結束する際に必要とした長さで切断した残りの結束バンドが端材とならず、次の結束バンドとして使用することができることから経済的である。
【図面の簡単な説明】
(【0011】以降は省略されています)
この特許をJ-PlatPat(特許庁公式サイト)で参照する
関連特許
株式会社ディスコ
処理方法
16日前
株式会社ディスコ
掃除器具
16日前
株式会社ディスコ
処理装置
1日前
株式会社ディスコ
処理装置
8日前
株式会社ディスコ
加工装置
17日前
株式会社ディスコ
切削装置
10日前
株式会社ディスコ
掃除器具
16日前
株式会社ディスコ
加工方法
1日前
株式会社ディスコ
洗浄方法
1日前
株式会社ディスコ
加工方法
1日前
株式会社ディスコ
加工装置
9日前
株式会社ディスコ
切削装置
8日前
株式会社ディスコ
加工装置
16日前
株式会社ディスコ
加工装置
2日前
株式会社ディスコ
加工方法
3日前
株式会社ディスコ
研削装置
9日前
株式会社ディスコ
結束バンド
1日前
株式会社ディスコ
搬送システム
9日前
株式会社ディスコ
搬送システム
16日前
株式会社ディスコ
搬送システム
16日前
株式会社ディスコ
搬送システム
8日前
株式会社ディスコ
搬送システム
16日前
株式会社ディスコ
カセットステージ
9日前
株式会社ディスコ
スピンドルユニット
29日前
株式会社ディスコ
ウエーハの加工方法
1日前
株式会社ディスコ
処理装置及び処理方法
2日前
株式会社ディスコ
分割装置及び分割方法
8日前
株式会社ディスコ
吸引面の中心検出方法
3日前
株式会社ディスコ
シリアル接続システム
29日前
株式会社ディスコ
洗浄装置及び洗浄方法
24日前
株式会社ディスコ
支持ウェーハの再使用方法
8日前
株式会社ディスコ
試験装置、及び、試験方法
9日前
株式会社ディスコ
基板の製造方法及び処理装置
8日前
株式会社ディスコ
貼り合わせウェーハの研削方法
1日前
株式会社ディスコ
ウェーハ及びウェーハの製造方法
9日前
株式会社ディスコ
支持部材及び処理対象物の処理方法
29日前
続きを見る
他の特許を見る