TOP
|
特許
|
意匠
|
商標
特許ウォッチ
Twitter
他の特許を見る
公開番号
2025141204
公報種別
公開特許公報(A)
公開日
2025-09-29
出願番号
2024041041
出願日
2024-03-15
発明の名称
積層体
出願人
日本発條株式会社
代理人
個人
主分類
H01L
23/36 20060101AFI20250919BHJP(基本的電気素子)
要約
【課題】所定の関係性を満たす熱伝導部材と発熱体を用いることによって、銅製の熱伝導部材に比して放熱性に優れる積層体を効率的に開発することができる技術を提案する。
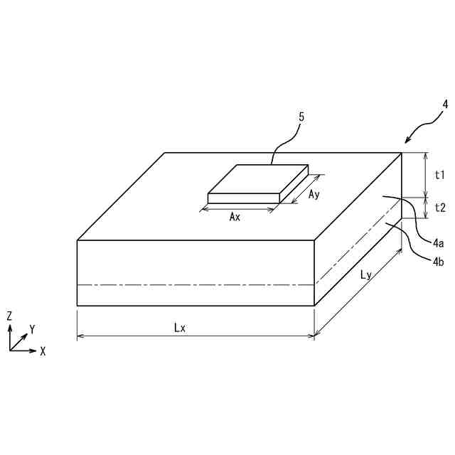
【解決手段】積層体1の熱伝導部材4は、X方向の長さがLx[mm]及びY方向の長さがLy[mm]の矩形状であり、Z方向の長さはt[mm]であり、X方向の熱伝導率はλx[W/(m・K)]、Y方向の熱伝導率はλy[W/(m・K)]、Z方向の熱伝導率はλz[W/(m・K)]であり、X方向の熱伝導率、Y方向の熱伝導率、及びZ方向の熱伝導率のうち少なくとも1つは他と相違していて、発熱体5は、X方向の長さがAx[mm]及びY方向の長さがAy[mm]の矩形状であって、以下の式(1)を満たす。
(1/76050)×(Ax×λy×λz+Ay×λx×λz)+(1/76050^2)×λx×λy×(λz^2)×t>2×(Ax+Ay+2×t)・・・(1)
【選択図】図1
特許請求の範囲
【請求項1】
ベース基板と、前記ベース基板の表側に設けられる絶縁層と、前記絶縁層の表側に設けられる熱伝導部材と、前記熱伝導部材の表側に設けられる発熱体とを備える積層体であって、
XYZ直交座標におけるXY平面に対して前記熱伝導部材の表面が平行に延在する状態において、前記熱伝導部材は、Z方向からの視点にてX方向の長さがLx[mm]及びY方向の長さがLy[mm]の矩形状であり、Z方向の長さはt[mm]であり、X方向の熱伝導率はλx[W/(m・K)]であってY方向の熱伝導率はλy[W/(m・K)]であってZ方向の熱伝導率はλz[W/(m・K)]であり、前記X方向の熱伝導率、前記Y方向の熱伝導率、及び前記Z方向の熱伝導率のうち少なくとも1つは他と相違していて、
前記発熱体は、Z方向からの視点にてX方向の長さがAx[mm]及びY方向の長さがAy[mm]の矩形状であって、以下の式(1)を満たす積層体。
(1/76050)×(Ax×λy×λz+Ay×λx×λz)+(1/76050^2)×λx×λy×(λz^2)×t>2×(Ax+Ay+2×t)・・・(1)
続きを表示(約 1,700 文字)
【請求項2】
対向する前記熱伝導部材のX方向第一端縁から前記発熱体のX方向第一端縁に至る距離をX1[mm]、対向する前記熱伝導部材のX方向第二端縁から前記発熱体のX方向第二端縁に至る距離をX2[mm]、対向する前記熱伝導部材のY方向第一端縁から前記発熱体のY方向第一端縁に至る距離をY1[mm]、対向する前記熱伝導部材のY方向第二端縁から前記発熱体のY方向第二端縁に至る距離をY2[mm]とする場合、更に下記(2)~(5)を満たす請求項1に記載の積層体。
X1≧X2・・・(2)
X2≧10・・・(3)
Y1≧Y2・・・(4)
Y2≧10・・・(5)
【請求項3】
ベース基板と、前記ベース基板の表側に設けられる絶縁層と、前記絶縁層の表側に設けられる熱伝導部材と、前記熱伝導部材の表側に設けられる発熱体とを備える積層体であって、
XYZ直交座標におけるXY平面に対して前記熱伝導部材の表面が平行に延在する状態において、前記熱伝導部材は、Z方向からの視点にてX方向の長さがLx[mm]及びY方向の長さがLy[mm]の矩形状であり、Z方向の長さはt[mm]であり、X方向の熱伝導率はλx[W/(m・K)]であってY方向の熱伝導率はλy[W/(m・K)]であってZ方向の熱伝導率はλz[W/(m・K)]であり、前記X方向の熱伝導率、前記Y方向の熱伝導率、及び前記Z方向の熱伝導率のうち少なくとも1つは他と相違していて、
前記発熱体は、Z方向からの視点にてX方向の長さがAx[mm]及びY方向の長さがAy[mm]の矩形状であって、
対向する前記熱伝導部材のX方向第一端縁から前記発熱体のX方向第一端縁に至る距離をX1[mm]、対向する前記熱伝導部材のX方向第二端縁から前記発熱体のX方向第二端縁に至る距離をX2[mm]、対向する前記熱伝導部材のY方向第一端縁から前記発熱体のY方向第一端縁に至る距離をY1[mm]、対向する前記熱伝導部材のY方向第二端縁から前記発熱体のY方向第二端縁に至る距離をY2[mm]とする場合、以下の式(6)~(10)を満たす積層体。
Lx×Ly≧Ax×Ay+(1/76050)×(Ax×λy×λz+Ay×λx×λz)×t+(1/76050^2)×λx×λy×(λz^2)×(t^2)・・・(6)
X1≧X2・・・(7)
X2≧10・・・(8)
Y1≧Y2・・・(9)
Y2≧10・・・(10)
【請求項4】
ベース基板と、前記ベース基板の表側に設けられる絶縁層と、前記絶縁層の表側に設けられる熱伝導部材と、前記熱伝導部材の表側に設けられる発熱体とを備える積層体であって、
XYZ直交座標におけるXY平面に対して前記熱伝導部材の表面が平行に延在する状態において、前記熱伝導部材は、Z方向からの視点にてX方向の長さがLx[mm]及びY方向の長さがLy[mm]の矩形状であり、Z方向の長さはt[mm]であり、X方向の熱伝導率、Y方向の熱伝導率、及びZ方向の熱伝導率は等しくλ[W/(m・K)]であり、
前記発熱体は、Z方向からの視点にてX方向の長さがAx[mm]及びY方向の長さがAy[mm]の矩形状であって、
対向する前記熱伝導部材のX方向第一端縁から前記発熱体のX方向第一端縁に至る距離をX1[mm]、対向する前記熱伝導部材のX方向第二端縁から前記発熱体のX方向第二端縁に至る距離をX2[mm]、対向する前記熱伝導部材のY方向第一端縁から前記発熱体のY方向第一端縁に至る距離をY1[mm]、対向する前記熱伝導部材のY方向第二端縁から前記発熱体のY方向第二端縁に至る距離をY2[mm]とする場合、以下の式(11)~(15)を満たす積層体。
Lx×Ly≧Ax×Ay+(1/76050)×(Ax+Ay)×(λ^2)×t+(1/76050^2)×(λ^4)×(t^2)・・・(11)
X1≧X2・・・(12)
X2≧10・・・(13)
Y1≧Y2・・・(14)
Y2≧10・・・(15)
発明の詳細な説明
【技術分野】
【0001】
本発明は、積層体に関する。
続きを表示(約 1,500 文字)
【背景技術】
【0002】
近年、高輝度LEDやパワー半導体のような大電流が流れる電子部品を使用する機会が増えている。大電流を流した際、この種の電子部品は高い温度で発熱する。このためこの種の電子部品を使用するにあたっては、十分な放熱性を確保することが重要である。
【0003】
従来、電子部品からの熱を放熱させるものとして、ベース基板と、絶縁層と、回路パターンと、この回路パターンに実装される電子部品とを備える積層体が知られている(例えば特許文献1、2参照)。このような積層体によれば、発熱体である電子部品で発生した熱を、回路パターンから絶縁層を経てベース基板に伝導させ、ベース基板から空気中(水冷機能を持つベース基板については更に水中)に放熱することができる。すなわち回路パターンは、発熱体からの熱を絶縁層に伝導させる熱伝導部材として機能する。
【0004】
回路パターンの素材としては、銅を用いることが一般的である。銅は熱伝導率が高く(約390[W/(m・K)])、比較的安価であるため、回路パターンを熱伝導部材として機能させる場合に好適である。銅のような熱伝導率が高い素材を熱伝導部材として用いる場合は、発熱体からの熱が絶縁層に伝わり易くなるうえ、熱が面方向に拡散されて伝熱面積が広がるため、絶縁層に対して熱が効率的に伝導されることになり放熱性を向上させることができる。
【先行技術文献】
【特許文献】
【0005】
特開2002-012653号公報
特開2023-40253号公報
特開2021-197534号公報
特開2021-150358号公報
【発明の概要】
【発明が解決しようとする課題】
【0006】
ところで近年は、熱伝導部材として銅製のものを使用する場合よりも放熱性を更に高めたいとする要望がある。
【0007】
従来、銅製の熱伝導部材よりも放熱性を向上させることができるものとして、ベイパーチャンバーを用いた積層体が知られている。特許文献3には、電子部品の回路として機能するベイパーチャンバーが絶縁層と電子部品との間に設けられている積層体が示されている。なおベイパーチャンバーは、面方向に熱を広げる機能に優れるが、厚み方向への熱の伝導は面方向よりも劣っていて、熱伝導率は面方向と厚み方向で相違する。
【0008】
また銅で形成した熱伝導部材よりも放熱性を向上させることができるものとして、特許文献4に示されているようなグラファイトを用いた積層体も知られている。グラファイトは熱伝導率に関して異方性を有していて、一般に熱伝導率が低い方向では銅の熱伝導率よりも低い値(約7[W/(m・K)])を示すものの、熱伝導率が高い方向では銅の熱伝導率よりも相当に高い値(約1700[W/(m・K)])を示すため、発熱体からの熱を特定の方向に広範囲に拡散させることができる。
【0009】
一方、熱伝導部材での熱の広がりについては未だ十分に把握できておらず、特に、熱伝導率に関して異方性を有する熱伝導部材を用いたものにおいては未だ不明確なところがある。
【0010】
また、熱伝導部材によって発熱体からの熱を広げる効果を有効に発揮させるには、熱伝導部材の大きさを発熱体よりも大きくしなければならないが、熱伝導部材の大きさが大きくなるにつれて積層体の大型化を招くことになる。しかし、熱伝導部材における熱を拡散させて伝導する機能と部材の大きさとの関係性は、熱伝導率が異方性を示すものは勿論のこと等方性を示すものにおいても未だ明確ではない。
(【0011】以降は省略されています)
この特許をJ-PlatPat(特許庁公式サイト)で参照する
関連特許
日本発條株式会社
積層体
1か月前
日本発條株式会社
記録装置
1か月前
日本発條株式会社
支持構造物
1か月前
日本発條株式会社
支持構造物
1か月前
日本発條株式会社
車両用シート
1か月前
日本発條株式会社
車両用シート
1か月前
日本発條株式会社
車両用シート
1か月前
日本発條株式会社
車両用シート
1か月前
日本発條株式会社
車両用シート
1か月前
日本発條株式会社
車両用シート
1か月前
日本発條株式会社
車両用立寝装置
1か月前
日本発條株式会社
車両用リアシート
1か月前
日本発條株式会社
シート用操作装置
1か月前
日本発條株式会社
車両用シート装置
1か月前
日本発條株式会社
車両用シート装置
1か月前
日本発條株式会社
コンタクトプローブ
1か月前
日本発條株式会社
コンタクトプローブ
1か月前
日本発條株式会社
接合体および接合方法
1か月前
日本発條株式会社
車両用ハンモック装置
1か月前
日本発條株式会社
車両用シートフレーム
17日前
日本発條株式会社
シートカバーの固定方法
1か月前
日本発條株式会社
ハーネス固定位置の識別構造
1か月前
日本発條株式会社
アームレスト及び車両用シート
4日前
日本発條株式会社
シートカバー及び車両用シート
1か月前
日本発條株式会社
車両用シートの操作アシスト構造
1か月前
日本発條株式会社
ジョー組立体及びその把持面構造
17日前
日本発條株式会社
ケーブルユニット及びその製造方法
17日前
日本発條株式会社
介在物評価方法及び試験片の製造方法
1か月前
日本発條株式会社
制御装置、制御方法、及び、プログラム
1か月前
日本発條株式会社
駐車用パレット及びこれを有する駐車装置
1か月前
日本発條株式会社
記録装置、カバー、及びカバーの製造方法
1か月前
日本発條株式会社
リヤシートクッション及び車両用リヤシート
1か月前
日本発條株式会社
車両用シートのアームレスト及び車両用シート
1か月前
日本発條株式会社
シートクッションスプリング及び車両用シート
1か月前
日本発條株式会社
チェーン、チェーン収容装置、及び、駐車装置
1か月前
日本発條株式会社
車両用シートのブロア取付構造及び車両用シート
17日前
続きを見る
他の特許を見る