TOP
|
特許
|
意匠
|
商標
特許ウォッチ
Twitter
他の特許を見る
公開番号
2025142991
公報種別
公開特許公報(A)
公開日
2025-10-01
出願番号
2024042654
出願日
2024-03-18
発明の名称
シートクッションスプリング及び車両用シート
出願人
日本発條株式会社
代理人
弁理士法人太陽国際特許事務所
主分類
B60N
2/72 20060101AFI20250924BHJP(車両一般)
要約
【課題】簡素な構成で、ばね性と振動減衰性との両立を容易に実現できて振動減衰性能を左右バランス良く確保することが可能なシートクッションスプリング及び車両用シートを得る。
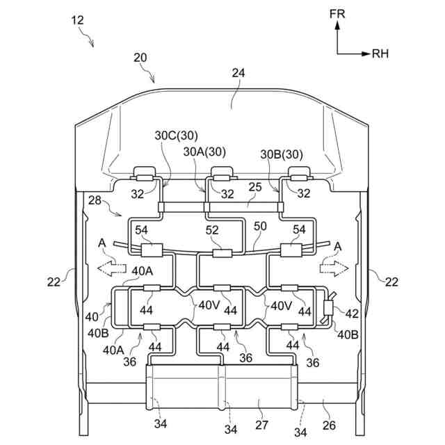
【解決手段】フロントフレーム24とリアフレーム26との間に複数のバネ部材30A、30B、30Cが架け渡されている。複数のバネ部材30A、30B、30Cは、シート幅方向に並列に配置され、シートクッション12のシート幅方向中間部に配置される第一バネ部材30Aと、シートクッション12のシート幅方向両外側部分にそれぞれ配置される第二バネ部材30B、30Cと、からなる。シート幅方向に沿ってかつ平面視で湾曲状に延在する横渡ワイヤ50は、長手方向中間部が第一バネ部材30Aに固定されると共に、長手方向両側部分が、第二バネ部材30B、30Cに固着された保持部材54に、自身の軸方向に相対的に摺動可能に保持されている。
【選択図】図3
特許請求の範囲
【請求項1】
シートクッションのフレームの前部と後部との間にシート前後方向に沿って架け渡されてパッド材をシート下方側から弾性的に支持すると共にシート幅方向に並列に配置され、前記シートクッションのシート幅方向中間部に配置される第一バネ部材と、前記シートクッションのシート幅方向両外側部分にそれぞれ配置される第二バネ部材と、からなる複数のバネ部材と、
シート幅方向に沿ってかつ平面視で湾曲状に延在し、長手方向中間部が前記第一バネ部材に固定されると共に、長手方向両側部分が、前記第二バネ部材に固着された樹脂製又はゴム製の保持部材に、自身の軸方向に相対的に摺動可能に保持された横渡ワイヤと、
を備えるシートクッションスプリング。
続きを表示(約 380 文字)
【請求項2】
前記シートクッションのシート前後方向中央よりもシート前後方向後側の部分においてシート幅方向に沿って延在して前記複数のバネ部材に固定される枠状の連結ワイヤを備え、
前記横渡ワイヤは、前記連結ワイヤよりもシート前後方向の前側に配置されている、請求項1に記載のシートクッションスプリング。
【請求項3】
前記バネ部材の本数が三本であり、前記横渡ワイヤの長手方向中間部は、一本の前記第一バネ部材に固定されている、請求項1に記載のシートクッションスプリング。
【請求項4】
乗員が着座するシートクッションと、
前記シートクッションに着座する乗員の背部を支持するシートバックと、
を備え、
前記シートクッションは、請求項1に記載のシートクッションスプリングを有する、車両用シート。
発明の詳細な説明
【技術分野】
【0001】
本発明は、シートクッションスプリング及び車両用シートに関する。
続きを表示(約 2,000 文字)
【背景技術】
【0002】
下記特許文献1の図1~図5には、車両のシート部の振動を減衰させるための構造の一例として、シート用ダンパ装置に関する技術が開示されている。簡単に説明すると、この先行技術では、シート部において、前後一対の固定フレーム間に張設されるSバネがシート部を弾性的に支持し、Sバネの後端側の部位には、シート前後方向に延在する可撓性の長尺部材の後端が固着され、長尺部材の前端側には振動減衰用のダンパが設けられている。また、この先行技術では、Sバネの撓み変形に長尺部材を強制的に倣わせるための強制倣い手段が設けられている。強制倣い手段は、長尺部材が移動自在に貫通した筒部材を具備し、この筒部材はSバネに固定されている。
【先行技術文献】
【特許文献】
【0003】
特開2007-282865号公報
【発明の概要】
【発明が解決しようとする課題】
【0004】
ところで、上記先行技術では、ダンパを用いてSバネの振動を減衰することができるが、構造が複雑である。また、上記先行技術では、Sバネの張設方向と、長尺部材の延在方向とが、同じ方向になっていて、一個のダンパの性能が一本のSバネのばね特性に影響を与えることになるので、ばね性と振動減衰性との両立を実現することが必ずしも容易ではない。
【0005】
一方、上記特許文献1の段落[0041]には、種々の変形例が開示され、その一つとして、Sばねを横断して長尺部材を張設し、長尺部材が移動自在に貫通する筒部材を具備する強制倣い手段をSばねに設け、更に、長尺部材の一端を右端又は左端のSばねに固着させた変形例が開示されている。しかしながら、この変形例は、振動減衰性能を左右バランス良く確保する点で改善の余地がある。
【0006】
本発明は、上記事実を考慮して、簡素な構成で、ばね性と振動減衰性との両立を容易に実現できて振動減衰性能を左右バランス良く確保することが可能なシートクッションスプリング及び車両用シートを得ることが目的である。
【課題を解決するための手段】
【0007】
第1の態様のシートクッションスプリングは、シートクッションのフレームの前部と後部との間にシート前後方向に沿って架け渡されてパッド材をシート下方側から弾性的に支持すると共にシート幅方向に並列に配置され、前記シートクッションのシート幅方向中間部に配置される第一バネ部材と、前記シートクッションのシート幅方向両外側部分にそれぞれ配置される第二バネ部材と、からなる複数のバネ部材と、シート幅方向に沿ってかつ平面視で湾曲状に延在し、長手方向中間部が前記第一バネ部材に固定されると共に、長手方向両側部分が、前記第二バネ部材に固着された樹脂製又はゴム製の保持部材に、自身の軸方向に相対的に摺動可能に保持された横渡ワイヤと、を備える。
【0008】
第1の態様のシートクッションスプリングによれば、複数のバネ部材が、シートクッションのフレームの前部と後部との間にシート前後方向に沿って架け渡されてパッド材をシート下方側から弾性的に支持すると共にシート幅方向に並列に配置されている。この複数のバネ部材は、シートクッションのシート幅方向中間部に配置される第一バネ部材と、シートクッションのシート幅方向両外側部分にそれぞれ配置される第二バネ部材と、からなる。また、シート幅方向に沿って延在する横渡ワイヤは、長手方向中間部が第一バネ部材に固定されると共に、長手方向両側部分が、第二バネ部材に固着された樹脂製又はゴム製の保持部材に、自身の軸方向に相対的に摺動可能に保持されている。このため、複数のバネ部材の伸縮時に、シートクッションのシート幅方向両側で横渡ワイヤが保持部材に対して相対的に摺動することによって横渡ワイヤと保持部材との間に摺動抵抗を発生させることが可能となるので、振動を左右バランス良く減衰することが可能となる。
【0009】
また、横渡ワイヤは、平面視で湾曲状に延在しているので、シートクッションのシート幅方向外側部分に配置される第二バネ部材がシート幅方向外側に変位しようとしたときに、横渡ワイヤには湾曲形状を平面視で直線に近づけるように変形させようとする荷重が作用する。このときの横渡ワイヤの変形抵抗力によっても振動が減衰される。よって、簡素な構造でありながら、振動減衰性能を高めることができる。
【0010】
さらに、このシートクッションスプリングでは、シート上下方向のばね性は、シート前後方向に沿って配置されるバネ部材で調整することになり、振動減衰性は、シート幅方向に沿って配置される横渡ワイヤと、第二バネ部材に固着されて横渡ワイヤが相対的に摺動可能な保持部材と、で調整することになるので、ばね性と振動減衰性との両立を容易に実現できる。
(【0011】以降は省略されています)
この特許をJ-PlatPat(特許庁公式サイト)で参照する
関連特許
日本発條株式会社
積層体
1か月前
日本発條株式会社
積層体
1か月前
日本発條株式会社
記録装置
1か月前
日本発條株式会社
駐車装置
2か月前
日本発條株式会社
支持構造物
1か月前
日本発條株式会社
空調シート
2か月前
日本発條株式会社
支持構造物
1か月前
日本発條株式会社
放熱構造体
2か月前
日本発條株式会社
ヒータ装置
1か月前
日本発條株式会社
クリップ部材
2か月前
日本発條株式会社
車両用シート
1か月前
日本発條株式会社
車両用シート
1か月前
日本発條株式会社
車両用シート
2か月前
日本発條株式会社
車両用シート
2か月前
日本発條株式会社
車両用シート
2か月前
日本発條株式会社
車両用シート
1か月前
日本発條株式会社
車両用シート
2か月前
日本発條株式会社
車両用シート
2か月前
日本発條株式会社
車両用シート
2か月前
日本発條株式会社
車両用シート
2か月前
日本発條株式会社
車両用シート
2か月前
日本発條株式会社
駐車システム
2か月前
日本発條株式会社
車両用シート
1か月前
日本発條株式会社
車両用シート
2か月前
日本発條株式会社
車両用シート
1か月前
日本発條株式会社
車両用シート
1か月前
日本発條株式会社
車両用立寝装置
1か月前
日本発條株式会社
車両用支持装置
1か月前
日本発條株式会社
車両用シート装置
1か月前
日本発條株式会社
車両用リアシート
1か月前
日本発條株式会社
シート用操作装置
1か月前
日本発條株式会社
車両用リアシート
1か月前
日本発條株式会社
車両用シート装置
1か月前
日本発條株式会社
車両用リアシート
1か月前
日本発條株式会社
コンタクトプローブ
1か月前
日本発條株式会社
インサート成形部品
2か月前
続きを見る
他の特許を見る