TOP
|
特許
|
意匠
|
商標
特許ウォッチ
Twitter
他の特許を見る
公開番号
2025131401
公報種別
公開特許公報(A)
公開日
2025-09-09
出願番号
2024029119
出願日
2024-02-28
発明の名称
空調シート
出願人
日本発條株式会社
代理人
弁理士法人太陽国際特許事務所
主分類
B60N
2/56 20060101AFI20250902BHJP(車両一般)
要約
【課題】柔軟性を有する袋体の損傷等が抑制された空調シートを提供する。
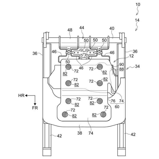
【解決手段】車両用シート10の空調装置12は、ばね組体44を介してシートフレーム34に取り付けられたブラケット64にブロワファン62が取り付けられている。また、空調装置12は、不織布又は布により形成された基袋72がフィルム74に被覆されたマット60を備える。マット60は、マット本体部76がクッションパッドの下側に配置され、接続部80がブロワファン62の吸込み口68に接続され、マット本体部76と接続部80とを接続する流路部78がブラケット64の挿通孔88に通されている。これにより、ブロワファン62が作動された際、流路部78の移動が挿通孔88の周縁部及びブラケット64に立設された制限壁90によって制限され、流路部78等に損傷が生じるのが抑制される。
【選択図】図2
特許請求の範囲
【請求項1】
各々がフレームに取り付けられたパッドにより着座する乗員の臀部及び腰部を支持するシートクッション、並びに前記シートクッションに着座した乗員の背部を支持するシートバックを含むシート本体と、
前記パッドの乗員とは反対側に配置され、作動されることとで第1開口部から吸い込んだ空気を第2開口部から吹き出す送風部と、
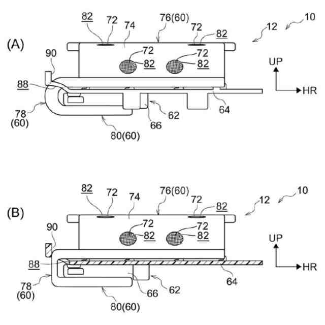
布又は不織布により内部が中空の袋状に形成されると共に外周がフィルムにより被覆された袋体であって、前記パッドの前記乗員とは反対側に配置されると共に前記パッドに向けて前記フィルムに開口部が形成された本体部と、前記送風部の前記第1開口部又は前記第2開口部に接続された接続部とが流路部により接続された袋体と、
板形状とされ前記袋体の前記本体部の下側に配置されて前記フレームに取り付けられ、前記本体部とは反対側の面に前記送風部が取り付けられると共に、前記本体部よりも外側に向けた前記接続部の移動を制限する制限部が一体に形成された支持部材と、
を含む空調シート。
続きを表示(約 310 文字)
【請求項2】
前記パッドが前記シートクッションに設けられたクッションパッドである、請求項1に記載の空調シート。
【請求項3】
前記制限部は、前記支持部材において、前記本体部よりも外側に所定の大きさで貫通形成された貫通部である、請求項1に記載の空調シート。
【請求項4】
前記袋体の前記接続部は、前記送風部の前記第1開口部に接続され、
前記支持部材の制限部は、前記貫通部の周縁部における前記本体部とは反対側が前記パッド側に突出された制限壁とされている、請求項3に記載の空調シート。
【請求項5】
前記支持部材は、合成樹脂製とされている、請求項1に記載の空調シート。
発明の詳細な説明
【技術分野】
【0001】
本発明は、車両用シートなどに適用される空調シートに関する。
続きを表示(約 1,800 文字)
【背景技術】
【0002】
特許文献1には、第1送風装置及び第2送風装置を備えた乗物用シートとしての車両シートが記載されている。車両シートには、シートクッションを構成するシートクッションパッドの下側に2つの第1送風装置の各々の第1ブロワ、及び第2送風装置の第2ブロワが配置されている。
【0003】
シートクッションパッドには、左右の隆起部の各々の上側の面にシートクッション側収容凹部が形成されて第1送風装置の空気通路部材が受容されており、第1ブロワにより空気通路部材の吐出口から着座者に向けて空気が送り出される。また、シートクッションパッドには、基部と通気カバーとの間に通気路形成溝が形成されており、第2ブロワにより通気路形成溝を介して通気カバーに形成された通気口から着座者に向けて空気が送り出される。
【先行技術文献】
【特許文献】
【0004】
特開2023-107235号公報
【発明の概要】
【発明が解決しようとする課題】
【0005】
ところで、車両用シート等においては、送風装置等の空調装置を設ける際、着座性が損ねられることなく、かつコスト抑制が望まれている。
【0006】
一般に、車両用シートでは、シートクッションのクッションパッドやシートバックのバックパッド等のパッドにウレタン等が用いられている。ここから、パッドの裏面に溝などを形成して、ゴムなどにより形成されて通気孔が設けられたダクトを溝内に配置することが考えられる。しかし、この場合、車両用シートの周囲を効果的に空調するためには、パッドにダクトを収容する溝を複数形成する必要があり、これに加えて、複数の溝の各々に収容させたダクトごとにファンを配置しなければならない。
【0007】
一方、ダクトに変えて柔軟性を有する素材を用いて袋状に形成したマットを用い、マットをパッドの裏側に配置することが考えられる。これにより、パッド等に空調装置を設置する際に、クッションパッド等に対する簡単な加工を施すのみで着座性を損ねることなく低コスト化を図ることができる。また、マットに用いる柔軟性を有する素材としてはゴム等が考えられるが、マットに不織布、布や編物などを用い、さらにマットを直接ブロワファンに接続することで、より低コスト化を図ることができる。
【0008】
しかしながら、柔軟性を有する素材が用いられたマット(袋体)では、ブロワファンの作動停止時には萎んでいる(内圧が低くなっている)が、ブロワファンが作動して内部に入り込んだ空気が流れることでマットが動いたり外形形状が変化(変形)してしまったりすることがある。このため、柔軟性を向上させたマットでは、折れ曲がりが生じたり、周囲の部品等に接触してしまったりして傷等の損傷が生じてしまう。このようなマットの損傷を防止するためには、マットを周囲の部品等から必要以上に離して設置する必要があり、マットの損傷対策には検討の余地がある。
【0009】
本発明は上記事実に鑑みてなされたものであり、柔軟性を有する袋体を用いる際、袋体の損傷等が抑制された空調シートを提供すること目的とする。
【課題を解決するための手段】
【0010】
上記目的を達成するための第1の態様の空調シートは、各々がフレームに取り付けられたパッドにより着座する乗員の臀部及び腰部を支持するシートクッション、並びに前記シートクッションに着座した乗員の背部を支持するシートバックを含むシート本体と、前記パッドの乗員とは反対側に配置され、作動されることとで第1開口部から吸い込んだ空気を第2開口部から吹き出す送風部と、布又は不織布により内部が中空の袋状に形成されると共に外周がフィルムにより被覆された袋体であって、前記パッドの前記乗員とは反対側に配置されると共に前記パッドに向けて前記フィルムに開口部が形成された本体部と、前記送風部の前記第1開口部又は前記第2開口部に接続された接続部とが流路部により接続された袋体と、板形状とされ前記袋体の前記本体部の下側に配置されて前記フレームに取り付けられ、前記本体部とは反対側の面に前記送風部が取り付けられると共に、前記本体部よりも外側に向けた前記接続部の移動を制限する制限部が一体に形成された支持部材と、を含む。
(【0011】以降は省略されています)
この特許をJ-PlatPat(特許庁公式サイト)で参照する
関連特許
日本発條株式会社
記録装置
1か月前
日本発條株式会社
支持構造物
1か月前
日本発條株式会社
支持構造物
1か月前
日本発條株式会社
車両用シート
1か月前
日本発條株式会社
車両用シート
1か月前
日本発條株式会社
車両用シート
1か月前
日本発條株式会社
車両用シート
1か月前
日本発條株式会社
車両用シート
1か月前
日本発條株式会社
車両用シート
1か月前
日本発條株式会社
車両用立寝装置
1か月前
日本発條株式会社
シート用操作装置
1か月前
日本発條株式会社
車両用シート装置
1か月前
日本発條株式会社
車両用シート装置
1か月前
日本発條株式会社
車両用リアシート
1か月前
日本発條株式会社
コンタクトプローブ
1か月前
日本発條株式会社
コンタクトプローブ
1か月前
日本発條株式会社
車両用シートフレーム
17日前
日本発條株式会社
シートカバーの固定方法
1か月前
日本発條株式会社
ハーネス固定位置の識別構造
1か月前
日本発條株式会社
シートカバー及び車両用シート
1か月前
日本発條株式会社
アームレスト及び車両用シート
4日前
日本発條株式会社
車両用シートの操作アシスト構造
1か月前
日本発條株式会社
ジョー組立体及びその把持面構造
17日前
日本発條株式会社
ケーブルユニット及びその製造方法
17日前
日本発條株式会社
介在物評価方法及び試験片の製造方法
1か月前
日本発條株式会社
制御装置、制御方法、及び、プログラム
1か月前
日本発條株式会社
記録装置、カバー、及びカバーの製造方法
1か月前
日本発條株式会社
駐車用パレット及びこれを有する駐車装置
1か月前
日本発條株式会社
リヤシートクッション及び車両用リヤシート
1か月前
日本発條株式会社
チェーン、チェーン収容装置、及び、駐車装置
1か月前
日本発條株式会社
車両用シートのアームレスト及び車両用シート
1か月前
日本発條株式会社
面状ヒータの製造方法、面状ヒータ及び加熱装置
1か月前
日本発條株式会社
車両用シートのブロア取付構造及び車両用シート
17日前
日本発條株式会社
設計探査方法、設計探査プログラムおよび設計探査装置
1か月前
日本発條株式会社
サスペンション装置のロック機構及びサスペンション装置
1か月前
日本発條株式会社
モータの製造方法
17日前
続きを見る
他の特許を見る