TOP
|
特許
|
意匠
|
商標
特許ウォッチ
Twitter
他の特許を見る
10個以上の画像は省略されています。
公開番号
2025151036
公報種別
公開特許公報(A)
公開日
2025-10-09
出願番号
2024052254
出願日
2024-03-27
発明の名称
支持構造物
出願人
日本発條株式会社
代理人
弁理士法人高橋・林アンドパートナーズ
主分類
F16F
15/06 20060101AFI20251002BHJP(機械要素または単位;機械または装置の効果的機能を生じ維持するための一般的手段)
要約
【課題】小型軽量化され、メンテナンスが容易である支持構造物を提供する。
【解決手段】支持構造物10であって、第1の端部及び第2の端部を含むトーションバー150と、前記第1の端部が取付けられ、前記トーションバーの中心軸まわりに回転可能な回転機構と、前記第2の端部が取付けられ、前記第2の端部を固定し、前記回転機構を回転可能に支持する支持機構と、を備える。前記回転機構は、アーム部140と、前記アーム部に取付けられる第1のパイプと、を含み、前記支持機構は、支持部材と、前記支持部材に取付けられる第2のパイプと、を含み、前記第2のパイプは前記第1のパイプに挿通され、前記トーションバーは、前記第2のパイプと、前記第1のパイプと、に挿通される。
【選択図】図1
特許請求の範囲
【請求項1】
第1の端部及び第2の端部を含むトーションバーと、
前記第1の端部が取付けられ、前記トーションバーの中心軸まわりに回転可能な回転機構と、
前記第2の端部が取付けられ、前記第2の端部を固定し、前記回転機構を回転可能に支持する支持機構と、
を備える支持構造物。
続きを表示(約 1,300 文字)
【請求項2】
前記回転機構は、アーム部と、前記アーム部に取付けられる第1のパイプと、を含み、
前記支持機構は、支持部材と、前記支持部材に取付けられる第2のパイプと、を含み、
前記第2のパイプは前記第1のパイプに挿通され、
前記トーションバーは、前記第2のパイプと、前記第1のパイプと、に挿通される、
請求項1に記載の支持構造物。
【請求項3】
前記トーションバーは、前記回転機構の回転に応じて、前記第2の端部から前記第1の端部に向かうにつれて捩じれた状態となる、
請求項1に記載の支持構造物。
【請求項4】
前記アーム部は、第1のアーム部と、前記第1のアーム部から延在する第2のアーム部と、を含み、
前記第1のアーム部は開孔を含み、
前記第1のパイプは、前記第1のアーム部の前記開孔に挿通されると共に前記第1のアーム部に取付けられる、
請求項2に記載の支持構造物。
【請求項5】
前記アーム部は、前記支持構造物により支持される機器が取付けられる、
請求項2に記載の支持構造物。
【請求項6】
前記第2のパイプは、第1の端部と、第2の端部と、を含み、
前記第2のパイプの前記第1の端部は前記第1のパイプに挿通され、断面視において、前記第1のパイプと重畳し、
前記第2のパイプの前記第2の端部は前記第1のパイプと離間し、断面視において、前記第1のパイプから露出する、
請求項2に記載の支持構造物。
【請求項7】
前記第2のパイプが前記第1のパイプから露出する前後方向に沿った長さは、前記第2のパイプの前後方向に沿った長さ長さより短い、
請求項6に記載の支持構造物。
【請求項8】
前記第1の端部は前記第1のパイプに取付けられ、
前記第2の端部は前記第2のパイプに取付けられる、
請求項2に記載の支持構造物。
【請求項9】
前記回転機構は第1の開孔を含む第1のキャップをさらに含み、
前記支持機構は第2の開孔を含む第2のキャップをさらに含み、
前記トーションバーは、前記第1の開孔及び前記第2の開孔に挿通され、
前記第1のキャップは前記第1のパイプに取付けられ、
前記第2のキャップは前記第2のパイプに取付けられる、
請求項2に記載の支持構造物。
【請求項10】
前記回転機構は第1のキャップをさらに含み、
前記支持機構は第2のキャップをさらに含み、
前記第1のキャップは前記第2のキャップに対向するように前記第1のパイプに取付けられ、
前記第2のキャップは前記第1のキャップに対向するように前記第2のパイプに取付けられ、
前記トーションバーは、前記第1のキャップ及び前記第2のキャップに溶接により、前記第1のキャップと前記第2のキャップとの間に接続される、
請求項2に記載の支持構造物。
(【請求項11】以降は省略されています)
発明の詳細な説明
【技術分野】
【0001】
本発明の実施形態の一つは、支持構造物に関する。
続きを表示(約 2,200 文字)
【背景技術】
【0002】
流体を輸送するために、例えば、配管、流体の制御を行うバルブ、流体を貯める容器などの機器が用いられる。配管、バルブ、又は容器などの機器の内部に流体が流れると、機器の重量、又は機器の温度が変化する。その結果、機器の位置は、機器が始めに配置された位置から変化する。その動きに一定の反力を発生させるとともに追従するのが、支持構造物である。
【0003】
例えば、特許文献1には、配管と固定側との間をシリンダ及びその内部を移動するピストンロッドで接続し、超塑性コイル部材及び弾性コイルばねを用いて一方が圧縮変形を受けたときに他方が引張変形を受けるように、シリンダ及びピストンロッドの移動量を規制するように構成された固定側から配管を支持する配管用制振装置(支持構造物)が開示されている。また、例えば、特許文献2には、建物側配管と地盤側配管との間に配設される接続管をワイヤ及びばね機構を介して建物の底部に吊り下げてなる免震配管の吊り下げ保持構造(支持構造物)が開示されている。
【先行技術文献】
【特許文献】
【0004】
実全平02-058187号公報
特開2005-090540号公報
【発明の概要】
【発明が解決しようとする課題】
【0005】
本発明の実施形態の課題の一つは、新規な構造を備える支持構造物を提供することにある。また、本発明の実施形態の課題の一つは、小型軽量化された支持構造物を提供することにある。さらに、本発明の実施形態の課題の一つは、メンテナンスが容易である支持構造物を提供することにある。
【課題を解決するための手段】
【0006】
本発明の実施形態の一つに係る支持構造物は、第1の端部及び第2の端部を含むトーションバーと、前記第1の端部が取付けられ、前記トーションバーの中心軸まわりに回転可能な回転機構と、前記第2の端部が取付けられ、前記第2の端部を固定し、前記回転機構を回転可能に支持する支持機構と、を備える。
【発明の効果】
【0007】
本発明の実施形態の一つによれば、新規な構造を備える支持構造物を提供することができる。また、本発明の実施形態の一つによれば、小型軽量化された支持構造物を提供することができる。さらに、本発明の実施形態の一つによれば、メンテナンスが容易である支持構造物を提供することができる。
【図面の簡単な説明】
【0008】
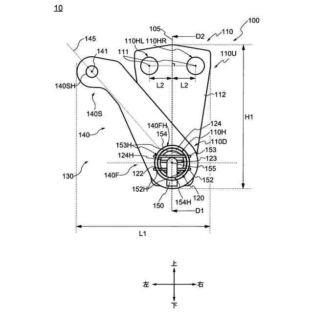
第1実施形態に係る支持構造物の概略を示す斜視図である。
第1実施形態に係る支持構造物の概略を示す平面図である。
第1実施形態に係る支持構造物の概略を示す平面図である。
第1実施形態に係る支持構造物において、図2及び図3に示されるD1-D2に沿った切断面を示す断面図である。
第1実施形態に係る支持構造物の動作の概略を示す平面図である。
第1実施形態に係る支持構造物の動作の概略を示す平面図である。
第1実施形態に係るトーションバーの一例を示す平面図である。
第2実施形態に係る支持構造物の概略を示す斜視図である。
第2実施形態に係る支持構造物の概略を示す平面図である。
第2実施形態に係る支持構造物の概略を示す平面図である。
第2実施形態に係る支持構造物において、図9及び図10に示されるD3-D4に沿った切断面を示す断面図である。
第2実施形態に係るトーションバーの取付方法の概略を示す平面図である。
第2実施形態に係るトーションバーの取付方法の概略を示す平面図である。
第2実施形態に係るトーションバーの取付方法の概略を示す平面図である。
第2実施形態に係るトーションバーの取付方法の概略を示す平面図である。
第2実施形態に係るトーションバーの取付方法の概略を示す平面図である。
第2実施形態に係るトーションバーの取付方法の概略を示す平面図である。
第2実施形態に係るトーションバーの取付方法の概略を示す平面図である。
第3実施形態に係る支持構造物の概略を示す斜視図である。
第3実施形態に係る支持構造物の概略を示す平面図である。
第4実施形態に係る支持構造物の概略を示す斜視図である。
第4実施形態に係る支持構造物の概略を示す平面図である。
【発明を実施するための形態】
【0009】
以下に、本発明の支持構造体の各実施形態について、機器として配管を用いた例を、図面を参照しつつ説明する。但し、本発明は、その要旨を逸脱しない範囲において様々な形態で実施することができ、以下に例示する実施形態の記載内容に限定して解釈されるものではない。例えば、支持構造体は、機器として、バルブを用いてよく、容器を用いてもよい。
【0010】
図面は、説明をより明確にするため、実際の態様に比べ、各部の幅、厚さ、形状等について模式的に表される場合があるが、あくまで一例であって、本発明の解釈を限定するものではない。また、本明細書と各図面において、既出の図面に関して説明したものと同様の機能を備えた要素には、同一の符号を付して、重複する説明を省略することがある。
(【0011】以降は省略されています)
この特許をJ-PlatPat(特許庁公式サイト)で参照する
関連特許
日本発條株式会社
積層体
1か月前
日本発條株式会社
積層体
1か月前
日本発條株式会社
記録装置
27日前
日本発條株式会社
支持構造物
26日前
日本発條株式会社
放熱構造体
1か月前
日本発條株式会社
支持構造物
26日前
日本発條株式会社
ヒータ装置
1か月前
日本発條株式会社
車両用シート
1か月前
日本発條株式会社
車両用シート
1か月前
日本発條株式会社
車両用シート
1か月前
日本発條株式会社
車両用シート
27日前
日本発條株式会社
車両用シート
26日前
日本発條株式会社
クリップ部材
1か月前
日本発條株式会社
車両用シート
1か月前
日本発條株式会社
車両用シート
26日前
日本発條株式会社
車両用シート
1か月前
日本発條株式会社
車両用シート
1か月前
日本発條株式会社
車両用シート
1か月前
日本発條株式会社
車両用シート
1か月前
日本発條株式会社
車両用シート
1か月前
日本発條株式会社
車両用シート
26日前
日本発條株式会社
車両用支持装置
1か月前
日本発條株式会社
車両用立寝装置
26日前
日本発條株式会社
車両用シート装置
26日前
日本発條株式会社
車両用リアシート
1か月前
日本発條株式会社
車両用シート装置
26日前
日本発條株式会社
シート用操作装置
1か月前
日本発條株式会社
車両用リアシート
1か月前
日本発條株式会社
車両用リアシート
1か月前
日本発條株式会社
コンタクトプローブ
26日前
日本発條株式会社
コンタクトプローブ
26日前
日本発條株式会社
インサート成形部品
1か月前
日本発條株式会社
接合体および接合方法
1か月前
日本発條株式会社
車両用ハンモック装置
1か月前
日本発條株式会社
シートカバーの固定方法
26日前
日本発條株式会社
アームレスト回転制動構造
1か月前
続きを見る
他の特許を見る