TOP
|
特許
|
意匠
|
商標
特許ウォッチ
Twitter
他の特許を見る
10個以上の画像は省略されています。
公開番号
2025152587
公報種別
公開特許公報(A)
公開日
2025-10-10
出願番号
2024054545
出願日
2024-03-28
発明の名称
チェーン、チェーン収容装置、及び、駐車装置
出願人
日本発條株式会社
,
株式会社ニッパツパーキングシステムズ
代理人
弁理士法人高橋・林アンドパートナーズ
主分類
F16G
13/12 20060101AFI20251002BHJP(機械要素または単位;機械または装置の効果的機能を生じ維持するための一般的手段)
要約
【課題】チェーン収容部から溢れることを抑制可能な、新規な構造を備えるチェーン、新規な構造を備えるチェーン収容装置、及び、新規な構造を備える駐車装置を提供する。
【解決手段】
チェーンは、それぞれが、外側リンクと前記外側リンクの内側に接続された内側リンクとが交互に連結され、第1の端部と第2の端部とを有する第1のチェーン群及び第2のチェーン群と、前記第1のチェーン群の第2の端部と前記第2のチェーン群の第1の端部とに連結され、前記外側リンクに対して前記内側リンクが連結された側の反対側に延在する突出部を含むリンク部材と、を備える。
【選択図】図2
特許請求の範囲
【請求項1】
それぞれが、外側リンクと前記外側リンクの内側に接続された内側リンクとが交互に連結され、第1の端部と第2の端部とを有する第1のチェーン群及び第2のチェーン群と、
前記第1のチェーン群の第2の端部と前記第2のチェーン群の第1の端部とに連結され、前記外側リンクに対して前記内側リンクが連結された側の反対側に延在する突出部を含むリンク部材と、を備える、
チェーン。
続きを表示(約 850 文字)
【請求項2】
前記第2のチェーン群の長さは前記第1のチェーン群の長さと異なる、
請求項1に記載のチェーン。
【請求項3】
前記第2のチェーン群の長さは前記第1のチェーン群の長さと同じである、
請求項1に記載のチェーン。
【請求項4】
前記リンク部材は前記外側リンクと前記内側リンクの何れかであり、
請求項1に記載のチェーン。
【請求項5】
前記リンク部材の突出部は、前記リンク部材の両側に配置される、
請求項1に記載のチェーン。
【請求項6】
前記リンク部材の突出部の形状は板状である、
請求項1に記載のチェーン。
【請求項7】
前記リンク部材の突出部の形状は柱状である、
請求項1に記載のチェーン。
【請求項8】
請求項1に記載のチェーンと、
水平に対して傾斜した傾斜部と、
前記チェーンを収容するための収容部と、
を含み、
前記チェーンが前記収容部に収容されるとき、前記リンク部材の突出部は前記傾斜部に当接する、
チェーン収容装置。
【請求項9】
前記リンク部材の突出部が前記傾斜部に当接するとき、前記第1のチェーン群は前記傾斜部から吊り下げられている、
請求項8に記載のチェーン収容装置。
【請求項10】
前記チェーンは、
外側リンクと前記外側リンクの内側に接続された内側リンクとが交互に連結され、第1の端部と第2の端部とを有する第3のチェーン群と、
前記第2のチェーン群の第2の端部と前記第3のチェーン群の第1の端部とに連結され、前記外側リンクに対して前記内側リンクが連結された側の反対側に延在する突出部を含むもう1つのリンク部材と、
をさらに有する、
請求項9に記載のチェーン収容装置。
(【請求項11】以降は省略されています)
発明の詳細な説明
【技術分野】
【0001】
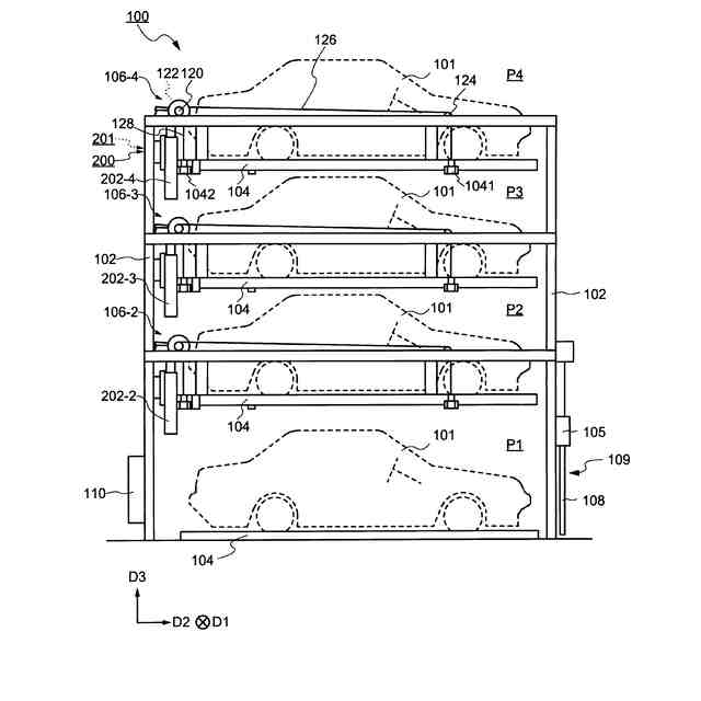
本発明の実施形態の一つはチェーンに関する。また、発明の実施形態の一つは、チェーンを収容するチェーン収容装置に関する。また、本発明の実施形態の一つは、チェーン収容装置を備え、自動車などの車両を駐車する駐車装置に関する。
続きを表示(約 2,400 文字)
【背景技術】
【0002】
車両の駐車装置として、パレット上に車両を載置して立体的に積み重ねて駐車させる、多段式駐車装置が知られている。多段式駐車装置では、パレットを上下方向または横方向に移動させ、入出庫口まで移動したパレットに載置されている車両を出し入れすることができる。
【0003】
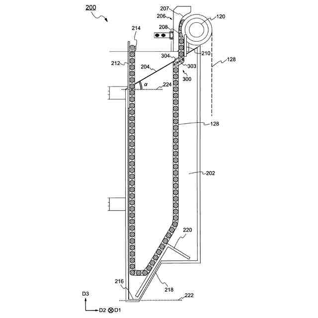
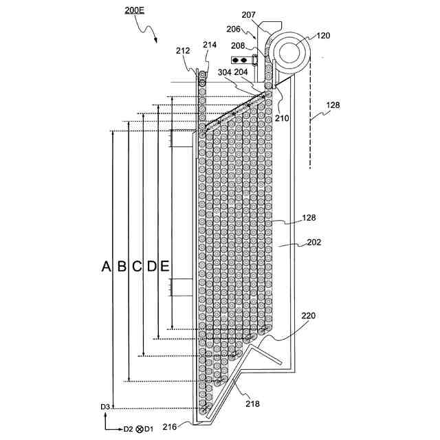
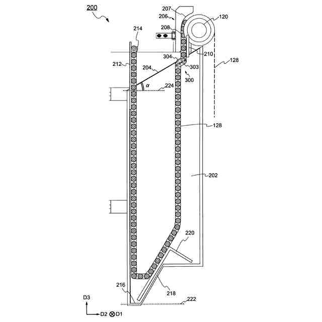
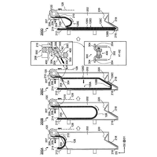
例えば、多段式駐車装置は、駆動源からの駆動を受けて回転する駆動スプロケットと、駆動スプロケットに巻き掛けられると共に、一端がパレットに連結され、他端がチェーンを収容するチェーン収容部に連結されたチェーンと、を備える。例えば、多段式駐車装置が、パレットを上下方向に移動させると、チェーンが駆動源からの駆動を受けた駆動スプロケットの回転によって当該一端から当該他端に向けて移動し、一端から他端に向けて移動したチェーンはチェーン収容部の内部に積みあがるようにチェーン収容部に収容される。
【0004】
しかしながら、チェーンが、チェーン収容部の内部で、不特定の方向に折れ曲がって無造作に積み重なると、予定していた長さのチェーンを収容できず、チェーンがチェーン収容部から溢れることがある。チェーンがチェーン収容部から溢れることを抑制するため、チェーンが無造作に積み重なることを抑制可能な駐車装置が提案されている(例えば、特許文献1~4)。
【先行技術文献】
【特許文献】
【0005】
特開平6-136985号公報
特開2011-58179号公報
特開2014-62449号公報
特開2013-83097号公報
【発明の概要】
【発明が解決しようとする課題】
【0006】
本発明の実施形態の課題の一つは、チェーンがチェーン収容部から溢れることを抑制可能な新規な構造を備えるチェーンを提供することにある。また、本発明の実施形態の課題の一つは、チェーンが溢れることを抑制可能な新規な構造を備えるチェーン収容装置を提供することにある。また、本発明の実施形態の課題の一つは、チェーンがチェーン収容部から溢れることを抑制可能な新規な構造を備える駐車装置を提供することにある。
【課題を解決するための手段】
【0007】
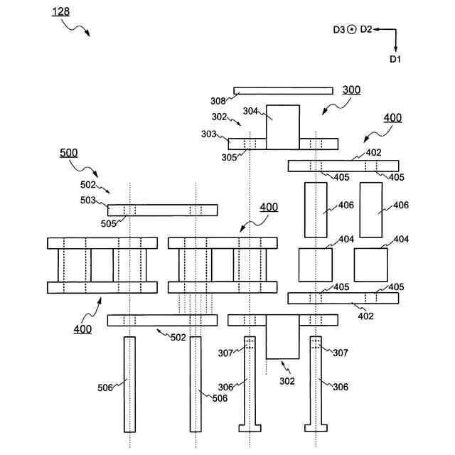
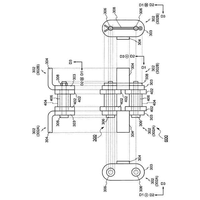
本発明の実施形態の一つに係るチェーンは、それぞれが、外側リンクと前記外側リンクの内側に接続された内側リンクとが交互に連結され、第1の端部と第2の端部とを有する第1のチェーン群及び第2のチェーン群と、前記第1のチェーン群の第2の端部と前記第2のチェーン群の第1の端部とに連結され、前記外側リンクに対して前記内側リンクが連結された側の反対側に延在する突出部を含むリンク部材と、を備える。
【0008】
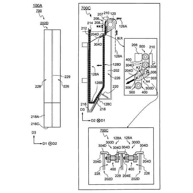
本発明の実施形態の一つに係るチェーン収容装置は、それぞれが、外側リンクと前記外側リンクの内側に接続された内側リンクとが交互に連結され、第1の端部と第2の端部とを有する第1のチェーン群及び第2のチェーン群と、前記第1のチェーン群の第2の端部と前記第2のチェーン群の第1の端部とに連結され、前記外側リンクに対して前記内側リンクが連結された側の反対側に延在する突出部を含むリンク部材と、を備えるチェーンと、水平に対して傾斜した傾斜部と、前記チェーンを収容するための収容部とを含み、前記チェーンが前記収容部に収容されるとき、前記突出部は前記傾斜部に当接する。
【0009】
本発明の実施形態の一つに係る駐車装置は、車両を載置するパレットと、チェーンと、水平に対して傾斜した傾斜部と、前記チェーンを収容するための収容部とを含み、チェーンが前記収容部に収容されるとき、前記突出部が前記傾斜部に当接するチェーン収容装置と、前記チェーンが巻き掛けられた駆動スプロケットと前記駆動スプロケットに対向して配置されたチェーンガイドとを含み前記チェーンの一端に連結された前記パレットの移動を制御する搬送装置と、を含み、前記チェーンは、それぞれが、外側リンクと前記外側リンクの内側に接続された内側リンクとが交互に連結され、第1の端部と第2の端部とを有する第1のチェーン群及び第2のチェーン群と、前記第1のチェーン群の第2の端部と前記第2のチェーン群の第1の端部とに連結され、前記外側リンクに対して前記内側リンクが連結された側の反対側に延在する突出部を含むリンク部材と、を備え、前記チェーンを前記収容部に収容するとき、前記駆動スプロケットの回転により、前記パレットが移動し、前記チェーンが前記駆動スプロケットと前記チェーンガイドとの間をとおり前記収容部に向かって垂下し、前記チェーンのうち前記第1のチェーン群と前記リンク部材とが前記収容部に収容され、前記リンク部材の突出部は前記傾斜部に当接する。
【0010】
本発明の実施形態の一つに係るチェーン収容装置は、第1のチェーンと、前記第1のチェーンとは異なる第2のチェーンと、水平に対して傾斜した傾斜部と、前記第1のチェーン及び前記第2のチェーンと収容するための収容部と、を含み、前記第1のチェーン及び前記第2のチェーンは、それぞれが、外側リンクと前記外側リンクの内側に接続された内側リンクとが交互に連結され、第1の端部と第2の端部とを有する第1のチェーン群及び第2のチェーン群と、前記第1のチェーン群の第2の端部と前記第2のチェーン群の第1の端部とに連結され、前記外側リンクに対して前記内側リンクが連結された側の反対側に延在する突出部を含むリンク部材と、を備え、前記第1のチェーン及び前記第2のチェーンが前記収容部に収容されるとき、前記第1のチェーンの前記リンク部材の突出部及び前記第2のチェーンの前記リンク部材の突出部は前記傾斜部に当接する。
(【0011】以降は省略されています)
この特許をJ-PlatPat(特許庁公式サイト)で参照する
関連特許
日本発條株式会社
記録装置
28日前
日本発條株式会社
支持構造物
27日前
日本発條株式会社
支持構造物
27日前
日本発條株式会社
車両用シート
27日前
日本発條株式会社
車両用シート
1か月前
日本発條株式会社
車両用シート
27日前
日本発條株式会社
車両用シート
28日前
日本発條株式会社
車両用シート
27日前
日本発條株式会社
車両用立寝装置
27日前
日本発條株式会社
シート用操作装置
1か月前
日本発條株式会社
車両用シート装置
27日前
日本発條株式会社
車両用シート装置
27日前
日本発條株式会社
コンタクトプローブ
27日前
日本発條株式会社
コンタクトプローブ
27日前
日本発條株式会社
シートカバーの固定方法
27日前
日本発條株式会社
ハーネス固定位置の識別構造
22日前
日本発條株式会社
シートカバー及び車両用シート
1か月前
日本発條株式会社
車両用シートの操作アシスト構造
27日前
日本発條株式会社
介在物評価方法及び試験片の製造方法
26日前
日本発條株式会社
制御装置、制御方法、及び、プログラム
27日前
日本発條株式会社
記録装置、カバー、及びカバーの製造方法
27日前
日本発條株式会社
駐車用パレット及びこれを有する駐車装置
27日前
日本発條株式会社
チェーン、チェーン収容装置、及び、駐車装置
26日前
日本発條株式会社
面状ヒータの製造方法、面状ヒータ及び加熱装置
27日前
日本発條株式会社
設計探査方法、設計探査プログラムおよび設計探査装置
27日前
日本発條株式会社
サスペンション装置のロック機構及びサスペンション装置
28日前
日本発條株式会社
設計探査方法、設計探査プログラム、設計探査装置および学習済みモデルの生成方法
27日前
日本発條株式会社
研磨装置及び研磨方法、並びに機械部品
1か月前
日本発條株式会社
モータの製造装置及びモータの製造方法
22日前
個人
留め具
22日前
個人
鍋虫ねじ
2か月前
個人
紛体用仕切弁
2か月前
個人
回転伝達機構
3か月前
個人
ホース保持具
6か月前
個人
トーションバー
7か月前
個人
差動歯車用歯形
4か月前
続きを見る
他の特許を見る