TOP
|
特許
|
意匠
|
商標
特許ウォッチ
Twitter
他の特許を見る
公開番号
2025146501
公報種別
公開特許公報(A)
公開日
2025-10-03
出願番号
2024047325
出願日
2024-03-22
発明の名称
車両用シート
出願人
日本発條株式会社
代理人
弁理士法人太陽国際特許事務所
主分類
B60N
2/90 20180101AFI20250926BHJP(車両一般)
要約
【課題】乗員の保持性を適切に確保できる車両用シートを提供する。
【解決手段】車両用シート10は、シートクッション12と、リクライニング可能なシートバック14と、を備える。シートクッション12は、シート幅方向中央部に位置するメイン部22と、メイン部22のシート幅方向両側に位置する一対の土手部24と、を有する。一対の土手部24は、メイン部22に対して隆起している。土手部24は、シート上下方向に移動可能な可動土手部24Bを有する。
【選択図】図2
特許請求の範囲
【請求項1】
シートクッションと、
リクライニング可能なシートバックと、
を備え、
前記シートクッションは、
シート幅方向中央部に位置するメイン部と、
前記メイン部のシート幅方向両側に位置し、前記メイン部に対して隆起した一対の土手部と、
を有し、
前記土手部は、シート上下方向に移動可能な可動土手部を有する、
車両用シート。
続きを表示(約 450 文字)
【請求項2】
前記可動土手部は、前記土手部のシート後方側の一部を構成する、
請求項1に記載の車両用シート。
【請求項3】
前記可動土手部の移動機構は、シート幅方向に沿う回転軸をシート前側に有する回転式である、
請求項1に記載の車両用シート。
【請求項4】
前記車両用シートは、前記メイン部の後部が持ち上がる機構である骨盤サポート機構を有する、
請求項1に記載の車両用シート。
【請求項5】
前記可動土手部を制御する制御部を備え、
前記制御部は、
車両走行時には、車両停車時よりも、前記可動土手部を上側の位置に設定する、
請求項1に記載の車両用シート。
【請求項6】
前記可動土手部を制御する制御部を備え、
前記制御部は、
前記骨盤サポート機構により前記メイン部の前記後部が持ち上がっているとき、前記可動土手部を上昇させる、
請求項4に記載の車両用シート。
発明の詳細な説明
【技術分野】
【0001】
本発明は、車両用シートに関する。
続きを表示(約 1,100 文字)
【背景技術】
【0002】
着座した乗員の保持性を確保するため、シートクッションに一対の土手部が形成された車両用シートが知られている(例えば特許文献1)。カーブを曲がる際など、一対の土手部によって乗員を保持することができる。
【先行技術文献】
【特許文献】
【0003】
特開2021-185084号公報
【発明の概要】
【発明が解決しようとする課題】
【0004】
本発明は、乗員の保持性を適切に確保できる車両用シートを提供することを目的とする。
【課題を解決するための手段】
【0005】
第1の態様の車両用シートは、シートクッションと、リクライニング可能なシートバックと、を備え、前記シートクッションは、シート幅方向中央部に位置するメイン部と、前記メイン部のシート幅方向両側に位置し、前記メイン部に対して隆起した一対の土手部と、を有し、前記土手部は、シート上下方向に移動可能な可動土手部を有する。
【0006】
本態様では、車両用シートは、シートクッションと、リクライニング可能なシートバックと、を備える。シートクッションは、シート幅方向中央部に位置するメイン部と、メイン部のシート幅方向両側に位置する一対の土手部と、を有する。一対の土手部は、メイン部に対して隆起している。このため、一対の土手部によって、乗員に対するシート幅方向の保持性が確保される。
【0007】
更に、本態様では、土手部は、シート上下方向に移動可能な可動土手部を有する。
このため、状況に応じて、乗員に対するシート幅方向の保持性を変化させることができる。例えば、シートバックのリクライニング状態(例えば自動運転時)に応じて、可動土手部の高さを自動又は手動で変化させることができる。以って、乗員の保持性を適切に確保できる。
【0008】
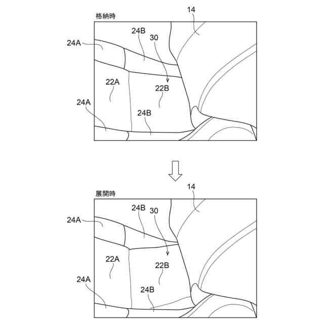
第2の態様の車両用シートは、第1の態様において、前記可動土手部は、前記土手部のシート後方側の一部を構成する。
【0009】
ところで、土手部の全体又はほぼ全体が可動土手部である場合、可動土手部を上側に移動した際に、乗員の膝付近又は大腿部の自由度が下がってしまい、座り心地が低下するおそれがある。そこで、本態様では、可動土手部は、土手部のシート後方側の一部を構成する。このため、乗員の膝付近又は大腿部の自由度を確保したまま、骨盤側方の保持性を向上することができる。
【0010】
第3の態様の車両用シートは、第1又は第2の態様において、前記可動土手部の移動機構は、シート幅方向に沿う回転軸をシート前側に有する回転式である。
(【0011】以降は省略されています)
この特許をJ-PlatPat(特許庁公式サイト)で参照する
関連特許
日本発條株式会社
積層体
6日前
日本発條株式会社
積層体
6日前
日本発條株式会社
駐車装置
1か月前
日本発條株式会社
ヒータ装置
6日前
日本発條株式会社
空調シート
26日前
日本発條株式会社
放熱構造体
17日前
日本発條株式会社
車両用シート
26日前
日本発條株式会社
車両用シート
25日前
日本発條株式会社
車両用シート
25日前
日本発條株式会社
車両用シート
25日前
日本発條株式会社
車両用シート
16日前
日本発條株式会社
車両用シート
16日前
日本発條株式会社
車両用シート
16日前
日本発條株式会社
クリップ部材
10日前
日本発條株式会社
車両用シート
2日前
日本発條株式会社
車両用シート
2日前
日本発條株式会社
車両用支持装置
6日前
日本発條株式会社
車両用リアシート
6日前
日本発條株式会社
車両用リアシート
6日前
日本発條株式会社
シート用操作装置
2日前
日本発條株式会社
車両用リアシート
4日前
日本発條株式会社
インサート成形部品
10日前
日本発條株式会社
車両用ハンモック装置
4日前
日本発條株式会社
接合体および接合方法
6日前
日本発條株式会社
アームレスト回転制動構造
26日前
日本発條株式会社
固定子鉄心片の打ち抜き方法
10日前
日本発條株式会社
シートカバー及び車両用シート
2日前
日本発條株式会社
アームレスト及び車両用シート
6日前
日本発條株式会社
プローブホルダおよび検査方法
10日前
日本発條株式会社
操作ストラップ及び車両用シート
16日前
日本発條株式会社
ウレタンパッド及びその製造方法
16日前
日本発條株式会社
セグメントコイルの取出装置及び方法
26日前
日本発條株式会社
放熱構造体および放熱構造体の製造方法
17日前
日本発條株式会社
クッション長可変装置及び車両用シート
27日前
日本発條株式会社
バックポケットの芯材及びトリムカバー
9日前
日本発條株式会社
リヤシートクッション及び車両用リヤシート
3日前
続きを見る
他の特許を見る