TOP
|
特許
|
意匠
|
商標
特許ウォッチ
Twitter
他の特許を見る
10個以上の画像は省略されています。
公開番号
2025149527
公報種別
公開特許公報(A)
公開日
2025-10-08
出願番号
2024050238
出願日
2024-03-26
発明の名称
サスペンション装置のロック機構及びサスペンション装置
出願人
日本発條株式会社
代理人
弁理士法人太陽国際特許事務所
主分類
B60N
2/50 20060101AFI20251001BHJP(車両一般)
要約
【課題】ロック状態でのガタの発生を抑制し且つ製造を容易にする。
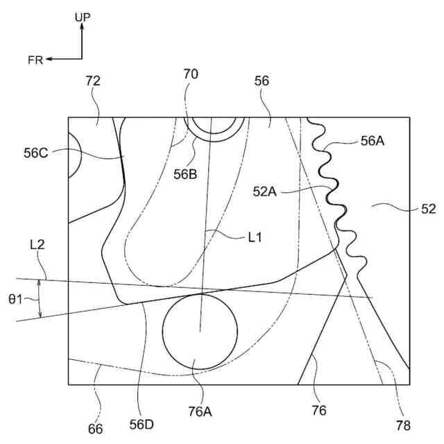
【解決手段】ロック機構50は、車両用シートのシート本体を車両の床部に対して昇降可能に連結すると共に当該昇降によって相対的に変位するリンクアームとベースブラケット76とを有するサスペンション装置に設けられる。このロック機構50は、リンクアームに固定されたギヤ52と、ベースブラケット76に設けられた軸部80が挿入された軸受孔58が基端側に形成され、ベースブラケット76に対して軸部80回りに回転可能とされたポール56と、ポール56の第2係合歯56Aがギヤ52の第1係合歯52Aに噛合されるロック位置と上記噛合が解除されるアンロック位置との間でポール56を回転させる駆動部と、ベースブラケット76に設けられ、ポール56がロック位置側へ回転することでポール56と摺接し、ポール56を軸部80の径方向に変位させる摺接突起76Aと、を備える。
【選択図】図8
特許請求の範囲
【請求項1】
車両用シートのシート本体を車両の床部に対して昇降可能に連結すると共に、当該昇降によって相対的に変位する第1部材及び第2部材を有するサスペンション装置に設けられるロック機構であって、
前記第1部材に固定され、第1係合歯を有する固定部材と、
前記第2部材に設けられた軸部が挿入された軸受孔が基端側に形成され、前記第2部材に対して前記軸部回りに回転可能とされ、第2係合歯を有する回転部材と、
前記第2係合歯が前記第1係合歯に噛合されるロック位置と前記噛合が解除されるアンロック位置との間で前記回転部材を回転させる駆動部と、
前記第2部材に設けられ、前記回転部材が前記アンロック位置から前記ロック位置側へ回転することで前記回転部材と摺接し、前記回転部材を前記軸部の径方向に変位させる摺接部と、
を備えたサスペンション装置のロック機構。
続きを表示(約 440 文字)
【請求項2】
前記回転部材には、前記アンロック位置への前記回転部材の回転方向であるアンロック方向へ向かうほど前記軸部から離れるように傾斜した傾斜面が設けられており、当該傾斜面が前記摺接部と摺接する請求項1に記載のサスペンション装置のロック機構。
【請求項3】
前記傾斜面の傾斜角度である圧力角は、7度以下に設定されている請求項2に記載のサスペンション装置のロック機構。
【請求項4】
前記摺接部は、前記回転部材の先端面と摺接する請求項1又は請求項2に記載のサスペンション装置のロック機構。
【請求項5】
車両用シートのシート本体を車両の床部に対して昇降可能に連結するサスペンション装置であって、
前記昇降によって相対的に変位する第1部材及び第2部材と、
前記第1部材に前記固定部材が固定され、前記第2部材に前記回転部材が取り付けられた請求項1又は請求項2に記載のロック機構と、
を備えたサスペンション装置。
発明の詳細な説明
【技術分野】
【0001】
本発明は、車両用シートのサスペンション装置に関し、特にサスペンション装置のロック機構に関する。
続きを表示(約 1,900 文字)
【背景技術】
【0002】
下記特許文献1に開示された車両用シートは、シート本体と、シート本体を車両の床部に対して昇降させるサスペンション装置と、シート本体の昇降をロックするロック機構とを備えている。サスペンション装置は、Xリンクを含んで構成されている。Xリンクの一方のリンクには、ロック機構が有するギヤ(固定部材)が固定されており、Xリンクの他方のリンクには、ロック機構が有するパウル(回転部材)が取り付けられている。固定部材及び回転部材は、それぞれ係合歯を有している。回転部材には、他方のリンクに設けられた軸部が挿入された軸受孔が形成されている。
【0003】
上記のロック機構は、回転部材の係合歯が固定部材の係合歯に噛合されるロック位置と、上記噛合が解除される解除位置との間で回転部材を軸部回りに回転させる駆動部を備えている。回転部材の係合歯が固定部材の係合歯に噛合されたロック状態では、シート本体の昇降がロックされるように構成されている。
【先行技術文献】
【特許文献】
【0004】
特開2022-83971号公報
【発明の概要】
【発明が解決しようとする課題】
【0005】
上記の先行技術では、回転部材の軸受孔と他方のリンクの軸部との間に、製造上必要な隙が設定される。この必要隙は軸受孔と軸部とのそれぞれの製造バラつきを考慮して両者が強干渉しない設定とされる。この必要隙の分だけロック状態でガタが発生すると、シート本体に着座した乗員が上下方向のガタとして不快に感じる虞がある。このガタの発生を抑えるため、軸受孔の内径及び軸部の外径の公差管理幅を厳しく設定することが行われている。このため、ロック機構の製造を容易にする観点で改善の余地がある。
【0006】
本発明は、ロック状態でのガタの発生を抑制することができ且つ製造が容易になるサスペンション装置のロック機構及びサスペンション装置を得ることを目的とする。
【課題を解決するための手段】
【0007】
第1の態様のサスペンション装置のロック機構は、車両用シートのシート本体を車両の床部に対して昇降可能に連結すると共に、当該昇降によって相対的に変位する第1部材及び第2部材を有するサスペンション装置に設けられるロック機構であって、前記第1部材に固定され、第1係合歯を有する固定部材と、前記第2部材に設けられた軸部が挿入された軸受孔が基端側に形成され、前記第2部材に対して前記軸部回りに回転可能とされ、第2係合歯を有する回転部材と、前記第2係合歯が前記第1係合歯に噛合されるロック位置と前記噛合が解除されるアンロック位置との間で前記回転部材を回転させる駆動部と、前記第2部材に設けられ、前記回転部材が前記アンロック位置から前記ロック位置側へ回転することで前記回転部材と摺接し、前記回転部材を前記軸部の径方向に変位させる摺接部と、を備えている。
【0008】
第1の態様によれば、車両用シートのシート本体を車両の床部に対して昇降可能に連結するサスペンション装置は、上記の昇降によって相対的に変位する第1部材及び第2部材を有している。このサスペンション装置に設けられるロック機構は、固定部材と、回転部材と、駆動部と、摺接部とを備えている。固定部材は、第1部材に固定され、第1係合歯を有している。回転部材は、第2部材に設けられた軸部が挿入された軸受孔が基端側に形成され、第2部材に対して前記軸部回りに回転可能とされ、第2係合歯を有している。駆動部は、第2係合歯が第1係合歯に噛合されるロック位置と前記噛合が解除されるアンロック位置との間で回転部材を回転させる。
【0009】
摺接部は、第2部材に設けられており、回転部材がアンロック位置からロック位置側へ回転することで回転部材と摺接し、回転部材を軸部の径方向に変位させる。この変位によって回転部材の軸受孔の内周面を軸部の外周面に押し当てることができるので、回転部材がロック位置に回転したロック状態において、軸部に対する回転部材のガタの発生を抑えることができる。これにより、軸受孔の内径及び軸部の外径の公差管理幅を厳しく設定しなくてもよくなるため、製造が容易になる。
【0010】
第2の態様のサスペンション装置のロック機構は、第1の態様において、前記回転部材の先端面には、前記アンロック位置への前記回転部材の回転方向であるアンロック方向へ向かうほど前記軸部から離れるように傾斜した傾斜面が設けられており、当該傾斜面が前記摺接部と摺接する。
(【0011】以降は省略されています)
この特許をJ-PlatPat(特許庁公式サイト)で参照する
関連特許
日本発條株式会社
車両用シートフレーム
17日前
日本発條株式会社
ハーネス固定位置の識別構造
1か月前
日本発條株式会社
アームレスト及び車両用シート
4日前
日本発條株式会社
ジョー組立体及びその把持面構造
17日前
日本発條株式会社
ケーブルユニット及びその製造方法
17日前
日本発條株式会社
車両用シートのブロア取付構造及び車両用シート
17日前
日本発條株式会社
モータの製造方法
17日前
日本発條株式会社
ケーブルの進退機構及びこれを用いたエンドエフェクターアッセンブリー
17日前
日本発條株式会社
モータの製造装置及びモータの製造方法
1か月前
個人
タイヤレバー
3か月前
個人
前輪キャスター
3か月前
個人
上部一体型自動車
1か月前
個人
空間形成装置
25日前
個人
ルーフ付きトライク
3か月前
個人
タイヤ脱落防止構造
2か月前
個人
マスタシリンダ
1か月前
日本精機株式会社
表示装置
3か月前
日本精機株式会社
表示装置
3か月前
日本精機株式会社
表示装置
3か月前
日本精機株式会社
照明装置
20日前
日本精機株式会社
表示装置
3か月前
個人
車両通過構造物
3か月前
個人
乗合路線バスの客室装置
4か月前
個人
常設収納型サンバイザー
1か月前
株式会社豊田自動織機
産業車両
3か月前
日本精機株式会社
車載表示装置
1か月前
日本精機株式会社
画像投映装置
1か月前
株式会社ニフコ
照明装置
3か月前
個人
回転窓ワイパー装置
25日前
個人
車載小物入れ兼雨傘収納具
4か月前
株式会社ニフコ
収納装置
2か月前
個人
円湾曲ホイール及び球体輪
4か月前
日本精機株式会社
車載表示装置
2か月前
個人
音声ガイド、音声サービス
4か月前
株式会社豊田自動織機
産業車両
20日前
日本精機株式会社
車載表示装置
28日前
続きを見る
他の特許を見る