TOP
|
特許
|
意匠
|
商標
特許ウォッチ
Twitter
他の特許を見る
10個以上の画像は省略されています。
公開番号
2025151586
公報種別
公開特許公報(A)
公開日
2025-10-09
出願番号
2024053093
出願日
2024-03-28
発明の名称
車両用シート装置
出願人
日本発條株式会社
代理人
弁理士法人太陽国際特許事務所
主分類
B60N
2/90 20180101AFI20251002BHJP(車両一般)
要約
【課題】サイドシートバックを起立位置に位置させたままセンターシートバックを前傾位置に位置させたときに、サイドシートバックの側部に設けられたストライカをサイドシートバックの側部から側方に突出させないようにできる車両用シート装置を得る。
【解決手段】センターシートバック75が第1起立位置にあり且つ特定サイドシートバック40が第2起立位置にあるときにストライカ63を突出位置に位置させ、センターシートバックが第1前傾位置にあり且つ特定サイドシートバックが第2起立位置にあるときにストライカを格納位置に位置させる連動機構95を備える。
【選択図】図6
特許請求の範囲
【請求項1】
支持体と、
前記支持体に支持された一対のサイドシートバックと、
前記支持体に第1起立位置と第1前傾位置との間を回転可能に支持され、前記一対のサイドシートバックの間に位置するセンターシートバックと、
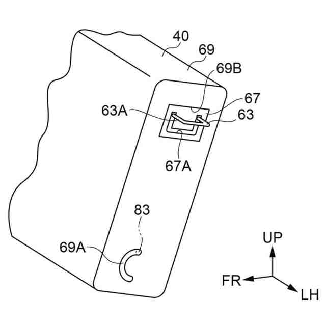
一方の前記サイドシートバックであり且つ前記支持体に第2起立位置と第2前傾位置との間を回転可能に支持された特定サイドシートバックの前記センターシートバック側の側部に設けられ、前記側部から前記センターシートバック側に突出する突出位置と、前記側部内に格納される格納位置との間を移動可能なストライカと、
前記センターシートバックに設けられ、前記突出位置にある前記ストライカを把持するラッチ状態と前記ストライカを解放するアンラッチ状態とに切り替わることが可能なラッチ機構と、
前記センターシートバックが前記第1起立位置にあり且つ前記特定サイドシートバックが第2起立位置にあるときに前記ストライカを前記突出位置に位置させ、前記センターシートバックが前記第1前傾位置にあり且つ前記特定サイドシートバックが前記第2起立位置にあるときに前記ストライカを前記格納位置に位置させる連動機構と、
を備える車両用シート装置。
続きを表示(約 1,200 文字)
【請求項2】
前記連動機構が、
車両幅方向に延びる第1回転軸まわりに第1位置と第2位置との間を回転可能に前記特定サイドシートバックに設けられた回転部材と、
前記ストライカを前記格納位置に向けて移動付勢する付勢部材と、
前記回転部材と前記ストライカを連係し、前記回転部材が前記第1位置にあるとき前記付勢部材の付勢力に抗して前記ストライカを前記突出位置に位置させ、前記回転部材が前記第2位置にあるとき前記ストライカが前記付勢部材の付勢力によって前記格納位置に移動することを許容する連係部材と、
前記センターシートバックに設けられると共に前記回転部材に接続され、前記センターシートバックが前記第1起立位置にあり且つ前記特定サイドシートバックが前記第2起立位置にあるときに前記回転部材を前記第1位置に位置させ、前記センターシートバックが前記第1前傾位置にあり且つ前記特定サイドシートバックが前記第2起立位置にあるときに前記回転部材を前記第2位置に位置させる制御部材と、
を備える請求項1に記載の車両用シート装置。
【請求項3】
前記連動機構が、
車両幅方向に延びる第1回転軸まわりに第1位置と第2位置との間を回転可能に前記特定サイドシートバックに設けられた回転部材と、
前記ストライカを前記突出位置に向けて移動付勢する付勢部材と、
前記回転部材と前記ストライカを連係し、前記回転部材が前記第1位置にあるとき前記ストライカが前記付勢部材の付勢力によって前記突出位置に移動することを許容し、前記回転部材が前記第2位置にあるとき前記付勢部材の付勢力に抗して前記ストライカを前記格納位置に位置させる連係部材と、
前記センターシートバックに設けられると共に前記回転部材に接続され、前記センターシートバックが前記第1起立位置にあり且つ前記特定サイドシートバックが前記第2起立位置にあるときに前記回転部材を前記第1位置に位置させ、前記センターシートバックが前記第1前傾位置にあり且つ前記特定サイドシートバックが前記第2起立位置にあるときに前記回転部材を前記第2位置に位置させる制御部材と、
を備える請求項1に記載の車両用シート装置。
【請求項4】
前記ストライカが前記突出位置と前記格納位置の間を回転可能である請求項2又は請求項3に記載の車両用シート装置。
【請求項5】
前記ストライカが前記突出位置と前記格納位置の間を水平方向に移動可能能である請求項2又は請求項3に記載の車両用シート装置。
【請求項6】
前記連係部材が可撓性を有する長尺部材である請求項2又は請求項3に記載の車両用シート装置。
【請求項7】
前記制御部材が、前記センターシートバックに固定されると共に前記回転部材に連係され、且つ前記第1回転軸と平行な連係部材である請求項2又は請求項3に記載の車両用シート装置。
発明の詳細な説明
【技術分野】
【0001】
本発明は、車両用シート装置に関する。
続きを表示(約 2,500 文字)
【背景技術】
【0002】
下記特許文献1には車両用シート装置が開示されている。この車両用シート装置は、シートクッションと、シートクッションに支持された一対のサイドシートバックと、一対のサイドシートバックの間に位置するセンターシートバックと、を備える。サイドシートバック及びセンターシートバックは、シートクッションに、起立位置と前傾位置との間を回転可能に支持されている。
【0003】
一方のサイドシートバックのセンターシートバック側の側部に当該側部から側方に突出するストライカが固定され、センターシートバックの当該サイドシートバック側の側部にバックロックが設けられている。例えば一方のサイドシートバック及びセンターシートバックが起立位置にあるとき、バックロックがストライカを把持する。そのためこの場合、一方のサイドシートバック及びセンターシートバックを一体的に起立位置と前傾位置との間で回転させられる。またバックロックの操作装置を操作することによりバックロックをアンロック状態に切り替えることにより、例えば一方のサイドシートバックを起立位置に位置させたまま、センターシートバックを前傾位置へ回転させられる。
【先行技術文献】
【特許文献】
【0004】
特開2001-47910号公報
【発明の概要】
【発明が解決しようとする課題】
【0005】
上記特許文献1では、一方のサイドシートバックを起立位置に位置させたまま、センターシートバックを前傾位置へ回転させたときに、一方のサイドシートバックのセンターシートバック側の側部からストライカが側方に突出する。
【0006】
本発明は上記事実を考慮し、サイドシートバックを起立位置に位置させたままセンターシートバックを前傾位置に位置させたときに、サイドシートバックの側部に設けられたストライカをサイドシートバックの側部から側方に突出させないようにできる車両用シート装置を得ることを目的とする。
【課題を解決するための手段】
【0007】
請求項1に記載の発明に係る車両用シート装置は、支持体と、前記支持体に支持された一対のサイドシートバックと、前記支持体に第1起立位置と第1前傾位置との間を回転可能に支持され、前記一対のサイドシートバックの間に位置するセンターシートバックと、一方の前記サイドシートバックであり且つ前記支持体に第2起立位置と第2前傾位置との間を回転可能に支持された特定サイドシートバックの前記センターシートバック側の側部に設けられ、前記側部から前記センターシートバック側に突出する突出位置と、前記側部内に格納される格納位置との間を移動可能なストライカと、前記センターシートバックに設けられ、前記突出位置にある前記ストライカを把持するラッチ状態と前記ストライカを解放するアンラッチ状態とに切り替わることが可能なラッチ機構と、前記センターシートバックが前記第1起立位置にあり且つ前記特定サイドシートバックが第2起立位置にあるときに前記ストライカを前記突出位置に位置させ、前記センターシートバックが前記第1前傾位置にあり且つ前記特定サイドシートバックが前記第2起立位置にあるときに前記ストライカを前記格納位置に位置させる連動機構と、を備える。
【0008】
請求項1に記載の車両用シート装置は、支持体と、支持体に支持された一対のサイドシートバックと、第1起立位置と第1前傾位置との間を回転可能に支持され、一対のサイドシートバックの間に位置するセンターシートバックと、を備える。一方のサイドシートバックであり且つ支持体に第2起立位置と第2前傾位置との間を回転可能に支持された特定サイドシートバックのセンターシートバック側の側部に設けられたストライカが、側部からセンターシートバック側に突出する突出位置と、側部内に格納される格納位置との間を移動可能である。さらにセンターシートバックが、突出位置にあるストライカを把持するラッチ状態とストライカを解放するアンラッチ状態とに切り替わることが可能なラッチ機構を備える。
【0009】
さらに車両用シート装置は、センターシートバックが第1起立位置にあり且つ特定サイドシートバックが第2起立位置にあるときにストライカを突出位置に位置させ、センターシートバックが第1前傾位置にあり且つ特定サイドシートバックが第2起立位置にあるときにストライカを格納位置に位置させる連動機構を備える。そのため請求項1に記載の車両用シート装置は、特定サイドシートバックを第2起立位置に位置させたままセンターシートバックを第1前傾位置へ回転させたときに、特定サイドシートバックの側部に設けられたストライカを特定サイドシートバックの側部から側方に突出させないようにできる。
【0010】
請求項2に記載の発明に係る車両用シート装置は、請求項1に記載の車両用シート装置において、前記連動機構が、車両幅方向に延びる第1回転軸まわりに第1位置と第2位置との間を回転可能に前記特定サイドシートバックに設けられた回転部材と、前記ストライカを前記格納位置に向けて移動付勢する付勢部材と、前記回転部材と前記ストライカを連係し、前記回転部材が前記第1位置にあるとき前記付勢部材の付勢力に抗して前記ストライカを前記突出位置に位置させ、前記回転部材が前記第2位置にあるとき前記ストライカが前記付勢部材の付勢力によって前記格納位置に移動することを許容する連係部材と、前記センターシートバック又は前記センターシートバックと一体的に回転する部材に設けられると共に前記回転部材に接続され、前記センターシートバックが前記第1起立位置にあり且つ前記特定サイドシートバックが前記第2起立位置にあるときに前記回転部材を前記第1位置に位置させ、前記センターシートバックが前記第1前傾位置にあり且つ前記特定サイドシートバックが前記第2起立位置にあるときに前記回転部材を前記第2位置に位置させる制御部材と、を備える。
(【0011】以降は省略されています)
この特許をJ-PlatPat(特許庁公式サイト)で参照する
関連特許
日本発條株式会社
積層体
1か月前
日本発條株式会社
積層体
1か月前
日本発條株式会社
記録装置
1か月前
日本発條株式会社
支持構造物
1か月前
日本発條株式会社
ヒータ装置
1か月前
日本発條株式会社
放熱構造体
1か月前
日本発條株式会社
支持構造物
1か月前
日本発條株式会社
車両用シート
1か月前
日本発條株式会社
車両用シート
1か月前
日本発條株式会社
車両用シート
1か月前
日本発條株式会社
車両用シート
1か月前
日本発條株式会社
車両用シート
1か月前
日本発條株式会社
車両用シート
1か月前
日本発條株式会社
車両用シート
1か月前
日本発條株式会社
車両用シート
1か月前
日本発條株式会社
車両用シート
1か月前
日本発條株式会社
クリップ部材
1か月前
日本発條株式会社
車両用支持装置
1か月前
日本発條株式会社
車両用立寝装置
1か月前
日本発條株式会社
車両用リアシート
1か月前
日本発條株式会社
車両用リアシート
1か月前
日本発條株式会社
シート用操作装置
1か月前
日本発條株式会社
車両用リアシート
1か月前
日本発條株式会社
車両用シート装置
1か月前
日本発條株式会社
車両用シート装置
1か月前
日本発條株式会社
コンタクトプローブ
1か月前
日本発條株式会社
インサート成形部品
1か月前
日本発條株式会社
コンタクトプローブ
1か月前
日本発條株式会社
車両用シートフレーム
1日前
日本発條株式会社
接合体および接合方法
1か月前
日本発條株式会社
車両用ハンモック装置
1か月前
日本発條株式会社
シートカバーの固定方法
1か月前
日本発條株式会社
ハーネス固定位置の識別構造
25日前
日本発條株式会社
固定子鉄心片の打ち抜き方法
1か月前
日本発條株式会社
シートカバー及び車両用シート
1か月前
日本発條株式会社
アームレスト及び車両用シート
1か月前
続きを見る
他の特許を見る