TOP
|
特許
|
意匠
|
商標
特許ウォッチ
Twitter
他の特許を見る
10個以上の画像は省略されています。
公開番号
2025152212
公報種別
公開特許公報(A)
公開日
2025-10-09
出願番号
2024054002
出願日
2024-03-28
発明の名称
乗員保護装置
出願人
豊田合成株式会社
代理人
個人
主分類
B60R
21/205 20110101AFI20251002BHJP(車両一般)
要約
【課題】インストルメントパネルの上部におけるデザインの自由度を損なうことなく、エアバッグにより助手席の乗員を保護することができる乗員保護装置を提供する。
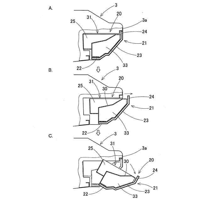
【解決手段】乗員保護装置Mは、助手席の前方側のインストルメントパネル3に取り付けられたグラブボックス20と、グラブボックス20内に設置されたエアバッグ装置Sと、を備えている。グラブボックス20は、ボックス本体部31と後方に移動可能な蓋部21とを備え、バッグ展開時におけるエアバッグ60からの押圧力により蓋部21が後方に移動し、インストルメントパネル3の後壁部3aと蓋部21との間で、エアバッグ60を上方に膨出させる膨出開口49が形成可能とされている。展開されたエアバッグ60は、後方に移動した蓋部21と、蓋部21よりも前方に位置するインストルメントパネル3と、インストルメントパネル3の上方に位置するウインドシールド5とによって支持されている。
【選択図】 図8
特許請求の範囲
【請求項1】
助手席の前方側のインストルメントパネルに取り付けられ、ボックス本体部および蓋部を有するグラブボックスと、
該グラブボックス内に設置され、エアバッグに膨張用ガスを供給して該エアバッグを後方側に展開させるエアバッグ装置と、
を備え、
前記グラブボックスは、インナ部材と該インナ部材に対して後方に移動可能なアウタ部材とを備え、バッグ展開時における前記エアバッグからの押圧力により前記アウタ部材が後方に移動し、前記インストルメントパネルの後壁部と前記アウタ部材との間で、前記エアバッグを上方に膨出させる膨出開口が形成可能とされており、
展開されたエアバッグは、後方に移動した前記アウタ部材と、前記アウタ部材よりも前方に位置する前記インストルメントパネルと、前記インストルメントパネルの上方に位置するウインドシールドとによって支持されていることを特徴とする乗員保護装置。
続きを表示(約 470 文字)
【請求項2】
前記アウタ部材は前記蓋部を含んで構成され、前記蓋部の上端部が前記展開されたエアバッグを支持する係合支持部とされていることを特徴とする、請求項1に記載の乗員保護装置。
【請求項3】
前記エアバッグは、下向きに開放され前記係合支持部と係合する係合凹部が設けられていることを特徴とする、請求項2に記載の乗員保護装置。
【請求項4】
前記エアバッグは、展開完了時に前記インストルメントパネルの上面を覆う前方膨張部が設けられていることを特徴とする、請求項1に記載の乗員保護装置。
【請求項5】
前記エアバッグと接触可能な前記インストルメントパネルの上面は、前方に向かうにつれて上方に向かう傾斜面とされていることを特徴とする、請求項4に記載の乗員保護装置。
【請求項6】
前記蓋部は、前記グラブボックス内に設置された前記エアバッグと対向する位置に、上方に向かうにつれて後方側に傾斜する傾斜壁部が設けられていることを特徴とする、請求項2に記載の乗員保護装置。
発明の詳細な説明
【技術分野】
【0001】
本発明は、車両の助手席に着座した乗員を保護するための乗員保護装置に関する。
続きを表示(約 1,700 文字)
【背景技術】
【0002】
例えば下記特許文献1に記載された助手席乗員保護装置では、助手席の前方側のインストルメントパネル内にエアバッグ装置を設置し、インストルメントパネルの上壁部に形成されたエアバッグドアを展開させ、これにより前記上壁部に形成された開口から上方に膨出させたエアバッグにより乗員の上半身の保護が図られている。
【0003】
しかしながら特許文献1に記載された乗員保護装置の構成では、エアバッグ装置の設置に起因してインストルメントパネルの上部におけるデザインの自由度が制限されてしまう問題があった。
【先行技術文献】
【特許文献】
【0004】
特開2014-69730号公報
【発明の概要】
【発明が解決しようとする課題】
【0005】
本発明は、このような問題を解決するものであり、インストルメントパネルの上部におけるデザインの自由度を損なうことなく、エアバッグにより助手席の乗員を保護することができる乗員保護装置を提供することを目的とする。
【課題を解決するための手段】
【0006】
本発明に係る乗員保護装置は、助手席の前方側のインストルメントパネルに取り付けられ、ボックス本体部および蓋部を有するグラブボックスと、
該グラブボックス内に設置され、エアバッグに膨張用ガスを供給して該エアバッグを後方側に展開させるエアバッグ装置と、
を備え、
前記グラブボックスは、インナ部材と該インナ部材に対して後方に移動可能なアウタ部材とを備え、バッグ展開時における前記エアバッグからの押圧力により前記アウタ部材が後方に移動し、前記インストルメントパネルの後壁部と前記アウタ部材との間で、前記エアバッグを上方に膨出させる膨出開口が形成可能とされており、
展開されたエアバッグは、後方に移動した前記アウタ部材と、前記アウタ部材よりも前方に位置する前記インストルメントパネルと、前記インストルメントパネルの上方に位置するウインドシールドとによって支持されていることを特徴とする。
【0007】
本発明の乗員保護装置によれば、グラブボックス内に収容されたエアバッグをインストルメントパネルの後壁部とグラブボックスのアウタ部材との間に形成された開口から膨出させるため、インストルメントパネルの上壁部にエアバッグを膨出させるための開口を設ける必要はない。このためエアバッグ装置の設置に起因して、インストルメントパネルの上部におけるデザインの自由度が損なわれてしまうのを回避することができる。
またグラブボックス内から膨出し展開したエアバッグは、後方に移動したアウタ部材と、アウタ部材よりも前方に位置するインストルメントパネルと、インストルメントパネルの上方に位置するウインドシールドの3箇所で支持され、所望の展開形状を得ることができる。
【0008】
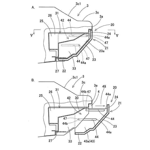
また本発明の乗員保護装置では、前記アウタ部材が前記蓋部を含むように構成し、前記蓋部の上端部を、前記展開されたエアバッグを支持する係合支持部とすることができる。
このようにすれば、グラブボックスの蓋部をエアバッグ支持のための部品として活用することができる。
【0009】
また本発明の乗員保護装置では、下向きに開放され前記係合支持部と係合する係合凹部を前記エアバッグに設けておくことができる。
このようにすれば係合支持部と係合凹部との係合により、展開されたエアバッグを所望の位置にて支持することができる。
【0010】
また本発明の乗員保護装置では、展開完了時に前記インストルメントパネルの上面を覆う前方膨張部を前記エアバッグに設けておくことができる。
このようにすれば、インストルメントパネルの後壁部のほか、インストルメントパネルの上面においてもエアバッグを支持することができる。
(【0011】以降は省略されています)
この特許をJ-PlatPat(特許庁公式サイト)で参照する
関連特許
豊田合成株式会社
ガラスラン
8日前
豊田合成株式会社
ガラスラン
8日前
豊田合成株式会社
機器制御装置
8日前
豊田合成株式会社
乗員保護装置
2日前
豊田合成株式会社
車両用内装品
10日前
豊田合成株式会社
乗員保護装置
8日前
豊田合成株式会社
車両用内装品
10日前
豊田合成株式会社
車両用外装品
8日前
豊田合成株式会社
空調用レジスタ
9日前
豊田合成株式会社
電動液体ポンプ
8日前
豊田合成株式会社
電動液体ポンプ
8日前
豊田合成株式会社
電動液体ポンプ
8日前
豊田合成株式会社
電動液体ポンプ
8日前
豊田合成株式会社
立体エアバッグ
8日前
豊田合成株式会社
電動液体ポンプ
8日前
豊田合成株式会社
空調用レジスタ
9日前
豊田合成株式会社
エアバッグ装置
2日前
豊田合成株式会社
空調用レジスタ
9日前
豊田合成株式会社
把持検知システム
4日前
豊田合成株式会社
ステアリング装置
3日前
豊田合成株式会社
ステアリング装置
3日前
豊田合成株式会社
把持検知システム
8日前
豊田合成株式会社
ステアリング装置
2日前
豊田合成株式会社
ステアリング装置
4日前
豊田合成株式会社
コンソールボックス
10日前
豊田合成株式会社
車両用体験システム
3日前
豊田合成株式会社
コンテンツ体験装置
3日前
豊田合成株式会社
コンソールボックス
10日前
豊田合成株式会社
コンソールボックス
10日前
豊田合成株式会社
電磁波透過性積層体
10日前
豊田合成株式会社
車両画像投影システム
12日前
豊田合成株式会社
車両用両開き収容装置
8日前
豊田合成株式会社
助手席用乗員保護装置
3日前
豊田合成株式会社
車両用リッド開閉装置
2日前
豊田合成株式会社
スタックマニホールド
8日前
豊田合成株式会社
車両用リッド開閉装置
2日前
続きを見る
他の特許を見る