TOP
|
特許
|
意匠
|
商標
特許ウォッチ
Twitter
他の特許を見る
公開番号
2025135846
公報種別
公開特許公報(A)
公開日
2025-09-19
出願番号
2024033857
出願日
2024-03-06
発明の名称
流体殺菌装置
出願人
豊田合成株式会社
代理人
弁理士法人あいち国際特許事務所
主分類
A61L
2/10 20060101AFI20250911BHJP(医学または獣医学;衛生学)
要約
【課題】流体の殺菌効率の向上が図られた流体殺菌装置を提供する。
【解決手段】流体殺菌装置1は、紫外光で殺菌される流体が流れる殺菌室60を形成し、殺菌室60に流体を流入させる室流入口12と、殺菌室60から流体を流出させる室流出口13とが開口し、紫外光の透過性がある部材で形成されている殺菌部10と、殺菌室60の一端側から、殺菌室60の流体に紫外光を照射する光源部20と、を備え、室流入口12および室流出口13は、殺菌室60の他端側において、光源部20と対向するように開口しており、室流入口12の開口面積は、室流出口13の開口面積よりも小さくなっている。
【選択図】図1
特許請求の範囲
【請求項1】
流体に紫外光を照射して前記流体を殺菌処理する流体殺菌装置であって、
前記紫外光で殺菌される前記流体が流れる殺菌室を形成し、前記殺菌室に前記流体を流入させる室流入口と、前記殺菌室から前記流体を流出させる室流出口とが開口し、前記紫外光の透過性がある部材で形成されている殺菌部と、
前記殺菌室の一端側から、前記殺菌室の前記流体に前記紫外光を照射する光源部と、を備え、
前記室流入口および前記室流出口は、前記殺菌室の他端側において、前記光源部と対向するように開口しており、
前記室流入口の開口面積は、前記室流出口の開口面積よりも小さくなっている、流体殺菌装置。
続きを表示(約 910 文字)
【請求項2】
前記室流入口は、前記殺菌室に複数個開口しており、
前記室流入口の個々の開口面積は、前記室流出口の開口面積よりも小さくなっている、請求項1に記載の流体殺菌装置。
【請求項3】
前記複数個の室流入口の開口面積の互いの差は10%以下である、請求項2に記載の流体殺菌装置。
【請求項4】
前記殺菌部のうち、前記室流入口よりも前記光源部に近い部位には、前記殺菌室に前記流体を流入させる補助流入口が、前記室流入口とは異なる方向に開口している、請求項1に記載の流体殺菌装置。
【請求項5】
前記室流入口と前記補助流入口との開口面積の合計が、前記室流出口の開口面積よりも大きくなっている、請求項4に記載の流体殺菌装置。
【請求項6】
前記室流入口は、前記殺菌室に複数個開口しており、
前記補助流入口は、前記殺菌室に複数個開口しており、
前記複数個の補助流入口の開口面積の合計は、前記複数個の室流入口の開口面積の合計よりも小さくなっている、請求項4に記載の流体殺菌装置。
【請求項7】
前記複数個の補助流入口の開口面積の合計は、前記複数個の室流入口の開口面積の合計の50%以下である、請求項6に記載の流体殺菌装置。
【請求項8】
前記補助流入口の個々の開口面積は、前記室流入口の個々の開口面積よりも小さくなっている、請求項6に記載の流体殺菌装置。
【請求項9】
前記補助流入口の個々の開口面積は、前記室流入口の個々の開口面積の25%以下である、請求項8に記載の流体殺菌装置。
【請求項10】
前記殺菌部および前記光源部を収容し、前記流体が供給される筐体供給口が形成された筐体を備え、
前記筐体は、前記流体が前記筐体供給口から前記室流入口へと流れるように構成されており、
前記筐体供給口、前記室流入口および前記室流出口の開口面積の互いの差は10%以下である、請求項1ないし9のいずれか1項に記載の流体殺菌装置。
(【請求項11】以降は省略されています)
発明の詳細な説明
【技術分野】
【0001】
本発明は、流体殺菌装置に関する。
続きを表示(約 1,800 文字)
【背景技術】
【0002】
従来、特許文献1には、流体に紫外光を照射して殺菌する流水殺菌装置が開示されている。この従来技術による殺菌装置は、照射チャンバとUV放射源とを備える。照射チャンバは、殺菌対象である流体が流通する内部空間を有している。照射チャンバには、内部空間に流水を流入させるための入口ポートと、内部空間から流水を流出させるための出口ポートと、が設けられている。UV放射源は、内部空間に向けて紫外光を照射する。内部空間を流通する流水は、UV放射源から照射される紫外光によって殺菌される。入口ポートおよび出口ポートは、照射チャンバにおいて、互いに隣り合うように配置されている。
【先行技術文献】
【特許文献】
【0003】
特表2020-530384号公報
【発明の概要】
【発明が解決しようとする課題】
【0004】
上記従来技術では、入口ポートおよび出口ポートが、照射チャンバにおいて、互いに隣り合うように配置されているので、入口ポートから照射チャンバの内部空間に流入した流体が、すぐ隣にある出口ポートから流出しやすくなる。そのため、流体が照射チャンバの内部空間に滞在する時間が短くなってしまうとともので、殺菌効率を向上させることが困難である。
【0005】
本発明は、かかる背景に鑑みてなされたものであり、流体の殺菌効率の向上が図られた流体殺菌装置を提供しようとするものである。
【課題を解決するための手段】
【0006】
本発明の一態様は、
流体に紫外光を照射して前記流体を殺菌処理する流体殺菌装置であって、
前記紫外光で殺菌される前記流体が流れる殺菌室を形成し、前記殺菌室に前記流体を流入させる室流入口と、前記殺菌室から前記流体を流出させる室流出口とが開口し、前記紫外光の透過性がある部材で形成されている殺菌部と、
前記殺菌室の一端側から、前記殺菌室の前記流体に前記紫外光を照射する光源部と、を備え、
前記室流入口および前記室流出口は、前記殺菌室の他端側において、前記光源部と対向するように開口しており、
前記室流入口の開口面積は、前記室流出口の開口面積よりも小さくなっている、流体殺菌装置にある。
【発明の効果】
【0007】
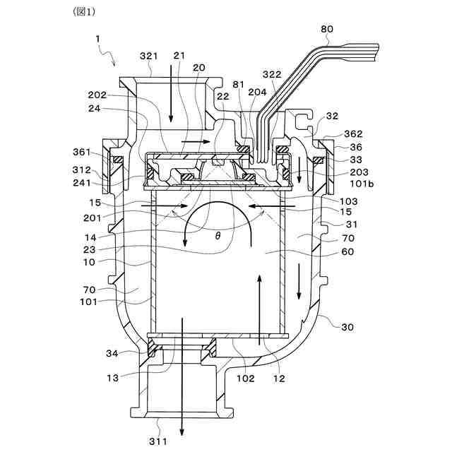
上記態様では、室流入口の開口面積が室流出口の開口面積よりも小さくなっているので、室流入口の開口面積が室流出口の開口面積以上となっている場合と比較して、室流入口から殺菌室に流入した流体の流速および動圧を高くすることができる。室流入口は光源部と対向するように開口しているので、室流入口から殺菌室に流入した流体の流速および動圧が高くなることで、室流入口から殺菌室に流入した流体を光源部の近くまで到達させやすくすることができる。そのため、流体が殺菌室に滞在する時間を長くすることができるので、流体の殺菌効率の向上を図ることができる。
【図面の簡単な説明】
【0008】
実施形態における流体殺菌装置の構成を示した断面図。
実施形態における流体殺菌装置の外観を示した斜視図。
実施形態における流体殺菌装置の外観を示した斜視図。
実施形態における流体殺菌装置の外観を示した斜視図。
【発明を実施するための形態】
【0009】
流体殺菌装置は、流体に紫外光を照射して前記流体を殺菌処理する流体殺菌装置であって、前記紫外光で殺菌される前記流体が流れる殺菌室を形成し、前記殺菌室に前記流体を流入させる室流入口と、前記殺菌室から前記流体を流出させる室流出口とが開口し、前記紫外光の透過性がある部材で形成されている殺菌部と、前記殺菌室の一端側から、前記殺菌室の前記流体に前記紫外光を照射する光源部と、を備え、前記室流入口および前記室流出口は、前記殺菌室の他端側において、前記光源部と対向するように開口しており、前記室流入口の開口面積は、前記室流出口の開口面積よりも小さくなっている。
【0010】
流体殺菌装置において、前記室流入口は、前記殺菌室に複数個開口していて、前記室流入口の個々の開口面積は、前記室流出口の開口面積よりも小さくなっていてもよい。複数個の室流入口の全てにおいて、流体の流速および動圧を高くすることができる。
(【0011】以降は省略されています)
この特許をJ-PlatPat(特許庁公式サイト)で参照する
関連特許
豊田合成株式会社
調光装置
6日前
豊田合成株式会社
乗員保護装置
18日前
豊田合成株式会社
乗員保護装置
12日前
豊田合成株式会社
立体エアバッグ
18日前
豊田合成株式会社
エアバッグ装置
12日前
豊田合成株式会社
ステアリング装置
13日前
豊田合成株式会社
ステアリング装置
12日前
豊田合成株式会社
ステアリング装置
14日前
豊田合成株式会社
車両の前部構造体
6日前
豊田合成株式会社
ステアリング装置
13日前
豊田合成株式会社
把持検知システム
14日前
豊田合成株式会社
車両用体験システム
13日前
豊田合成株式会社
コンテンツ体験装置
13日前
豊田合成株式会社
車両用リッド開閉装置
12日前
豊田合成株式会社
車両用リッド開閉装置
12日前
豊田合成株式会社
スタックマニホールド
18日前
豊田合成株式会社
助手席用乗員保護装置
13日前
豊田合成株式会社
車両用シャッタ式物入れ
4日前
豊田合成株式会社
見切りウェザストリップ
13日前
豊田合成株式会社
カーテンエアバッグ装置
12日前
豊田合成株式会社
歩行相判定支援システム
18日前
豊田合成株式会社
配管用ジョイントユニット
18日前
豊田合成株式会社
ステアリング装置用パッド
12日前
豊田合成株式会社
ステアリング装置用パッド
12日前
豊田合成株式会社
制御装置および制御システム
14日前
豊田合成株式会社
把持を検出する検出システムおよび検出装置、ステアリング
14日前
豊田合成株式会社
木粉繊維強化ポリオレフィン系樹脂組成物及びその製造方法
6日前
豊田合成株式会社
タッチパネル付表示装置及びタッチパネル付表示装置の製造方法
18日前
豊田合成株式会社
シートクッションエアバッグ装置およびシートクッションエアバッグ構造体
14日前
個人
短下肢装具
3か月前
個人
鼾防止用具
8か月前
個人
排尿補助器具
7日前
個人
前腕誘導装置
3か月前
個人
脈波測定方法
8か月前
個人
洗井間専家。
6か月前
個人
嚥下鍛錬装置
3か月前
続きを見る
他の特許を見る