TOP
|
特許
|
意匠
|
商標
特許ウォッチ
Twitter
他の特許を見る
10個以上の画像は省略されています。
公開番号
2025143836
公報種別
公開特許公報(A)
公開日
2025-10-02
出願番号
2024043289
出願日
2024-03-19
発明の名称
空調用レジスタ
出願人
豊田合成株式会社
代理人
個人
,
個人
主分類
B60H
1/34 20060101AFI20250925BHJP(車両一般)
要約
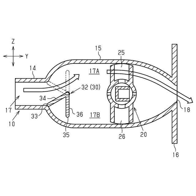
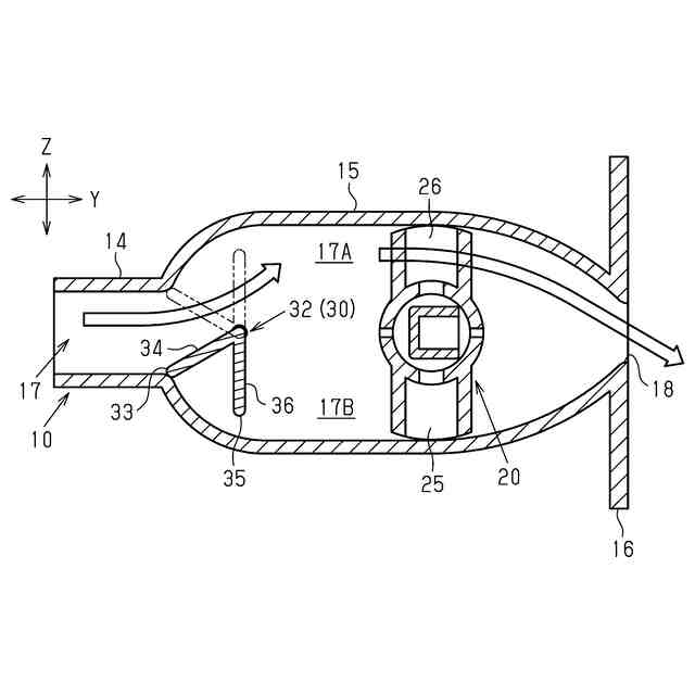
【課題】吹出口から吹き出される空調用空気の風向を変更する状態と、風向を変更しない状態とに切り替えること。
【解決手段】空調用レジスタは、リテーナ10と下流フィンシャフト20とを備える。下流フィンシャフト20は、下流シャフト21と、下流シャフト21の外周面に突設されて第1軸線に直交する仮想平面に対して傾斜している第1下流フィン25とを有する。下流シャフト21の外周面には、下流シャフト21の周方向において第1下流フィン25が設けられていない部分である欠除部27が設けられている。通風路17は、第3方向Zにおける下流シャフト21の一側及び他側にそれぞれ位置する第1通路部17A及び第2通路部17Bを有している。欠除部27は、第1下流フィン25が第2方向Yにおける下流シャフト21の一側または他側に位置するときに、第1通路部17A及び第2通路部17Bに位置するように構成されている。
【選択図】図5
特許請求の範囲
【請求項1】
空調用空気を吹き出す吹出口を含む通風路を有するリテーナと、
前記リテーナ内に設けられたフィンシャフトと、を備えており、
前記フィンシャフトは、
前記吹出口の開口面の面方向である第1方向に延在する軸線を中心に回転可能に構成されたシャフトと、
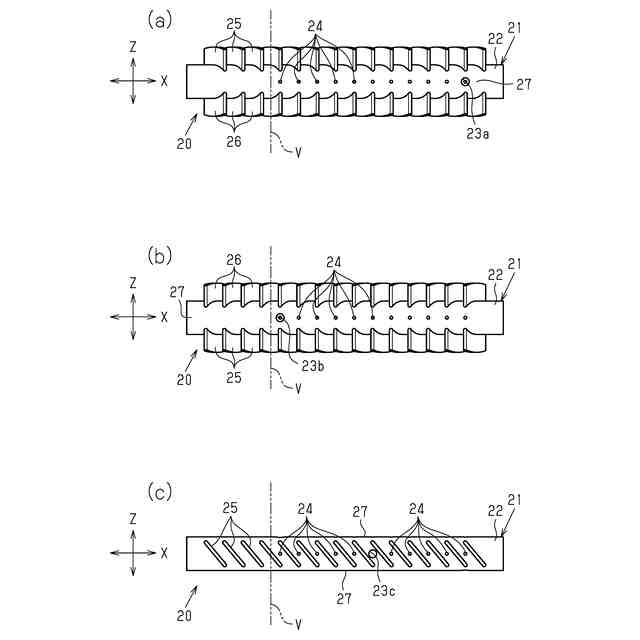
前記シャフトの外周面に突設されて前記軸線に直交する仮想平面に対して傾斜しているフィンと、を有しており、
前記シャフトの外周面には、前記シャフトの周方向において前記フィンが設けられていない部分である欠除部が設けられており、
前記第1方向に直交する方向であり、前記フィンシャフトと前記吹出口との並び方向を第2方向とし、前記第1方向及び前記第2方向の双方に直交する方向を第3方向とするとき、
前記通風路は、前記第3方向における前記シャフトの一側及び他側にそれぞれ位置する第1通路部及び第2通路部を有しており、
前記欠除部は、前記フィンが前記第2方向における前記シャフトの一側または他側に位置するときに、前記第1通路部及び前記第2通路部に位置するように構成されている、
空調用レジスタ。
続きを表示(約 1,200 文字)
【請求項2】
前記フィンを第1フィンとするとき、
前記シャフトの外周面には、前記第1フィンとは前記シャフトを挟んで反対側の部分に突設された第2フィンを有し、
前記第2フィンは、前記仮想平面に対する傾斜方向が前記第1フィンと同一である、
請求項1に記載の空調用レジスタ。
【請求項3】
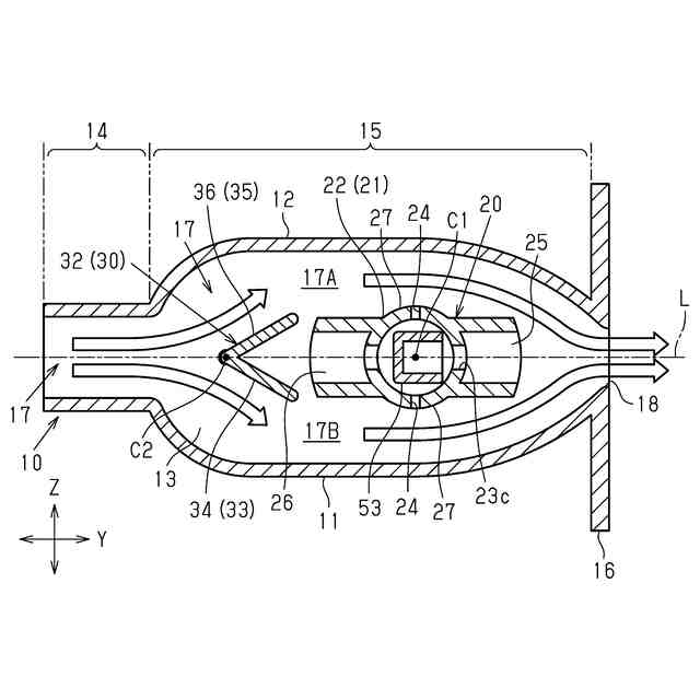
前記フィンシャフト、前記シャフト、及び前記フィンを、それぞれ下流フィンシャフト、下流シャフト、及び下流フィンとするとき、
前記リテーナ内において前記下流フィンシャフトに対して前記吹出口とは反対側に設けられ、前記第1方向に延在する軸線を中心に回転可能に構成された上流フィンを備えており、
前記上流フィンは、
前記第1通路部に対して前記空調用空気の流れを案内するとともに前記第2通路部に前記空調用空気が流れることを規制する第1風向制御位置と、
前記第2通路部に対して前記空調用空気の流れを案内するとともに前記第1通路部に前記空調用空気が流れることを規制する第2風向制御位置と、
前記第1通路部及び前記第2通路部の双方に対して前記空調用空気の流れを案内するニュートラル位置と、に変位可能に構成されている、
請求項1に記載の空調用レジスタ。
【請求項4】
前記下流フィンシャフトの回転変位と前記上流フィンの回転変位とを連動させる連動機構を備えている、
請求項3に記載の空調用レジスタ。
【請求項5】
前記上流フィンは、前記第1方向に延在する第1面及び第2面を有するとともに、前記第1方向に延在する軸線を中心に回転可能に構成されており、
前記リテーナは、
前記下流フィンシャフト及び前記上流フィンを収容するとともに前記吹出口を有する収容部と、
前記収容部における前記空調用空気の流れ方向の上流側に接続されるとともに、前記第3方向に対向する一対の内壁同士の距離が前記収容部よりも小さくされた接続部と、を有しており、
前記第1風向制御位置においては、前記第1面のみが、前記接続部から前記第1通路部に向かうように前記第2方向に対して傾斜して延在し、
前記第2風向制御位置においては、前記第2面のみが、前記接続部から前記第2通路部に向かうように前記第2方向に対して傾斜して延在し、
前記ニュートラル位置においては、前記第2面が、前記接続部から前記第1通路部に向かうように前記第2方向に対して傾斜して延在するとともに、前記第1面が、前記接続部から前記第2通路部に向かうように前記第2方向に対して傾斜して延在する、
請求項3または請求項4に記載の空調用レジスタ。
【請求項6】
前記上流フィンは、前記通風路を遮断する遮断位置に変位可能に構成されている、
請求項3に記載の空調用レジスタ。
発明の詳細な説明
【技術分野】
【0001】
本発明は、空調用レジスタに関する。
続きを表示(約 2,100 文字)
【背景技術】
【0002】
自動車には、空調用空気を車室内に吹き出す空調用レジスタが設けられている(例えば特許文献1参照)。
特許文献1に記載のベント構造は、ケース枠体と、ケース枠体内において回動自在に支持された回転軸部材と、回転軸部材に一体に形成された回転フィン部材とを備えている。回転フィン部材は、回転軸部材に傾斜配置されている。回転軸部材の回動により、回転フィン部材の傾斜方向を変えることで空調用空気の風向が変更される。
【先行技術文献】
【特許文献】
【0003】
特開2009-208496号公報
【発明の概要】
【発明が解決しようとする課題】
【0004】
特許文献1に記載のベント構造においては、回転フィン部材が回転軸部材の全周にわたって設けられているため、回転フィン部材の位相にかかわらず、回転フィン部材により空調用空気の風向が変更される。このため、吹出口から吹き出される空調用空気の風向を変更しない状態、所謂ニュートラル状態に切り替えることができない。
【課題を解決するための手段】
【0005】
上記課題を解決するための空調用レジスタの各態様を記載する。
[態様1]
空調用空気を吹き出す吹出口を含む通風路を有するリテーナと、
前記リテーナ内に設けられたフィンシャフトと、を備えており、
前記フィンシャフトは、
前記吹出口の開口面の面方向である第1方向に延在する軸線を中心に回転可能に構成されたシャフトと、
前記シャフトの外周面に突設されて前記軸線に直交する仮想平面に対して傾斜しているフィンと、を有しており、
前記シャフトの外周面には、前記シャフトの周方向において前記フィンが設けられていない部分である欠除部が設けられており、
前記第1方向に直交する方向であり、前記フィンシャフトと前記吹出口との並び方向を第2方向とし、前記第1方向及び前記第2方向の双方に直交する方向を第3方向とするとき、
前記通風路は、前記第3方向における前記シャフトの一側及び他側にそれぞれ位置する第1通路部及び第2通路部を有しており、
前記欠除部は、前記フィンが前記第2方向における前記シャフトの一側または他側に位置するときに、前記第1通路部及び前記第2通路部に位置するように構成されている、
空調用レジスタ。
【0006】
同構成によれば、フィンが第1通路部に位置しているときには、第1通路部を流れる空調用空気がフィンを通過する際にフィンに沿って流れるようになる。これにより、吹出口を通じて吹き出される空調用空気の風向が第1方向の一側に変更される。
【0007】
また、フィンが第2通路部に位置しているときには、第2通路部を流れる空調用空気がフィンを通過する際にフィンに沿って流れるようになる。ここで、第2通路部に位置しているときのフィンの傾斜方向は、第1通路部に位置しているときのフィンの傾斜方向とは逆方向となる。これにより、吹出口を通じて吹き出される空調用空気の風向が第1方向の他側に変更される。
【0008】
また、上記構成によれば、シャフトの外周面には、シャフトの周方向においてフィンが設けられていない欠除部が設けられている。欠除部は、フィンが第2方向におけるシャフトの一側または他側に位置するときに、第1通路部及び第2通路部に位置する(以下、フィンシャフトのニュートラル位置という)。このとき、空調用空気は、第1通路部及び第2通路部を流れる際に風向の変更を受けることなく吹出口から吹き出される。また、フィンシャフトのニュートラル位置においては、第1通路部や第2通路部にフィンが位置しないので圧力損失が増大することを抑制できる。
【0009】
したがって、吹出口から吹き出される空調用空気の風向を変更する状態と、風向を変更しない状態とに切り替えることができる。
[態様2]
前記フィンを第1フィンとするとき、
前記シャフトの外周面には、前記第1フィンとは前記シャフトを挟んで反対側の部分に突設された第2フィンを有し、
前記第2フィンは、前記仮想平面に対する傾斜方向が前記第1フィンと同一である、
態様1に記載の空調用レジスタ。
【0010】
同構成によれば、第1フィンが第1通路部に位置しているときには、第2フィンが第2通路部に位置する。このため、第1通路部を流れる空調用空気が第1フィンを通過する際に第1フィンに沿って流れるとともに、第2通路部を流れる空調用空気が第2フィンを通過する際に第2フィンに沿って流れるようになる。ここで、第2フィンは、仮想平面に対する傾斜方向が第1フィンと同一である。これにより、吹出口を通じて吹き出される空調用空気の風向が第1方向の一側に変更される。
(【0011】以降は省略されています)
この特許をJ-PlatPat(特許庁公式サイト)で参照する
関連特許
豊田合成株式会社
積層体
8日前
豊田合成株式会社
調光装置
17日前
豊田合成株式会社
殺菌装置
1か月前
豊田合成株式会社
着座装置
1か月前
豊田合成株式会社
ガラスラン
1か月前
豊田合成株式会社
ガラスラン
29日前
豊田合成株式会社
ガラスラン
29日前
豊田合成株式会社
半導体素子
1か月前
豊田合成株式会社
車両用ビーム
3日前
豊田合成株式会社
樹脂成形装置
1か月前
豊田合成株式会社
乗員保護装置
29日前
豊田合成株式会社
車両用外装品
29日前
豊田合成株式会社
機器制御装置
29日前
豊田合成株式会社
流体殺菌装置
1か月前
豊田合成株式会社
車両用内装品
1か月前
豊田合成株式会社
流体殺菌装置
1か月前
豊田合成株式会社
車両用外装品
2日前
豊田合成株式会社
車両用外装品
4日前
豊田合成株式会社
乗員保護装置
23日前
豊田合成株式会社
乗員保護装置
4日前
豊田合成株式会社
検知システム
3日前
豊田合成株式会社
車両用ビーム
3日前
豊田合成株式会社
車両用内装品
1か月前
豊田合成株式会社
エアバッグ装置
23日前
豊田合成株式会社
立体エアバッグ
29日前
豊田合成株式会社
車両用照明装置
10日前
豊田合成株式会社
車両用投影装置
10日前
豊田合成株式会社
空調用レジスタ
1か月前
豊田合成株式会社
空調用レジスタ
1か月前
豊田合成株式会社
電動液体ポンプ
29日前
豊田合成株式会社
空調用レジスタ
1か月前
豊田合成株式会社
立体エアバッグ
1か月前
豊田合成株式会社
電動液体ポンプ
29日前
豊田合成株式会社
車両用投影装置
4日前
豊田合成株式会社
電動液体ポンプ
29日前
豊田合成株式会社
電動液体ポンプ
29日前
続きを見る
他の特許を見る