TOP
|
特許
|
意匠
|
商標
特許ウォッチ
Twitter
他の特許を見る
10個以上の画像は省略されています。
公開番号
2025134427
公報種別
公開特許公報(A)
公開日
2025-09-17
出願番号
2024032317
出願日
2024-03-04
発明の名称
着座装置
出願人
豊田合成株式会社
,
トヨタ紡織株式会社
代理人
個人
主分類
B60N
2/427 20060101AFI20250909BHJP(車両一般)
要約
【課題】前方にエアバッグ装置を備えなくとも、着座した乗員を的確に拘束可能な着座装置。
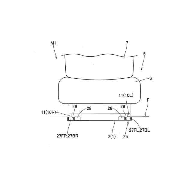
【解決手段】車両に搭載されて、着座した乗員MPを保護可能とされる着座装置M1。背もたれ部7と座部6とを有するシート本体5と、シート本体の下方に配置されて、作動時に、少なくとも座部の後端6b側の領域を、上方へ持ち上げ可能とする持ち上げ機構25と、を備える。持ち上げ機構が、シート本体への乗員の着座状態の検知時に、座部を上方へ持ち上げるように作動可能とし、かつ、乗員の前方から作用する衝撃力の検知時に、前記座部の持ち上げ状態を解除可能に、構成されている。
【選択図】図8
特許請求の範囲
【請求項1】
車両に搭載されて、着座した乗員を保護可能とされる着座装置であって、
背もたれ部と座部とを有するシート本体と、
該シート本体の下方に配置されて、作動時に、少なくとも前記座部の後端側の領域を、上方へ持ち上げ可能とする持ち上げ機構と、
を備えて、
該持ち上げ機構が、前記シート本体への前記乗員の着座状態の検知時に、前記座部を上方へ持ち上げるように作動可能とし、かつ、前記乗員の前方から作用する衝撃力の検知時に、前記座部の持ち上げ状態を解除可能に、構成されていることを特徴とする着座装置。
続きを表示(約 740 文字)
【請求項2】
前記シート本体が、前記座部に対する前記背もたれ部の角度を調整可能なリクライニング機構を備えるとともに、三点拘束式のシートベルトを取り付ける構成とされ、
前記持ち上げ機構が、前記シート本体への前記乗員の着座時において、前記シートベルトの装着状態と、前記背もたれ部を前記座部に対して後傾させたリクライニング状態と、を検知した際に、前記座部を上方へ持ち上げるように作動可能に、構成されていることを特徴とする請求項1に記載の着座装置。
【請求項3】
前記持ち上げ機構が、作動時に、前記座部を、前後の全域にわたって上方へ持ち上げ可能な構成とされていることを特徴とする請求項2に記載の着座装置。
【請求項4】
前記持ち上げ機構が、前記座部の左右両端側における下方に配置されるとともに、作動時に、上下方向に沿って配置されることにより、前記座部を持ち上げる左右一対のアーム部を、有する構成とされて、
該アーム部が、前記衝撃力の作用時に、前記座部を押し上げている上端側部位を前方に向けるように回転移動することにより、前記座部の持ち上げ状態を解除する構成とされていることを特徴とする請求項3に記載の着座装置。
【請求項5】
前記持ち上げ機構が、作動時に、前記座部の前端側と後端側とを持ち上げ可能に構成されるとともに、前端側の持ち上げ量を、後端側の持ち上げ量よりも大きくするように、構成されていることを特徴とする請求項3または4に記載の着座装置。
【請求項6】
前記持ち上げ機構が、前記衝撃力の作用時に、前記アーム部の回転移動を遅らせるような遅延手段を、有していることを特徴とする請求項2に記載の着座装置。
発明の詳細な説明
【技術分野】
【0001】
本発明は、車両に搭載されて、着座した乗員を保護可能な着座装置に関する。
続きを表示(約 2,600 文字)
【背景技術】
【0002】
従来、車両のシートに着座している乗員を保護可能な装置としては、着座している乗員を拘束可能なシートベルトがあった。具体的には、例えば、作動時に、所定の荷重でシートベルトを引張可能とされる構成の乗員保護装置があった(例えば、特許文献1参照)。具体的には、この従来の乗員保護装置では、車両の衝突検知時(前面衝突検知時)に、シートベルトを引っ張るように作動させることにより、乗員をシートに対して拘束していた。
【先行技術文献】
【特許文献】
【0003】
特開2002-145015公報
【発明の概要】
【発明が解決しようとする課題】
【0004】
通常、車両の前面衝突時には、腰部をラップベルトによって拘束された状態でシートに着座している乗員の上半身は、慣性力を受けて、大腿部側に向かって倒れ込むように移動することとなる。ラップベルトが腰部に対してきつく巻き付いている場合、腰部がシート(座部)に対して固定されるような態様となることから、例えば、車両衝突時に、乗員に対して作用する衝撃力が大きい場合、上半身が大腿部側に向かって倒れ込むように移動する際に、上半身(具体的には胸部付近の領域)と大腿部との間の距離が急激に縮まるような態様となって、胸部と大腿部との間に位置する脊椎(腰椎)に係る荷重も大きくなり、腰椎にかかる負荷が過大となる場合があった。また、逆に、ラップベルトの腰部に対する巻き付きが比較的緩い場合、車両の前面衝突時に、腰部がシート(座部)に対して前方にむかってずれ移動して、乗員の腹部にラップベルトが食い込んでしまう場合があり、共に、乗員を的確に保護する点に、改善の余地があった。
【0005】
本発明は、上述の課題を解決するものであり、着座した乗員を的確に保護可能な着座装置を提供することを目的とする。
【課題を解決するための手段】
【0006】
本発明に係る着座装置は、車両に搭載されて、着座した乗員を保護可能とされる着座装置であって、
背もたれ部と座部とを有するシート本体と、
シート本体の下方に配置されて、作動時に、少なくとも座部の後端側の領域を、上方へ持ち上げ可能とする持ち上げ機構と、
を備えて、
持ち上げ機構が、シート本体への乗員の着座状態の検知時に、座部を上方へ持ち上げるように作動可能とし、かつ、乗員の前方から作用する衝撃力の検知時に、座部の持ち上げ状態を解除可能に、構成されていることを特徴とする。
【0007】
本発明の着座装置では、乗員がシート本体に着座している状態で、シート本体における座部の少なくとも後端側の領域が、持ち上げ機構を作動させることにより、フロアに対して上方に持ち上げられた状態となる。そして、このような状態で、乗員の前方から衝撃力が作用すると、座部が、持ち上げ機構による持ち上げ状態を解除されることとなる。すなわち、本発明の着座装置では、前方からの衝撃力の作用時に、座部が、少なくとも後端側の領域を、下降移動されるような態様となる。このとき、座部の後端側の領域の下降移動に伴って、シート本体に着座している乗員の腰部付近の部位も、瞬時に、下降移動することとなる。前方からの衝撃力の作用時には、シート(シート本体)に着座している乗員の上半身は、上述したごとく、慣性力を受けて、大腿部側に向かって倒れ込むように移動することとなるが、本発明の着座装置では、前方からの衝撃力の作用時において、上半身が、大腿部側に向かって倒れ込むように前下方に向かって移動する際に、乗員の腰部も、座部の後端付近とともに、下降移動することとなる。すなわち、本発明の着座装置では、上半身(具体的には胸部付近の領域)が大腿部側に向かうように移動する際に、この胸部付近の領域と、腰部と、の間の距離が縮まり難いことから、胸部付近の領域が大腿部側に急激に接近することを抑制できて、胸部と大腿部との間に位置する脊椎(腰椎)にかかる荷重も軽減させることができる。また、本発明の着座装置では、座部の下降移動時に、乗員の腰部付近の部位も、座部に伴って下降移動することとなるが、両者の間には、瞬時ではあるもののタイムラグが生じることとなる。そのため、仮に腰部がシートに対して前方にむかってずれ移動することとなっても、乗員の腹部にラップベルトが食い込むことを、抑制することができる。
【0008】
したがって、本発明の着座装置では、着座した乗員を的確に保護することができる。
【0009】
また、本発明の着座装置において、シート本体を、座部に対する背もたれ部の角度を調整可能なリクライニング機構を備えるとともに、三点拘束式のシートベルトを取り付ける構成とし、
持ち上げ機構を、シート本体への乗員の着座時において、シートベルトの装着状態と、背もたれ部を座部に対して後傾させたリクライニング状態と、を検知した際に、座部を上方へ持ち上げるように作動可能に、構成することが、好ましい。
【0010】
着座装置を上記構成とすれば、乗員がリクライニング状態のシート本体に着座している状態で、シート本体における座部の少なくとも後端側の領域が、フロアに対して上方に持ち上げられた状態となる。リクライニング状態のシートに着座している場合、背もたれ部を通常位置に配置させたシートに着座している通常着座状態の場合と比較して、上半身(胸部付近の領域)の移動量が大きいことから、通常着座状態の場合と比較して、胸部付近の領域が大腿部側に接近する際に脊椎(腰椎)にかかる荷重も大きくなるが、上記構成の着座装置では、前方からの衝撃力の作用時において、上半身が、大腿部側に向かって倒れ込むように前下方に向かって移動する際に、シートベルトによって拘束されている乗員の腰部も、座部の後端付近とともに、下降移動することから、胸部付近の領域が大腿部側に急激に接近することを抑制できて、上半身の移動量が大きくとも、脊椎にかかる荷重を軽減させることができる。そのため、リクライニング状態のシート本体に着座していても、乗員を的確に拘束することができる。
(【0011】以降は省略されています)
この特許をJ-PlatPat(特許庁公式サイト)で参照する
関連特許
豊田合成株式会社
着座装置
25日前
豊田合成株式会社
殺菌装置
23日前
豊田合成株式会社
ガラスラン
16日前
豊田合成株式会社
ガラスラン
9日前
豊田合成株式会社
ガラスラン
9日前
豊田合成株式会社
乗員保護装置
9日前
豊田合成株式会社
流体殺菌装置
23日前
豊田合成株式会社
流体殺菌装置
23日前
豊田合成株式会社
樹脂成形装置
17日前
豊田合成株式会社
車両用内装品
11日前
豊田合成株式会社
車両用内装品
11日前
豊田合成株式会社
車両用外装品
9日前
豊田合成株式会社
機器制御装置
9日前
豊田合成株式会社
乗員保護装置
3日前
豊田合成株式会社
エアバッグ装置
3日前
豊田合成株式会社
電動液体ポンプ
9日前
豊田合成株式会社
立体エアバッグ
24日前
豊田合成株式会社
空調用レジスタ
10日前
豊田合成株式会社
空調用レジスタ
10日前
豊田合成株式会社
空調用レジスタ
10日前
豊田合成株式会社
電動液体ポンプ
9日前
豊田合成株式会社
電動液体ポンプ
9日前
豊田合成株式会社
電動液体ポンプ
9日前
豊田合成株式会社
電動液体ポンプ
9日前
豊田合成株式会社
立体エアバッグ
9日前
豊田合成株式会社
ステアリング装置
4日前
豊田合成株式会社
把持検知システム
9日前
豊田合成株式会社
ステアリング装置
5日前
豊田合成株式会社
ステアリング装置
3日前
豊田合成株式会社
車両の音出力装置
13日前
豊田合成株式会社
ステアリング装置
4日前
豊田合成株式会社
把持検知システム
5日前
豊田合成株式会社
コンソールボックス
11日前
豊田合成株式会社
電磁波透過性積層体
11日前
豊田合成株式会社
コンソールボックス
11日前
豊田合成株式会社
コンソールボックス
11日前
続きを見る
他の特許を見る