TOP
|
特許
|
意匠
|
商標
特許ウォッチ
Twitter
他の特許を見る
公開番号
2025149627
公報種別
公開特許公報(A)
公開日
2025-10-08
出願番号
2024050380
出願日
2024-03-26
発明の名称
ステアリング装置
出願人
豊田合成株式会社
代理人
個人
主分類
B62D
1/06 20060101AFI20251001BHJP(鉄道以外の路面車両)
要約
【課題】発熱体としてカーボンナノチューブを用いつつ、発熱体の組み付け性の悪化を抑制することができるステアリング装置を提供する。
【解決手段】ステアリングホイール10は、操舵時に運転者Mに把持される把持部1と、把持部1の内部に設けられ、通電することにより発熱する発熱体であって、繊維が編まれて形成されたニット体20に担持されたカーボンナノチューブ22で構成された発熱体と、発熱体を通電させる電極部20bとを備える。
【選択図】図7
特許請求の範囲
【請求項1】
移動体に搭載されるステアリング装置において、
操舵時に運転者に把持される把持部と、
前記把持部の内部に設けられ、通電することにより発熱する発熱体であって、繊維が編まれて形成されたニット体に担持されたカーボンナノチューブで構成された発熱体と、
前記発熱体を通電させる電極部と、
を備えることを特徴とするステアリング装置。
続きを表示(約 910 文字)
【請求項2】
前記把持部は芯材を備え、
前記ニット体は、袋状に形成されており、袋の内部に前記芯材を収容するように前記芯材に被せられることによって前記把持部に組み付けられていることを特徴とする請求項1に記載のステアリング装置。
【請求項3】
前記ニット体は緯編によって形成されており、該緯編の緯方向が前記把持部の回転方向と沿うように配置されていることを特徴とする請求項1又は2に記載のステアリング装置。
【請求項4】
前記ニット体は丸編みによって形成されていることを特徴とする請求項3に記載のステアリング装置。
【請求項5】
前記電極部の陽極と陰極は、前記把持部の周方向に並んで配置されていることを特徴とする請求項1又は2に記載のステアリング装置。
【請求項6】
前記電極部は、前記ニット体を形成する前記繊維の少なくとも一部を構成する導電糸であることを特徴とする請求項5に記載のステアリング装置。
【請求項7】
移動体に搭載されるステアリング装置において、
操舵時に運転者に把持される把持部と、
前記把持部の内部に設けられ、通電することにより発熱する発熱体であって、繊維状のカーボンナノチューブが編まれて形成されたニット体で構成された発熱体と、
前記発熱体を通電させる電極部と、
を備えることを特徴とするステアリング装置。
【請求項8】
前記把持部は芯材を備え、
前記ニット体は、袋状に形成されており、袋の内部に前記芯材を収容するように前記芯材に被せられることによって前記把持部に組み付けられていることを特徴とする請求項7に記載のステアリング装置。
【請求項9】
前記ニット体は緯編によって形成されており、該緯編の緯方向が前記把持部の回転方向と沿うように配置されていることを特徴とする請求項7又は8に記載のステアリング装置。
【請求項10】
前記ニット体は丸編みによって形成されていることを特徴とする請求項9に記載のステアリング装置。
発明の詳細な説明
【技術分野】
【0001】
本発明は、運転者が把持する把持部の内部に発熱体を備えるステアリング装置に関する。
続きを表示(約 1,400 文字)
【背景技術】
【0002】
従来から冬季の寒さ対策として、特許文献1に記載のように、ステアリング装置としてのステアリングホイールにおける運転者が把持する把持部の内部に、通電することによって発熱する発熱体を設ける構成が知られている。特許文献1に記載の発熱体は、樹脂製の基材上に設けられた金属製のヒータ線で構成されている。
【先行技術文献】
【特許文献】
【0003】
特開2018-002101号公報
【発明の概要】
【発明が解決しようとする課題】
【0004】
カーボンナノチューブは軽量且つ導電性や熱伝導性や遠赤外線の輻射熱効果に優れた材料であるため、発熱体として金属を使用する代わりに、カーボンナノチューブを使用する構成が考えられる。しかしカーボンナノチューブは硬い素材である。そのため、例えば単に基材上にカーボンナノチューブを一様に担持させて把持部に組み付ける場合、基材を曲げて把持部の曲面に沿わせる際にカーボンナノチューブが割れる等、発熱体の組み付け性が悪化するおそれがある。
【0005】
そこで本発明は、発熱体としてカーボンナノチューブを用いつつ、発熱体の組み付け性の悪化を抑制することができるステアリング装置を提供することを目的とする。
【課題を解決するための手段】
【0006】
上記課題を解決するための本発明に係るステアリング装置の代表的な構成は、移動体に搭載されるステアリング装置において、操舵時に運転者に把持される把持部と、前記把持部の内部に設けられ、通電することにより発熱する発熱体であって、繊維が編まれて形成されたニット体に担持されたカーボンナノチューブで構成された発熱体と、前記発熱体を通電させる電極部と、を備えることを特徴とする。
【0007】
本発明によれば、ステアリング装置において、発熱体としてカーボンナノチューブを用いつつ、発熱体の組み付け性の悪化を抑制することができる。
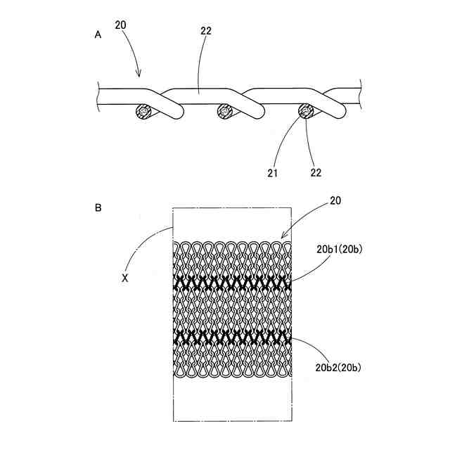
【図面の簡単な説明】
【0008】
ステアリングホイールを搭載した車両の運転席の周囲を左側から見た図である。
ステアリングホイールの正面図である。
ステアリングホイールの把持部の断面図である。
把持部のニット体の斜視図である。
ニット体を平らに展開した展開図である。
ニット体の断面図と拡大図である。
ニット体を把持部に組み付ける際の様子を示す模式図である。
【発明を実施するための形態】
【0009】
以下、本発明の一実施形態に係るステアリング装置について図面を参照しながら説明する。なお、以下に記載されている構成部品の寸法、材質、形状、その相対配置などは、特に特定的な記載がない限りは、この発明の範囲をそれらのみに限定する趣旨のものではない。
【0010】
図1は、ステアリング装置としてのステアリングホイール10を搭載した車両50(移動体)の運転席59の周囲を左側から見た図であり、運転席59に着座する運転者Mを二点鎖線で示している。図2は、ステアリングホイール10の正面図であり、内部構成を見やすくするためにアッパカバー3xを透明化して外形線のみを二点鎖線で示している。図3は、ステアリングホイール10の把持部1を図2に示すA1-A1断面で切断した断面図である。
(【0011】以降は省略されています)
この特許をJ-PlatPat(特許庁公式サイト)で参照する
関連特許
豊田合成株式会社
積層体
1か月前
豊田合成株式会社
調光装置
6日前
豊田合成株式会社
調光装置
1か月前
豊田合成株式会社
調光装置
19日前
豊田合成株式会社
半導体素子
19日前
豊田合成株式会社
車両用ビーム
28日前
豊田合成株式会社
車両用外装品
27日前
豊田合成株式会社
乗員保護装置
29日前
豊田合成株式会社
車両用外装品
29日前
豊田合成株式会社
検知システム
28日前
豊田合成株式会社
車両用ビーム
28日前
豊田合成株式会社
流体殺菌装置
6日前
豊田合成株式会社
乗員保護装置
1か月前
豊田合成株式会社
車両用投影装置
1か月前
豊田合成株式会社
車両用投影装置
29日前
豊田合成株式会社
車両用発光装置
19日前
豊田合成株式会社
車両用発光装置
19日前
豊田合成株式会社
車両用発光装置
19日前
豊田合成株式会社
車両用照明装置
1か月前
豊田合成株式会社
エアバッグ装置
1か月前
豊田合成株式会社
ステアリング装置
1か月前
豊田合成株式会社
車両用ホルダ装置
今日
豊田合成株式会社
車両の音出力装置
1か月前
豊田合成株式会社
ステアリング装置
1か月前
豊田合成株式会社
空調用レジスター
29日前
豊田合成株式会社
車両用空調ダクト
28日前
豊田合成株式会社
車両画像投影装置
1か月前
豊田合成株式会社
車両の前部構造体
1か月前
豊田合成株式会社
車両用ホルダ装置
今日
豊田合成株式会社
ステアリング装置
1か月前
豊田合成株式会社
車両用ホルダ装置
今日
豊田合成株式会社
車内照明システム
19日前
豊田合成株式会社
車内照明システム
19日前
豊田合成株式会社
ステアリング装置
6日前
豊田合成株式会社
ステアリング装置
6日前
豊田合成株式会社
ステアリング装置
6日前
続きを見る
他の特許を見る