TOP
|
特許
|
意匠
|
商標
特許ウォッチ
Twitter
他の特許を見る
公開番号
2025161424
公報種別
公開特許公報(A)
公開日
2025-10-24
出願番号
2024064596
出願日
2024-04-12
発明の名称
車両画像投影装置
出願人
豊田合成株式会社
代理人
弁理士法人平田国際特許事務所
主分類
G03B
21/14 20060101AFI20251017BHJP(写真;映画;光波以外の波を使用する類似技術;電子写真;ホログラフイ)
要約
【課題】投影像の演出の自由度を高めることができる車両画像投影装置を提供する。
【解決手段】車両画像投影装置1は、投影光220を出力する光源部22、柄262を有する柄プレート26、及び柄プレート26を透過した投影光220に基づいて柄262を拡大した投影像9を投影面90に投影する投影レンズ28を有する投影部2と、柄プレート26及び投影レンズ28の少なくとも一方を駆動して柄プレート26及び投影レンズ28間の距離を変更し、投影像9が結像する結像位置29を変える駆動部3と、駆動部3を制御し、結像位置29を変えて同一の投影面90において投影像9の結像状態を連続的に切り替える制御部4と、を備えて概略構成されている。
【選択図】図1
特許請求の範囲
【請求項1】
投影光を出力する光源部、柄を有する柄プレート、及び前記柄プレートを透過した前記投影光に基づいて前記柄を拡大した投影像を投影面に投影する投影レンズを有する投影部と、
前記柄プレート及び前記投影レンズの少なくとも一方を駆動して前記柄プレート及び前記投影レンズ間の距離を変更し、前記投影像が結像する結像位置を変える駆動部と、
前記駆動部を制御し、前記結像位置を変えて同一の前記投影面において前記投影像の結像状態を連続的に切り替える制御部と、
を備えた車両画像投影装置。
続きを表示(約 570 文字)
【請求項2】
投影光を出力する光源部、柄を有する柄プレート、及び前記柄プレートを透過した前記投影光に基づいて前記柄を拡大した投影像を投影面に投影する投影レンズの組み合わせを複数有し、それぞれの前記投影像の結像位置が異なる投影部と、
前記投影部の前記光源部、前記柄プレート及び前記投影レンズの組み合わせから選択して前記結像位置を変えて同一の前記投影面において前記投影像の結像状態を段階的に切り替える制御部と、
を備えた車両画像投影装置。
【請求項3】
前記駆動部は、前記柄プレートを駆動して前記距離を変更する、
請求項1に記載の車両画像投影装置。
【請求項4】
前記制御部は、前記光源部の出力と前記距離とを連動して変化させた前記投影像を投影させる、
請求項3に記載の車両画像投影装置。
【請求項5】
前記制御部は、前記投影像の結像状態を切り替えることで、前記投影像のフェードイン及びフェードアウトの少なくとも1つを実施する、
請求項1乃至4のいずれか1項に記載を車両画像投影装置。
【請求項6】
前記投影部は、車両の内部に配置され、
前記投影面は、前記車両の内装部品の面である、
請求項5に記載の車両画像投影装置。
発明の詳細な説明
【技術分野】
【0001】
本発明は、車両画像投影装置に関する。
続きを表示(約 1,800 文字)
【背景技術】
【0002】
従来の技術として、カバーの背面側からカバーに向けて画像の投影光を照射する投影手段と、投影手段から照射される投影光の焦点を、カバーの位置に合った状態から、投影光が進行する経路上に位置する車両内の所定部位の位置に合った状態に切り替える焦点切替手段と、を備えた表示装置が知られている(例えば、特許文献1参照。)。
【0003】
表示装置は、焦点がカバーの位置に合った状態から所定部位の位置に合った状態に切り替えることで、カバーを透過して所定部位に照射された投影光であらわされた画像を所定部位に投影することができる。この表示装置のカバーは、所定部位に画像が投影されている時には、投影光の透過により多少明るくなる可能性があるが、画像は表示されない。
【先行技術文献】
【特許文献】
【0004】
特開2016-053622号公報
【発明の概要】
【発明が解決しようとする課題】
【0005】
従来の表示装置は、カバーの位置に焦点が合った状態や所定部位の位置に焦点が合った状態を切り替えるものであって、焦点を変えることで同じ位置に投影された画像に対する新たな演出をユーザに提示するものではない。
【0006】
従って本発明の目的は、投影像の演出の自由度を高めることができる車両画像投影装置を提供することにある。
【課題を解決するための手段】
【0007】
本発明の一態様は、投影光を出力する光源部、柄を有する柄プレート、及び柄プレートを透過した投影光に基づいて柄を拡大した投影像を投影面に投影する投影レンズを有する投影部と、柄プレート及び投影レンズの少なくとも一方を駆動して柄プレート及び投影レンズ間の距離を変更し、投影像が結像する結像位置を連続的に変える駆動部と、駆動部を制御し、結像位置を変えて同一の投影面において投影像の結像状態を連続的に切り替える制御部と、を備えた車両画像投影装置を提供する。
【0008】
本発明の他の態様は、投影光を出力する光源部、柄を有する柄プレート、及び柄プレートを透過した投影光に基づいて柄を拡大した投影像を投影面に投影する投影レンズの組み合わせを複数有し、それぞれの投影像の結像位置が異なる投影部と、投影部の光源部、柄プレート及び投影レンズの組み合わせから選択して結像位置を変えて同一の投影面において投影像の結像状態を段階的に切り替える制御部と、を備えた車両画像投影装置を提供する。
【発明の効果】
【0009】
本発明によれば、投影像の演出の自由度を高めることができる。
【図面の簡単な説明】
【0010】
図1(a)は、第1の実施の形態に係る車両画像投影装置の結像位置の一例を説明するための図であり、図1(b)は、変形例に係る結像位置と柄プレートの位置の関係の一例を説明するための図である。
図2(a)は、第1の実施の形態に係る車両画像投影装置の配置と内装部品の一例を説明するための図であり、図2(b)は、車両画像投影装置のブロック図の一例であり、図2(c)は、車両画像投影装置の一例を示す図である。
図3(a)は、第1の実施の形態に係る車両画像投影装置が投影するピントが合う結像状態の投影像の一例を示す図であり、図3(b)は、ピントがずれた結像状態の投影像の一例を示す図であり、図3(c)は、さらにピントがずれた結像状態の投影像の一例を示す図である。
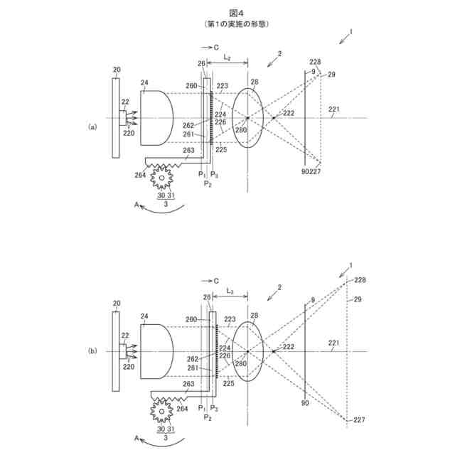
図4(a)は、第1の実施の形態に係る車両画像投影装置の柄プレートと投影レンズ間の第2の距離の一例を説明するための図であり、図4(b)は、柄プレートと投影レンズ間の第3の距離の一例を説明するための図である。
図5(a)は、第2の実施の形態に係る車両画像投影装置の一例を示す図であり、図5(b)は、車両画像投影装置のブロック図の一例である。
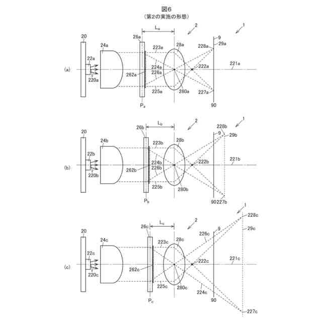
図6(a)~図6(c)は、第2の実施の形態に係る車両画像投影装置の柄プレート及び投影レンズの距離と結像位置の一例について説明するための図である。
【発明を実施するための形態】
(【0011】以降は省略されています)
この特許をJ-PlatPat(特許庁公式サイト)で参照する
関連特許
豊田合成株式会社
積層体
28日前
豊田合成株式会社
調光装置
1か月前
豊田合成株式会社
調光装置
14日前
豊田合成株式会社
調光装置
1日前
豊田合成株式会社
半導体素子
14日前
豊田合成株式会社
車両用外装品
24日前
豊田合成株式会社
乗員保護装置
24日前
豊田合成株式会社
流体殺菌装置
1日前
豊田合成株式会社
車両用ビーム
23日前
豊田合成株式会社
車両用ビーム
23日前
豊田合成株式会社
車両用外装品
22日前
豊田合成株式会社
検知システム
23日前
豊田合成株式会社
乗員保護装置
1か月前
豊田合成株式会社
車両用発光装置
14日前
豊田合成株式会社
エアバッグ装置
1か月前
豊田合成株式会社
車両用投影装置
24日前
豊田合成株式会社
車両用発光装置
14日前
豊田合成株式会社
車両用照明装置
1か月前
豊田合成株式会社
車両用投影装置
1か月前
豊田合成株式会社
車両用発光装置
14日前
豊田合成株式会社
車両画像投影装置
28日前
豊田合成株式会社
車内照明システム
14日前
豊田合成株式会社
空調用レジスター
24日前
豊田合成株式会社
ステアリング装置
1日前
豊田合成株式会社
ステアリング装置
1日前
豊田合成株式会社
ステアリング装置
1日前
豊田合成株式会社
ステアリング装置
1日前
豊田合成株式会社
車両用空調ダクト
23日前
豊田合成株式会社
ステアリング装置
1か月前
豊田合成株式会社
車両の音出力装置
1か月前
豊田合成株式会社
車両の前部構造体
1か月前
豊田合成株式会社
車内照明システム
14日前
豊田合成株式会社
車両用カップホルダ
29日前
豊田合成株式会社
モーションレジスタ
24日前
豊田合成株式会社
車内用発光表示装置
28日前
豊田合成株式会社
車両用非接触充電装置
14日前
続きを見る
他の特許を見る