TOP
|
特許
|
意匠
|
商標
特許ウォッチ
Twitter
他の特許を見る
公開番号
2025163441
公報種別
公開特許公報(A)
公開日
2025-10-29
出願番号
2024066689
出願日
2024-04-17
発明の名称
車両用ビーム
出願人
豊田合成株式会社
代理人
個人
,
個人
主分類
B62D
25/08 20060101AFI20251022BHJP(鉄道以外の路面車両)
要約
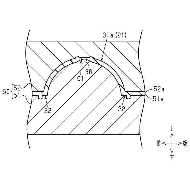
【課題】ビーム分割体の変形を抑制できる車両用ビームを提供する。
【解決手段】ビーム10は、インストルメントパネル内で車幅方向に延びるとともに、車幅方向の両端が車体に取り付けられる円筒状のビーム本体30を備える。ビーム本体30は、ビーム本体30の周方向において分割された2つの樹脂製のビーム半割体30a,30bから構成されている。ビーム半割体30a,30bの上記周方向における中央部C1,C2には、上記周方向における他の部分よりも薄肉な薄肉部36が設けられている。
【選択図】図4
特許請求の範囲
【請求項1】
インストルメントパネル内で車幅方向に延びるとともに、前記車幅方向の両端が車体に取り付けられる円筒状のビーム本体を備える車両用ビームであって、
前記ビーム本体は、前記ビーム本体の周方向において分割された複数の樹脂製のビーム分割体から構成されており、
前記ビーム分割体の前記周方向における中央部には、前記周方向における他の部分よりも薄肉な薄肉部が設けられている、
車両用ビーム。
続きを表示(約 210 文字)
【請求項2】
前記薄肉部は、前記周方向において前記薄肉部の中央部に近づくほど薄肉にされている、
請求項1に記載の車両用ビーム。
【請求項3】
前記ビーム本体は、前記車幅方向に延びて空調装置からの空調用空気が流れる流路を形成するダクト部を有しており、
前記薄肉部は、前記ビーム分割体の内面が窪むことにより形成されている、
請求項1または請求項2に記載の車両用ビーム。
発明の詳細な説明
【技術分野】
【0001】
本発明は、車両用ビームに関する。
続きを表示(約 1,400 文字)
【背景技術】
【0002】
特許文献1には、自動車の車体フレームに固定されて当該車体フレームを補強する金属製のリンフォースメントメンバーが記載されている。このリンフォースメントメンバーは、ダッシュパネルとインストルメントパネルとの間の内部空間を車幅方向に横切るように架設されている。
【0003】
リンフォースメントメンバーには、インストルメントパネル、ステアリング装置、エアバッグ等の各種部品が連結具及び取付部材を介して取り付けられている。連結具及び取付部材は、リンフォースメントメンバーから多肢状に延出している。
【0004】
こうしたリンフォースメントメンバーは、多方向から入力される荷重を好適に分散させるために、円筒状に形成されている。
特許文献2には、樹脂製のビーム本体を有するステアリングサポートビームが記載されている。ビーム本体は、周方向において2つの分割体に分割されている。
【0005】
こうしたステアリングサポートビームは、金属材料により形成する場合に比べてステアリングサポートビーム、ひいては車両の軽量化が可能となる。
【先行技術文献】
【特許文献】
【0006】
特開2017-154597号公報
特開2004-345396号公報
【発明の概要】
【発明が解決しようとする課題】
【0007】
ところで、特許文献1に記載のリンフォースメントメンバーを樹脂製とする場合、特許文献2に記載のビーム本体のように周方向において複数の分割体に分割される構成とすることが考えられる。しかしながら、この場合、以下の問題が生じる。
【0008】
すなわち、円筒状のリンフォースメントメンバーを周方向に分割すると、各分割体の断面形状は弧状に湾曲した形状となる。このため、樹脂材料により成形された各分割体が成形型から取り出された後、冷却されると、各分割体には、周方向における中央部を中心に、周方向における端部同士が互いに近づくような変形が生じやすい。その結果、リンフォースメントメンバーを形成する際に、複数の分割体同士の接合箇所の位置ずれが生じることで、分割体同士の組付けが困難となるおそれがある。
【課題を解決するための手段】
【0009】
上記課題を解決するための車両用ビームの各態様を記載する。
[態様1]インストルメントパネル内で車幅方向に延びるとともに、前記車幅方向の両端が車体に取り付けられる円筒状のビーム本体を備える車両用ビームであって、前記ビーム本体は、前記ビーム本体の周方向において分割された複数の樹脂製のビーム分割体から構成されており、前記ビーム分割体の前記周方向における中央部には、前記周方向における他の部分よりも薄肉な薄肉部が設けられている、車両用ビーム。
【0010】
上記構成によれば、周方向におけるビーム分割体の中央部には、薄肉部が設けられている。このため、ビーム分割体を樹脂材料により成形した際に、薄肉部が他の部分よりも先に冷えて固化しやすくなる。これにより、ビーム分割体には、成形後に、周方向における中央部を中心に、周方向における端部同士が互いに近づくような変形が生じにくくなる。
(【0011】以降は省略されています)
この特許をJ-PlatPat(特許庁公式サイト)で参照する
関連特許
豊田合成株式会社
積層体
1か月前
豊田合成株式会社
調光装置
9日前
豊田合成株式会社
調光装置
22日前
豊田合成株式会社
調光装置
1か月前
豊田合成株式会社
ガラスラン
1か月前
豊田合成株式会社
半導体素子
22日前
豊田合成株式会社
ガラスラン
1か月前
豊田合成株式会社
車両用外装品
1か月前
豊田合成株式会社
車両用ビーム
1か月前
豊田合成株式会社
乗員保護装置
1か月前
豊田合成株式会社
車両用ビーム
1か月前
豊田合成株式会社
検知システム
1か月前
豊田合成株式会社
乗員保護装置
1か月前
豊田合成株式会社
機器制御装置
1か月前
豊田合成株式会社
車両用外装品
1か月前
豊田合成株式会社
乗員保護装置
1か月前
豊田合成株式会社
流体殺菌装置
9日前
豊田合成株式会社
車両用内装品
1か月前
豊田合成株式会社
制御ユニット
1日前
豊田合成株式会社
車両用外装品
1か月前
豊田合成株式会社
立体エアバッグ
1か月前
豊田合成株式会社
車両用投影装置
1か月前
豊田合成株式会社
エアバッグ装置
1か月前
豊田合成株式会社
エアバッグ装置
1日前
豊田合成株式会社
車両用投影装置
1か月前
豊田合成株式会社
車両用照明装置
1か月前
豊田合成株式会社
エアバッグ装置
1日前
豊田合成株式会社
電動液体ポンプ
1か月前
豊田合成株式会社
車両用発光装置
22日前
豊田合成株式会社
電動液体ポンプ
1か月前
豊田合成株式会社
空調用レジスタ
1か月前
豊田合成株式会社
空調用レジスタ
1か月前
豊田合成株式会社
空調用レジスタ
1か月前
豊田合成株式会社
車両用発光装置
22日前
豊田合成株式会社
電動液体ポンプ
1か月前
豊田合成株式会社
車両用発光装置
22日前
続きを見る
他の特許を見る