TOP
|
特許
|
意匠
|
商標
特許ウォッチ
Twitter
他の特許を見る
公開番号
2025144757
公報種別
公開特許公報(A)
公開日
2025-10-03
出願番号
2024044597
出願日
2024-03-21
発明の名称
車両用シート
出願人
日本発條株式会社
代理人
弁理士法人太陽国際特許事務所
主分類
A47C
4/02 20060101AFI20250926BHJP(家具;家庭用品または家庭用設備;コーヒーひき;香辛料ひき;真空掃除機一般)
要約
【課題】外観の変化を抑制しつつ着座感を調節することができる車両用シートを得る。
【解決手段】車両用シート10は、着座乗員の臀部をシート下方側から支持するシートクッション12の一部を構成するクッションパッド16と、シートクッション12の他の一部を構成すると共にクッションパッド16を覆うクッショントリム18と、を備えている。また、車両用シート10は、クッションパッド16とクッショントリム18との間に設けられた調節部材20を備えている。クッショントリム18の一部が他の一部に対して開閉可能となっている。また、調節部材20は、クッショントリム18の一部を他の部位に対して開閉することにより入れ替え可能となっている。
【選択図】図1
特許請求の範囲
【請求項1】
着座乗員の臀部をシート下方側から支持するシートクッションの一部を構成するクッションパッドと、
前記シートクッションの他の一部を構成すると共に、その一部が他の部位に対して開閉可能となっている又はその一部が他の部位に対して着脱することが可能となっており、前記クッションパッドを覆うクッショントリムと、
前記クッションパッドと前記クッショントリムとの間に設けられ、前記クッショントリムの一部を他の部位に対して開閉する又は前記クッショントリムの一部を他の部位に対して着脱することにより入れ替え可能となっている調節部材と、
を備えた車両用シート。
続きを表示(約 150 文字)
【請求項2】
前記クッショントリムの一部と他の部位とは、ファスナを介して連結されており、
前記ファスナを開閉することで、前記クッショントリムの一部を他の部位に対して開閉する又は前記クッショントリムの一部を他の部位に対して着脱することが可能となっている請求項1に記載の車両用シート。
発明の詳細な説明
【技術分野】
【0001】
本発明は、車両用シートに関する。
続きを表示(約 1,500 文字)
【背景技術】
【0002】
下記特許文献1には、座り心地や全体のデザインの変更を簡単に行うことを実現した車両用シートが開示されている。この文献に記載された車両用シートのシート本体部は、着座者の着座部位となるメイン部と、当該メイン部の両側に設けられた左右のサイド部と、を含んで構成されている。また、着せ替えパッドが左右のサイド部の間に嵌り込むことにより、当該着せ替えパッドがシート本体部に対して交換可能となっている。
【先行技術文献】
【特許文献】
【0003】
特開2012-115411号公報
【発明の概要】
【発明が解決しようとする課題】
【0004】
ところで、上記特許文献1に記載された構成は、着せ替えパッドをシート本体部に対して交換することにより着座感を調節することができるという観点では有用な構成ではあるが、車両用シートの外観の変化を抑制しつつ着座感を調節するという観点では改善の余地がある。
【0005】
本発明は上記事実を考慮し、外観の変化を抑制しつつ着座感を調節することができる車両用シートを得ることが目的である。
【課題を解決するための手段】
【0006】
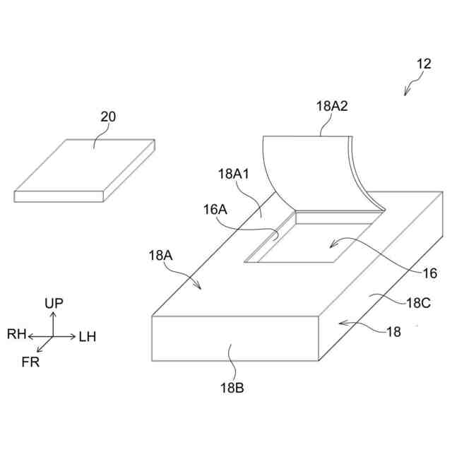
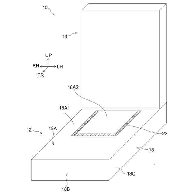
第1の態様の車両用シートは、 着座乗員の臀部をシート下方側から支持するシートクッションの一部を構成するクッションパッドと、前記シートクッションの他の一部を構成すると共に、その一部が他の部位に対して開閉可能となっている又はその一部が他の部位に対して着脱することが可能となっており、前記クッションパッドを覆うクッショントリムと、前記クッションパッドと前記クッショントリムとの間に設けられ、前記クッショントリムの一部を他の部位に対して開閉する又は前記クッショントリムの一部を他の部位に対して着脱することにより入れ替え可能となっている調節部材と、を備えている。
【0007】
第1の態様の車両用シートでは、着座乗員の臀部がシートクッションによってシート下方側から支持される。ここで、シートクッションの一部を構成するクッションパッドは、シートクッションの他の一部を構成するクッショントリムによって覆われている。また、クッションパッドとクッショントリムとの間には、調節部材が設けられている。そして、クッショントリムの一部を他の部位に対して開閉する又はクッショントリムの一部を他の部位に対して着脱することにより、調節部材を入れ替えることができる。この構成では、調節部材を入れ替えることにより、着座感を調節することができる。また、調節部材がクッションパッドとクッショントリムとの間に配置された状態では、調節部材がクッショントリムに覆われる。これにより、調節部材の入れ替えに伴うシートクッション(車両用シート)の外観の変化を抑制することができる。
【0008】
第2の態様の車両用シートは、第1の態様の車両用シートにおいて、前記クッショントリムの一部と他の部位とは、ファスナを介して連結されており、前記ファスナを開閉することで、前記クッショントリムの一部を他の部位に対して開閉する又は前記クッショントリムの一部を他の部位に対して着脱することが可能となっている。
【0009】
第2の態様の車両用シートでは、ファスナを開閉することにより、調節部材の入れ替えを容易に行うことができる。
【発明の効果】
【0010】
本発明に係る車両用シートは、外観の変化を抑制しつつ着座感を調節することができる、という優れた効果を有する。
【図面の簡単な説明】
(【0011】以降は省略されています)
この特許をJ-PlatPat(特許庁公式サイト)で参照する
関連特許
日本発條株式会社
積層体
27日前
日本発條株式会社
積層体
27日前
日本発條株式会社
記録装置
18日前
日本発條株式会社
支持構造物
17日前
日本発條株式会社
支持構造物
17日前
日本発條株式会社
車両用シート
23日前
日本発條株式会社
車両用シート
23日前
日本発條株式会社
車両用シート
18日前
日本発條株式会社
車両用シート
17日前
日本発條株式会社
車両用シート
17日前
日本発條株式会社
車両用シート
17日前
日本発條株式会社
車両用立寝装置
17日前
日本発條株式会社
車両用シート装置
17日前
日本発條株式会社
車両用シート装置
17日前
日本発條株式会社
車両用リアシート
25日前
日本発條株式会社
シート用操作装置
23日前
日本発條株式会社
コンタクトプローブ
17日前
日本発條株式会社
コンタクトプローブ
17日前
日本発條株式会社
接合体および接合方法
27日前
日本発條株式会社
車両用ハンモック装置
25日前
日本発條株式会社
シートカバーの固定方法
17日前
日本発條株式会社
ハーネス固定位置の識別構造
12日前
日本発條株式会社
シートカバー及び車両用シート
23日前
日本発條株式会社
車両用シートの操作アシスト構造
17日前
日本発條株式会社
介在物評価方法及び試験片の製造方法
16日前
日本発條株式会社
制御装置、制御方法、及び、プログラム
17日前
日本発條株式会社
駐車用パレット及びこれを有する駐車装置
17日前
日本発條株式会社
記録装置、カバー、及びカバーの製造方法
17日前
日本発條株式会社
リヤシートクッション及び車両用リヤシート
24日前
日本発條株式会社
シートクッションスプリング及び車両用シート
25日前
日本発條株式会社
チェーン、チェーン収容装置、及び、駐車装置
16日前
日本発條株式会社
車両用シートのアームレスト及び車両用シート
25日前
日本発條株式会社
面状ヒータの製造方法、面状ヒータ及び加熱装置
17日前
日本発條株式会社
設計探査方法、設計探査プログラムおよび設計探査装置
17日前
日本発條株式会社
サスペンション装置のロック機構及びサスペンション装置
18日前
日本発條株式会社
設計探査方法、設計探査プログラム、設計探査装置および学習済みモデルの生成方法
17日前
続きを見る
他の特許を見る