TOP
|
特許
|
意匠
|
商標
特許ウォッチ
Twitter
他の特許を見る
10個以上の画像は省略されています。
公開番号
2025140060
公報種別
公開特許公報(A)
公開日
2025-09-29
出願番号
2024039221
出願日
2024-03-13
発明の名称
車両用支持装置
出願人
日本発條株式会社
,
株式会社SUBARU
代理人
弁理士法人太陽国際特許事務所
主分類
B60R
7/08 20060101AFI20250919BHJP(車両一般)
要約
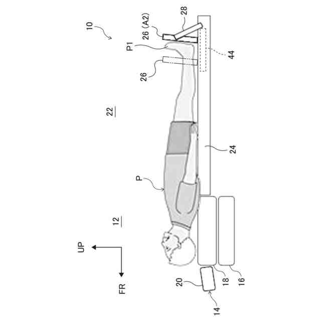
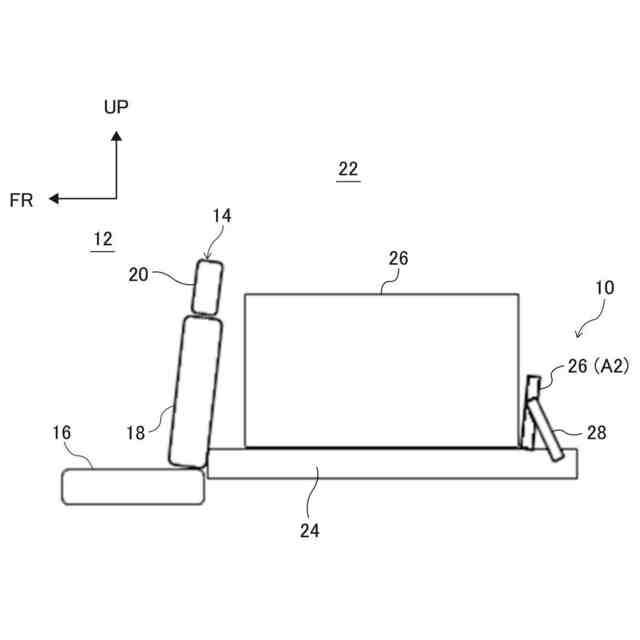
【課題】車両の乗員が車両用シートに着座した姿勢とは異なる姿勢で使用することができると共に、車両の乗員以外の物に対しても使用することができる車両用支持装置を得る。
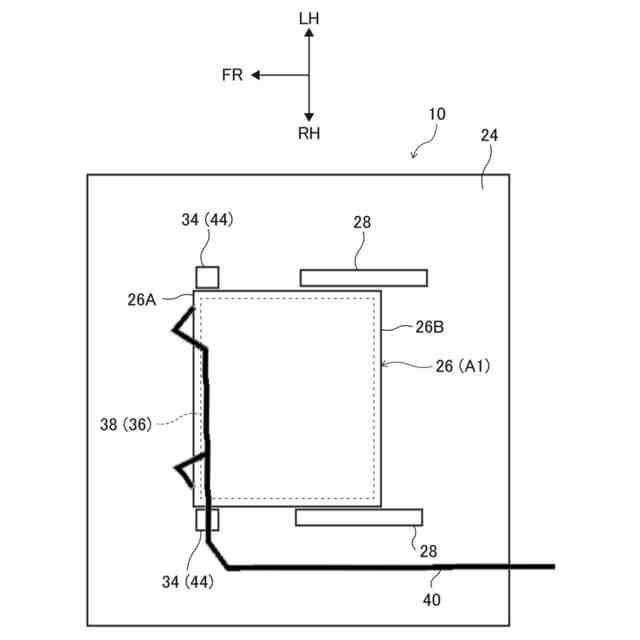
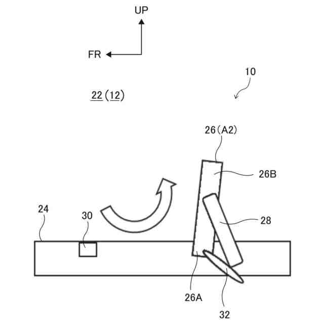
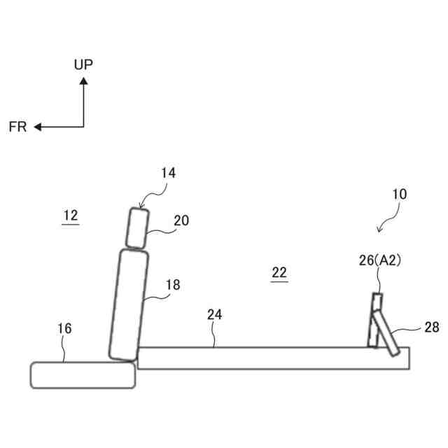
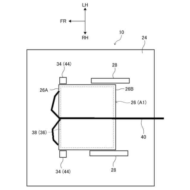
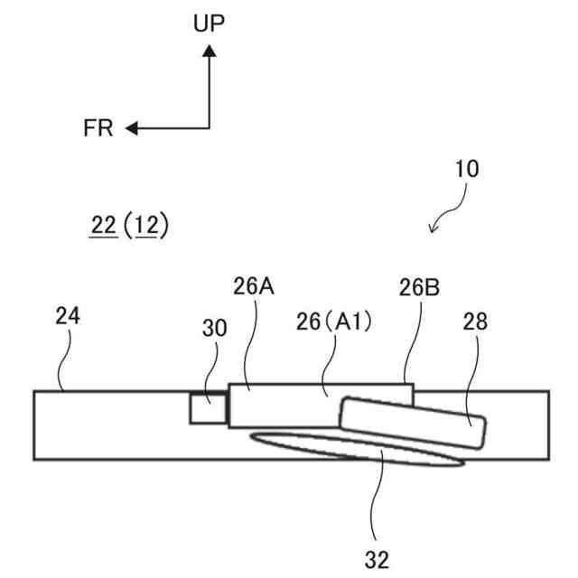
【解決手段】車両用支持装置10は、車室内12の床部分24に設けられ、床部分24に沿って配置された格納位置A1と床部分24に対して車両上方側に突出している展開位置A2との間において変位可能に設けられた支持部26を備えている。支持部26には、作動することで支持部26の温度を変化させる温度調節部36が設けられている。
【選択図】図1
特許請求の範囲
【請求項1】
車室内の床部分に設けられ、前記床部分に沿って配置された格納位置と前記床部分に対して車両上方側に突出している展開位置との間において変位可能に設けられた支持部と、
前記支持部に設けられ、作動することで前記支持部の温度を変化させる温度調節部と、
を備えた車両用支持装置。
続きを表示(約 350 文字)
【請求項2】
前記支持部が前記格納位置から前記展開位置に変位する際に前記支持部における前記床部分側の部位を車両水平方向にスライドさせるスライド部を備えている請求項1に記載の車両用支持装置。
【請求項3】
前記支持部が前記格納位置に配置されている状態を保持するロック部と、
前記支持部を前記展開位置側へ向けて付勢する付勢部材と、
を備えた請求項1に記載の車両用支持装置。
【請求項4】
前記温度調節部は、前記支持部が前記格納位置に配置された状態で作動可能となっている請求項1に記載の車両用支持装置。
【請求項5】
前記床部分には、前記格納位置に配置された前記支持部の位置を示す表示部が設けられている請求項1に記載の車両用支持装置。
発明の詳細な説明
【技術分野】
【0001】
本発明は、車両用支持装置に関する。
続きを表示(約 1,200 文字)
【背景技術】
【0002】
下記特許文献1には、着座乗員の脹脛を支持することができるオットマンを備えた車両用シートが開示されている。このオットマンには、通電されることで発熱するヒータが設けられている。これにより、車両用シートに着座した乗員の脹脛を温めることが可能となっている。
【先行技術文献】
【特許文献】
【0003】
特開2020-175844号公報
【発明の概要】
【発明が解決しようとする課題】
【0004】
ところで、上記特許文献1に記載された構成では、車両用シートに着座してオットマンを使用している姿勢でしか乗員を温めることができない。また、上記特許文献1に記載されたオットマンは、着座乗員の脹脛を温めることとは異なる用途に使用することができない。
【0005】
本発明は上記事実を考慮し、車両の乗員が車両用シートに着座した姿勢とは異なる姿勢で使用することができると共に、車両の乗員以外の物に対しても使用することができる車両用支持装置を得ることを目的とする。
【課題を解決するための手段】
【0006】
第1の態様の車両用支持装置は、車室内の床部分に設けられ、前記床部分に沿って配置された格納位置と前記床部分に対して車両上方側に突出している展開位置との間において変位可能に設けられた支持部と、前記支持部に設けられ、作動することで前記支持部の温度を変化させる温度調節部と、を備えている。
【0007】
第1の態様の車両用支持装置では、車両の乗員は、展開位置に配置された支持部に脚部等を支持させることができる。また、温度調節部が作動すると、支持部の温度が変化する。これにより、支持部に支持された乗員の身体を温める或いは冷やすことができる。また、車両の乗員は、展開位置に配置された支持部に荷物等を支持させることができる。また、温度調節部が作動すると、支持部の温度が変化する。これにより、支持部に支持された乗員の荷物を温める或いは冷やすことができる。
【0008】
第2の態様の車両用支持装置は、第1の態様の車両用支持装置において、前記支持部が前記格納位置から前記展開位置に変位する際に前記支持部における前記床部分側の部位を車両水平方向にスライドさせるスライド部を備えている。
【0009】
第2の態様の車両用支持装置では、スライド部を有することにより、支持部が格納位置から展開位置に変位する際に支持部における床部分側の部位を車両水平方向にスライドさせることができる。
【0010】
第3の態様の車両用支持装置は、第1の態様又は第2の態様の車両用支持装置において、前記支持部が前記格納位置に配置されている状態を保持するロック部と、前記支持部を前記展開位置側へ向けて付勢する付勢部材と、を備えている。
(【0011】以降は省略されています)
この特許をJ-PlatPat(特許庁公式サイト)で参照する
関連特許
日本発條株式会社
積層体
1か月前
日本発條株式会社
積層体
1か月前
日本発條株式会社
記録装置
1か月前
日本発條株式会社
ヒータ装置
1か月前
日本発條株式会社
支持構造物
1か月前
日本発條株式会社
支持構造物
1か月前
日本発條株式会社
車両用シート
1か月前
日本発條株式会社
車両用シート
1か月前
日本発條株式会社
車両用シート
1か月前
日本発條株式会社
車両用シート
1か月前
日本発條株式会社
車両用シート
1か月前
日本発條株式会社
車両用シート
1か月前
日本発條株式会社
車両用立寝装置
1か月前
日本発條株式会社
車両用支持装置
1か月前
日本発條株式会社
車両用リアシート
1か月前
日本発條株式会社
シート用操作装置
1か月前
日本発條株式会社
車両用リアシート
1か月前
日本発條株式会社
車両用シート装置
1か月前
日本発條株式会社
車両用リアシート
1か月前
日本発條株式会社
車両用シート装置
1か月前
日本発條株式会社
コンタクトプローブ
1か月前
日本発條株式会社
コンタクトプローブ
1か月前
日本発條株式会社
車両用ハンモック装置
1か月前
日本発條株式会社
車両用シートフレーム
17日前
日本発條株式会社
接合体および接合方法
1か月前
日本発條株式会社
シートカバーの固定方法
1か月前
日本発條株式会社
ハーネス固定位置の識別構造
1か月前
日本発條株式会社
アームレスト及び車両用シート
1か月前
日本発條株式会社
シートカバー及び車両用シート
1か月前
日本発條株式会社
アームレスト及び車両用シート
4日前
日本発條株式会社
ジョー組立体及びその把持面構造
17日前
日本発條株式会社
車両用シートの操作アシスト構造
1か月前
日本発條株式会社
ケーブルユニット及びその製造方法
17日前
日本発條株式会社
介在物評価方法及び試験片の製造方法
1か月前
日本発條株式会社
バックポケットの芯材及びトリムカバー
1か月前
日本発條株式会社
制御装置、制御方法、及び、プログラム
1か月前
続きを見る
他の特許を見る