TOP
|
特許
|
意匠
|
商標
特許ウォッチ
Twitter
他の特許を見る
公開番号
2025139454
公報種別
公開特許公報(A)
公開日
2025-09-26
出願番号
2024038403
出願日
2024-03-12
発明の名称
バックポケットの芯材及びトリムカバー
出願人
日本発條株式会社
代理人
弁理士法人太陽国際特許事務所
主分類
B60N
2/90 20180101AFI20250918BHJP(車両一般)
要約
【課題】後席乗員のニールームの確保とバックポケットに対する物の出し入れ性を両立する。
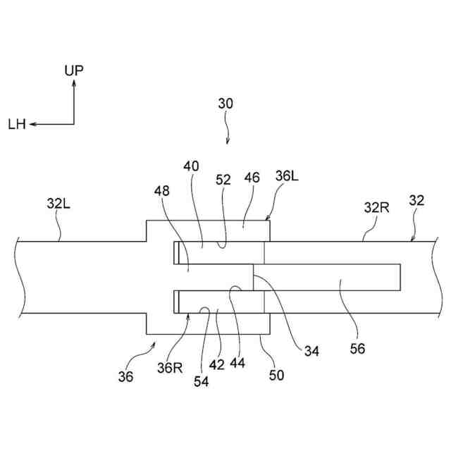
【解決手段】芯材30は、シートバックの背面に設けられたバックポケットの上縁部に形成された袋部に挿入される。この芯材30は、袋部の左側に配置される左側部分32Lと袋部の右側に配置される右側部分32Rとに分割された芯材本体32と、左側部分32Lと右側部分32Rとを回転可能に連結したインテグラルヒンジ34と、左側部分32Lの右端に設けられた左ロック部36Rと右側部分32Rの左端に設けられた右ロック部36Lとによって構成されたロック部36とを有している。ロック部36は、右ロック部36Rと左ロック部36Lとの係合により、芯材本体32がシート上下方向視でシート前方側へ凸をなして曲がった前突状態、及び芯材本体32がシート上下方向視でシート後方側へ凸をなして曲がった後突状態をそれぞれ保持可能とされている。
【選択図】図2
特許請求の範囲
【請求項1】
車両用シートのシートバックの背面に設けられたバックポケットの上縁部に形成された袋部に挿入されるバックポケットの芯材であって、
前記袋部の左側に配置される左側部分と前記袋部の右側に配置される右側部分とに分割された芯材本体と、
前記左側部分と前記右側部分とを回転可能に連結したヒンジ部と、
前記左側部分の右端に設けられた左ロック部と前記右側部分の左端に設けられた右ロック部とによって構成され、前記右ロック部と前記左ロック部との係合により、前記芯材本体がシート上下方向視でシート前方側へ凸をなして曲がった前突状態、及び前記芯材本体がシート上下方向視でシート後方側へ凸をなして曲がった後突状態をそれぞれ保持可能なロック部と、
を有するバックポケットの芯材。
続きを表示(約 370 文字)
【請求項2】
前記ロック部においては、前記右ロック部に形成された凹凸と前記左ロック部に形成された凹凸とが互いに嵌合し、前記右ロック部と前記左ロック部との間に摩擦力が生じることで前記各状態が保持されるように構成されている請求項1に記載のバックポケットの芯材。
【請求項3】
前記ヒンジ部は、前記左側部分と前記右側部分とを一体に連結したインテグラルヒンジである請求項1又は請求項2に記載のバックポケットの芯材。
【請求項4】
車両用シートのシートバックのパッドに被せられ、シートバックの背面に配置されるバックポケットを有し、前記バックポケットの上縁部に袋部が形成されたカバー本体と、
前記袋部に挿入された請求項1又は請求項2に記載のバックポケットの芯材と、
を備えたトリムカバー。
発明の詳細な説明
【技術分野】
【0001】
本発明は、車両用シートのトリムカバーに関し、特にバックポケットの芯材に関する。
続きを表示(約 1,700 文字)
【背景技術】
【0002】
下記特許文献1に開示されたシートバックポケット構造では、シートバックの背面がシート前方側に凹状に湾曲して形成されている。シートバックの背面に設けられたバックポケットの上縁部に形成された袋部には、芯材が挿入されている。この芯材は、シートバック背面の曲率と略等しく湾曲しており、弾性を有している。
【先行技術文献】
【特許文献】
【0003】
実開平4-7243号公報
【発明の概要】
【発明が解決しようとする課題】
【0004】
上記の先行技術では、上記の芯材によってバックポケットの上縁部をシートバック背面の曲率と略等しく湾曲させることができるので、後席の乗員のニールームを広く確保することができる。しかしながら、バックポケットの開口部がシートバック背面に強制的に押し付けられるので、バックポケットを開く際は手で広げる必要がある。このため、バックポケットに対する物の出し入れ性を向上させる観点で改善の余地がある。
【0005】
本発明は、後席乗員のニールームの確保とバックポケットに対する物の出し入れ性を両立することができるバックポケットの芯材及びトリムカバーを得ることを目的とする。
【課題を解決するための手段】
【0006】
第1の態様のバックポケットの芯材は、車両用シートのシートバックの背面に設けられたバックポケットの上縁部に形成された袋部に挿入されるバックポケットの芯材であって、前記袋部の左側に配置される左側部分と前記袋部の右側に配置される右側部分とに分割された芯材本体と、前記左側部分と前記右側部分とを回転可能に連結したヒンジ部と、前記左側部分の右端に設けられた左ロック部と前記右側部分の左端に設けられた右ロック部とによって構成され、前記右ロック部と前記左ロック部との係合により、前記芯材本体がシート上下方向視でシート前方側へ凸をなして曲がった前突状態、及び前記芯材本体がシート上下方向視でシート後方側へ凸をなして曲がった後突状態をそれぞれ保持可能なロック部と、を有している。
【0007】
第1の態様のバックポケットの芯材は、車両用シートのシートバックの背面に設けられたバックポケットの上縁部に形成された袋部に挿入される。この芯材は、袋部の左側に配置される左側部分と袋部の右側に配置される右側部分とに分割された芯材本体と、前記左側部分と前記右側部分とを回転可能に連結したヒンジ部と、前記左側部分の右端に設けられた左ロック部と前記右側部分の左端に設けられた右ロック部とによって構成されたロック部と、を有している。
【0008】
上記のロック部は、右ロック部と左ロック部とが係合することにより、芯材本体がシート上下方向視でシート前方側へ凸をなして曲がった前突状態、及び芯材本体がシート上下方向視でシート後方側へ凸をなして曲がった後突状態をそれぞれ保持可能とされている。前突状態では、後席の乗員のニールームを広く確保することができ、後突状態では、バックポケットに対する物の出し入れ性を向上させることができる。また、右ロック部と左ロック部とを係合させない状態では、芯材本体が上記のように曲がらない通常状態とすることができる。
【0009】
第2の態様のバックポケットの芯材は、第1の態様において、前記ロック部においては、前記右ロック部に形成された凹凸と前記左ロック部に形成された凹凸とが互いに嵌合し、前記右ロック部と前記左ロック部との間に摩擦力が生じることで前記各状態が保持されるように構成されている。
【0010】
第2の態様のバックポケットの芯材によれば、右ロック部に形成された凹凸と左ロック部に形成された凹凸とが互いに嵌合し、右ロック部と左ロック部との間に摩擦力が生じることで、芯材本体が前突状態及び後突状態に保持される。これにより、簡単な構成で前突状態及び後突状態を保持することができる。
(【0011】以降は省略されています)
この特許をJ-PlatPat(特許庁公式サイト)で参照する
関連特許
日本発條株式会社
車両用シートフレーム
17日前
日本発條株式会社
ハーネス固定位置の識別構造
1か月前
日本発條株式会社
アームレスト及び車両用シート
4日前
日本発條株式会社
ジョー組立体及びその把持面構造
17日前
日本発條株式会社
ケーブルユニット及びその製造方法
17日前
日本発條株式会社
介在物評価方法及び試験片の製造方法
1か月前
日本発條株式会社
チェーン、チェーン収容装置、及び、駐車装置
1か月前
日本発條株式会社
車両用シートのブロア取付構造及び車両用シート
17日前
日本発條株式会社
モータの製造方法
17日前
日本発條株式会社
ケーブルの進退機構及びこれを用いたエンドエフェクターアッセンブリー
17日前
日本発條株式会社
モータの製造装置及びモータの製造方法
1か月前
個人
タイヤレバー
3か月前
個人
前輪キャスター
3か月前
個人
上部一体型自動車
1か月前
個人
ルーフ付きトライク
3か月前
個人
ホイルのボルト締結
4か月前
個人
空間形成装置
25日前
個人
タイヤ脱落防止構造
2か月前
日本精機株式会社
表示装置
3か月前
日本精機株式会社
表示装置
3か月前
個人
車両通過構造物
3か月前
個人
マスタシリンダ
1か月前
日本精機株式会社
照明装置
20日前
日本精機株式会社
表示装置
3か月前
日本精機株式会社
表示装置
3か月前
個人
アクセルのソフトウェア
5か月前
個人
乗合路線バスの客室装置
4か月前
個人
車両用スリップ防止装置
5か月前
個人
常設収納型サンバイザー
1か月前
日本精機株式会社
画像投映装置
1か月前
個人
音声ガイド、音声サービス
4か月前
個人
円湾曲ホイール及び球体輪
4か月前
株式会社ニフコ
収納装置
2か月前
日本精機株式会社
車載表示装置
28日前
日本精機株式会社
車載表示装置
1か月前
個人
回転窓ワイパー装置
25日前
続きを見る
他の特許を見る