TOP
|
特許
|
意匠
|
商標
特許ウォッチ
Twitter
他の特許を見る
公開番号
2025143110
公報種別
公開特許公報(A)
公開日
2025-10-01
出願番号
2024042853
出願日
2024-03-18
発明の名称
車両用シートのアームレスト及び車両用シート
出願人
日本発條株式会社
代理人
弁理士法人太陽国際特許事務所
主分類
B60N
2/75 20180101AFI20250924BHJP(車両一般)
要約
【課題】段付きボルトの締結作業の作業性を悪化させずに軽量化を図る。
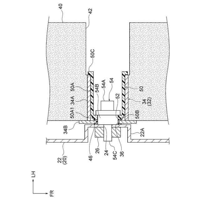
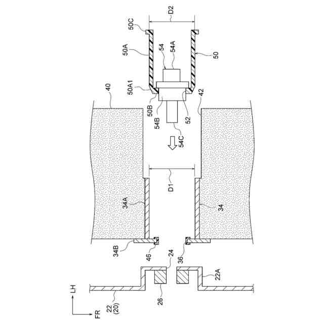
【解決手段】アームレスト30では、アームレストパッド40に埋設されたアームレストフレーム32は、アームレストパッド40の貫通孔42の右方側部分に嵌合した有底筒状の軸部34を有している。軸部34の底壁34Bには、段付きボルト54の大径部54Bが嵌合するボルト孔36が形成されている。軸部34内には、樹脂によって有底筒状に形成された筒状部材50が嵌合する。この筒状部材50の底壁50Bには、段付きボルト54の大径部54Bが嵌合するボルト孔52が形成されている。段付きボルト54は、小径部54Cに形成された雄ねじがシートバックフレーム20に形成されたウェルドナット26に螺合される。
【選択図】図4
特許請求の範囲
【請求項1】
発泡体からなり、シート左右方向に貫通する貫通孔を有するアームレストパッドと、
前記アームレストパッドに埋設され、シート左右方向外側に開口を向けた姿勢で前記貫通孔のシート左右方向内側部分に嵌合した有底筒状の軸部、及び前記軸部から径方向に延出されたフレーム本体を有し、前記軸部の底壁にボルト孔が形成されたアームレストフレームと、
樹脂によって有底筒状に形成され、シート左右方向外側に開口を向けた姿勢で前記軸部の内側に嵌合すると共に、底壁にボルト孔が形成された筒状部材と、
基端側の大径部が各前記ボルト孔に嵌合し、先端側の小径部に形成された雄ねじがシートバックフレームに形成された雌ねじに螺合され、前記軸部を前記シートバックフレームに締結した段付きボルトと、
を備えた車両用シートのアームレスト。
続きを表示(約 240 文字)
【請求項2】
前記フレーム本体は、先端側が基端側よりもシート左右方向外側に位置するように略クランク状に曲がっている請求項1に記載の車両用シートのアームレスト。
【請求項3】
乗員が着座するシートクッションと、
前記乗員の背部を支持するシートバックと、
前記シートバックが有するシートバックフレームに前記アームレストフレームの前記軸部が締結された請求項1又は請求項2に記載の車両用シートのアームレストと、
を備えた車両用シート。
発明の詳細な説明
【技術分野】
【0001】
本発明は、車両用シートに関し、特にアームレストに関する。
続きを表示(約 1,800 文字)
【背景技術】
【0002】
下記特許文献1に開示されたシートの可動式アームレストでは、アームレストフレームに取り付けられたブラケットに中空軸が固定されており、中空軸に挿入された段付きボルトを用いてアームレストフレームがシートバックフレームに締結されている。
【先行技術文献】
【特許文献】
【0003】
実開昭64-19356号公報
【発明の概要】
【発明が解決しようとする課題】
【0004】
上記の先行技術では、中空軸(軸部)と段付きボルトが長尺なため、軽量化の観点で改善の余地がある。この点、軸部と段付きボルトを短尺化すれば、軽量化を図ることができるが、段付きボルトの締結作業の作業性が悪化する虞がある。
【0005】
本発明は、段付きボルトの締結作業の作業性を悪化させずに軽量化を図ることができる車両用シートのアームレスト及び車両用シートを得ることを目的とする。
【課題を解決するための手段】
【0006】
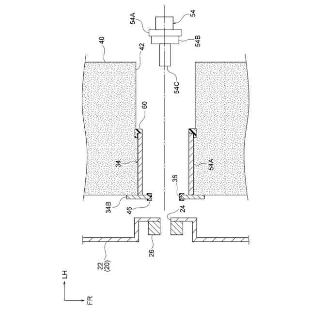
第1の態様の車両用シートのアームレストは、発泡体からなり、シート左右方向に貫通する貫通孔を有するアームレストパッドと、前記アームレストパッドに埋設され、シート左右方向外側に開口を向けた姿勢で前記貫通孔のシート左右方向内側部分に嵌合した有底筒状の軸部、及び前記軸部から径方向に延出されたフレーム本体を有し、前記軸部の底壁にボルト孔が形成されたアームレストフレームと、樹脂によって有底筒状に形成され、シート左右方向外側に開口を向けた姿勢で前記軸部の内側に嵌合すると共に、底壁にボルト孔が形成された筒状部材と、基端側の大径部が各前記ボルト孔に嵌合し、先端側の小径部に形成された雄ねじがシートバックフレームに形成された雌ねじに螺合され、前記軸部を前記シートバックフレームに締結した段付きボルトと、を備えている。
【0007】
第1の態様の車両用シートのアームレストによれば、発泡体からなるアームレストパッドは、シート左右方向に貫通する貫通孔を有している。このアームレストパッドに埋設されたアームレストフレームでは、有底筒状の軸部がシート左右方向外側に開口を向けた姿勢で上記貫通孔のシート左右方向内側部分に嵌合しており、フレーム本体が軸部から径方向に延出されている。軸部の内側には、樹脂によって有底筒状に形成された筒状部材が、シート左右方向外側に開口を向けた姿勢で嵌合している。軸部及び筒状部材の底壁にそれぞれ形成されたボルト孔には、段付きボルトの基端側の大径部が嵌合しており、段付きボルトの先端側の小径部に形成された雄ねじが、シートバックフレームに形成された雌ねじに螺合している。これにより、軸部がシートバックフレームに締結されている。
【0008】
このアームレストでは、アームレストフレームの軸部は、アームレストパッドの貫通孔のシート左右方向内側部分のみに嵌合するように短尺化することができる。また、段付きボルトは、軸部及び筒状部材の各底壁に形成されたボルト孔に嵌合する大径部を、各底壁の厚みに合わせて短尺化することができる。これにより、軽量化を図ることができる。しかも、段付きボルトの締結作業の際には、筒状部材のボルト孔に段付きボルトの大径部を嵌合させた状態で、筒状部材を軸部の内側に嵌合させることにより、段付きボルトの大径部を軸部のボルト孔へ導くことができる。これにより、締結作業の作業性が悪化しないようにすることができる。
【0009】
第2の態様の車両用シートのアームレストは、第1の態様において、前記フレーム本体は、先端側が基端側よりもシート左右方向外側に位置するように略クランク状に曲がっている。
【0010】
第2の態様の車両用シートのアームレストによれば、アームレストフレームの軸部は、アームレストパッドの貫通孔のシート左右方向内側に偏倚して配置されているが、アームレストフレームのフレーム本体は、先端側が基端側よりもシート左右方向外側に位置するように略クランク状に曲がっている。これにより、アームレストフレームによる乗員腕部の支持がシート左右方向内側に偏らないようにすることができる。
(【0011】以降は省略されています)
この特許をJ-PlatPat(特許庁公式サイト)で参照する
関連特許
日本発條株式会社
積層体
1か月前
日本発條株式会社
積層体
1か月前
日本発條株式会社
記録装置
1か月前
日本発條株式会社
駐車装置
2か月前
日本発條株式会社
支持構造物
1か月前
日本発條株式会社
空調シート
2か月前
日本発條株式会社
支持構造物
1か月前
日本発條株式会社
放熱構造体
2か月前
日本発條株式会社
ヒータ装置
1か月前
日本発條株式会社
クリップ部材
2か月前
日本発條株式会社
車両用シート
1か月前
日本発條株式会社
車両用シート
1か月前
日本発條株式会社
車両用シート
2か月前
日本発條株式会社
車両用シート
2か月前
日本発條株式会社
車両用シート
2か月前
日本発條株式会社
車両用シート
1か月前
日本発條株式会社
車両用シート
2か月前
日本発條株式会社
車両用シート
2か月前
日本発條株式会社
車両用シート
2か月前
日本発條株式会社
車両用シート
2か月前
日本発條株式会社
車両用シート
2か月前
日本発條株式会社
駐車システム
2か月前
日本発條株式会社
車両用シート
1か月前
日本発條株式会社
車両用シート
2か月前
日本発條株式会社
車両用シート
1か月前
日本発條株式会社
車両用シート
1か月前
日本発條株式会社
車両用立寝装置
1か月前
日本発條株式会社
車両用支持装置
1か月前
日本発條株式会社
車両用シート装置
1か月前
日本発條株式会社
車両用リアシート
1か月前
日本発條株式会社
シート用操作装置
1か月前
日本発條株式会社
車両用リアシート
1か月前
日本発條株式会社
車両用シート装置
1か月前
日本発條株式会社
車両用リアシート
1か月前
日本発條株式会社
コンタクトプローブ
1か月前
日本発條株式会社
インサート成形部品
2か月前
続きを見る
他の特許を見る