TOP
|
特許
|
意匠
|
商標
特許ウォッチ
Twitter
他の特許を見る
公開番号
2025131402
公報種別
公開特許公報(A)
公開日
2025-09-09
出願番号
2024029120
出願日
2024-02-28
発明の名称
車両用シート
出願人
日本発條株式会社
代理人
弁理士法人太陽国際特許事務所
主分類
B60N
2/90 20180101AFI20250902BHJP(車両一般)
要約
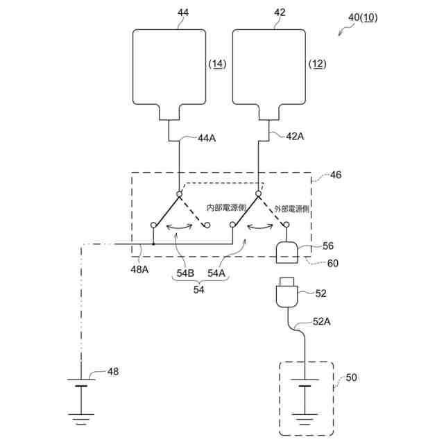
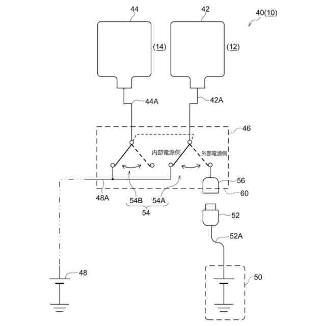
【課題】電気機器による車両の電力消費を抑制できる車両用シートを提供する。
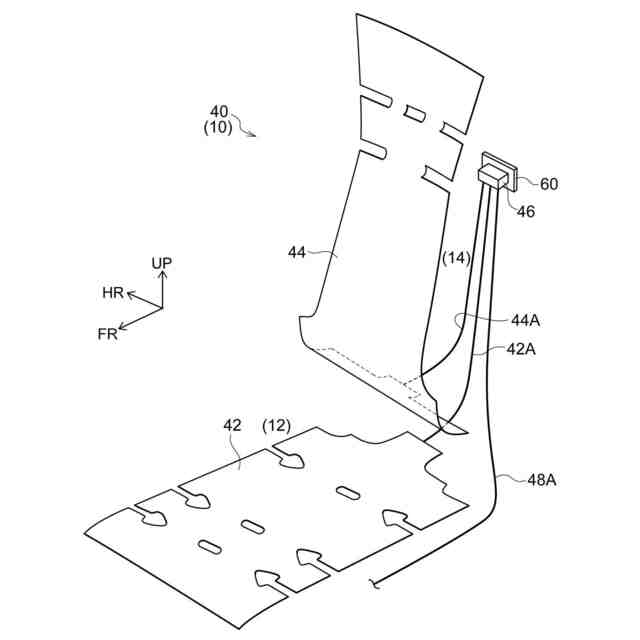
【解決手段】ヒータ装置40は、車両用シート10のシートクッション12にシートヒータパッド42が配置され、シートバック14にバックヒータパッド44が配置されている。また、スイッチボックス46の切替スイッチ54には、各々がバッテリ48、シートヒータパッド42バックヒータパッド44に接続されたケーブル48A、42A、44Aが接続されると共に、モバイルバッテリ50が装着されるレセクタプル56が接続されている。これにより、切替スイッチ54を内部電源側から外部電源側に操作されることで、シートヒータパッド42がモバイルバッテリ50の電力により動作し、シートヒータパッド42が動作される際にバッテリ48の電力が消費されてしまうのを抑制できる。
【選択図】図3
特許請求の範囲
【請求項1】
着座する乗員の臀部及び腰部を支持するシートクッション、並びに前記シートクッションに着座した乗員の背部を支持するシートバックを含むシート本体と、
前記シート本体に設けられて、車両の電源から直流電力が供給されることで動作可能とされた電気機器と、
前記シート本体に設けられて前記電気機器の動作が可能な外部電源が接続可能とされた接続部と、
前記電気機器の接続元を前記車両の電源と、前記接続部に接続された前記外部電源との間で切り替える切替部と、
を含む車両用シート。
続きを表示(約 690 文字)
【請求項2】
前記電気機器は、前記シート本体に着座した乗員を暖房するヒータである、請求項1に記載の車両用シート。
【請求項3】
前記ヒータは、複数に分割されており、
前記切替部は、前記車両の電源と前記分割されたヒータの各々とを接続可能とし、前記外部電源と前記分割されたヒータのうちの一部のヒータとを接続可能とされている請求項2に記載の車両用シート。
【請求項4】
前記ヒータは、前記シートクッションに配置されている、ことを含む請求項2に記載の車両用シート。
【請求項5】
前記ヒータは、前記シートクッションと前記シートバックとに配置されており、
前記切替部は、前記車両の電源と前記シートクッション及び前記シートバックの各々のヒータとを接続可能とし、前記外部電源と前記シートクッションのヒータ又は前記シートバックのヒータとを接続可能とされている請求項4に記載の車両用シート。
【請求項6】
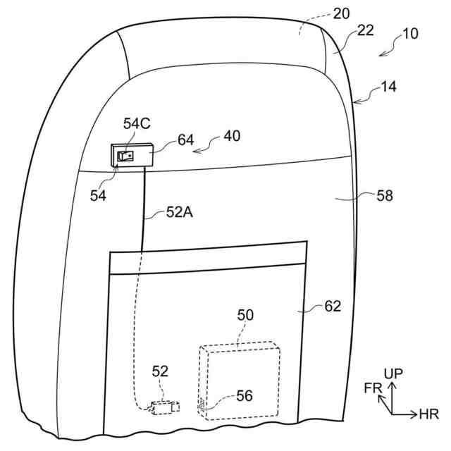
前記切替部は、切替スイッチを含み、
前記接続部及び前記切替スイッチは、前記シートバックの背面に設置されている請求項4に記載の車両用シート。
【請求項7】
前記シートバックの背面には、上方に向けて開口された収納部が設けられている請求項6に記載の車両用シート。
【請求項8】
前記接続部は、先端に前記外部電源に接続されるコネクタが配置された接続線を備え、
該接続線が前記シートバックの背面側から引き出されて前記収納部に収納可能とされている請求項7に記載の車両用シート。
発明の詳細な説明
【技術分野】
【0001】
本発明は、車両用シートに関する。
続きを表示(約 1,300 文字)
【背景技術】
【0002】
特許文献1には、着脱式シートヒータが開示されている。この着脱式シートヒータは、車両のシートにおいて第1外生地と第2外生地との間に発熱体が配置され、シートクッション、シートバック、又はシートクッションとシートバックに跨って配置され、車両のバッテリに接続されることで、シートに着座した乗員の暖房が可能となっている。
【0003】
また、車両用シートには、シートクッションやシートバックに予めヒータが設置され、車両のバッテリから供給される電力によって乗員の暖房を可能としたものがある。さらに、車両に設置された車両用シートには、電気的に動作されるリクライニング機構、スライド機構及びリフタ機構等が設けられたものがある。
【先行技術文献】
【特許文献】
【0004】
実用新案登録第3209693号公報
【発明の概要】
【発明が解決しようとする課題】
【0005】
一般に、車両のバッテリは、エンジンの駆動力により発電された電力により充電されながら、車両に設けられている各種の電気機器に電力を供給する。このため、バッテリは、エンジンが停止している状態では、電力が消費されることでバッテリに蓄積されている電力が消費されてしまう。車両では、バッテリの充電量が低下すると走行に支障が生じてしまうことがあり、エンジン停止時における車両内における電力使用には改善の余地がある。
【0006】
本発明は、上記事実を鑑みて成されたものであり、車両の電力消費を抑制できる車両用シートを提供することを目的とする。
【課題を解決するための手段】
【0007】
上記目的を達成するために、本発明の第1の態様の車両用シートは、着座する乗員の臀部及び腰部を支持するシートクッション、並びに前記シートクッションに着座した乗員の背部を支持するシートバックを含むシート本体と、前記シート本体に設けられて、車両の電源から直流電力が供給されることで動作可能とされた電気機器と、前記シート本体に設けられて前記電気機器の動作が可能な外部電源が接続可能とされた接続部と、前記電気機器の接続元を前記車両の電源と、前記接続部に接続された前記外部電源との間で切り替える切替部と、を含む。
【0008】
第1の態様の車両用シートでは、シート本体に着座する乗員の臀部及び腰部を支持するシートクッションと、シートクッションに着座した乗員の背部を支持するシートバックとが設けられている。また、シート本体には、車両の電源から直流電力が供給されることで動作可能とされた電気機器が配置されている。
【0009】
ここで、接続部には、シート本体に設けられて電気機器の動作が可能な外部電源が接続可能とされている。また、切替部は、電気機器の接続元を車両の電源と、接続部に接続された外部電源との間で切り替える。
【0010】
これにより、外部電源が接続部に接続されて、切替部が電気機器の電源の接続元を外部電源に切り替えることで、電気機器が使用される際に、車両の電源の電力が消費されるのを抑制できる。
(【0011】以降は省略されています)
この特許をJ-PlatPat(特許庁公式サイト)で参照する
関連特許
日本発條株式会社
積層体
29日前
日本発條株式会社
積層体
29日前
日本発條株式会社
記録装置
20日前
日本発條株式会社
支持構造物
19日前
日本発條株式会社
支持構造物
19日前
日本発條株式会社
車両用シート
25日前
日本発條株式会社
車両用シート
19日前
日本発條株式会社
車両用シート
25日前
日本発條株式会社
車両用シート
20日前
日本発條株式会社
車両用シート
19日前
日本発條株式会社
車両用シート
19日前
日本発條株式会社
車両用立寝装置
19日前
日本発條株式会社
車両用リアシート
27日前
日本発條株式会社
シート用操作装置
25日前
日本発條株式会社
車両用リアシート
29日前
日本発條株式会社
車両用シート装置
19日前
日本発條株式会社
車両用リアシート
29日前
日本発條株式会社
車両用シート装置
19日前
日本発條株式会社
コンタクトプローブ
19日前
日本発條株式会社
コンタクトプローブ
19日前
日本発條株式会社
車両用ハンモック装置
27日前
日本発條株式会社
接合体および接合方法
29日前
日本発條株式会社
シートカバーの固定方法
19日前
日本発條株式会社
ハーネス固定位置の識別構造
14日前
日本発條株式会社
アームレスト及び車両用シート
29日前
日本発條株式会社
シートカバー及び車両用シート
25日前
日本発條株式会社
車両用シートの操作アシスト構造
19日前
日本発條株式会社
介在物評価方法及び試験片の製造方法
18日前
日本発條株式会社
制御装置、制御方法、及び、プログラム
19日前
日本発條株式会社
駐車用パレット及びこれを有する駐車装置
19日前
日本発條株式会社
記録装置、カバー、及びカバーの製造方法
19日前
日本発條株式会社
リヤシートクッション及び車両用リヤシート
26日前
日本発條株式会社
チェーン、チェーン収容装置、及び、駐車装置
18日前
日本発條株式会社
車両用シートのアームレスト及び車両用シート
27日前
日本発條株式会社
シートクッションスプリング及び車両用シート
27日前
日本発條株式会社
面状ヒータの製造方法、面状ヒータ及び加熱装置
19日前
続きを見る
他の特許を見る