TOP
|
特許
|
意匠
|
商標
特許ウォッチ
Twitter
他の特許を見る
公開番号
2025135050
公報種別
公開特許公報(A)
公開日
2025-09-18
出願番号
2024032610
出願日
2024-03-05
発明の名称
スラリー供給装置
出願人
株式会社東京精密
代理人
スプリング弁理士法人
主分類
B24B
57/02 20060101AFI20250910BHJP(研削;研磨)
要約
【課題】 粉体成分を調合するスラリーであってもCMP装置の連続稼働を可能にするスラリー供給装置の提供。
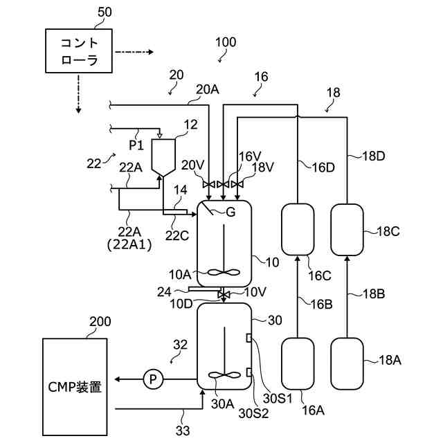
【解決手段】スラリーの液体成分を供給する少なくとも1つの液体供給系16(18,20)と、前記スラリーの粉体成分を供給する少なくとも1つの粉体供給系22と、前記液体供給系、及び前記粉体供給系に接続され、供給された前記液体成分及び前記粉体成分の重量を測定するスケールと、供給された前記液体成分及び前記粉体成分を攪拌する攪拌装置とを有する調合タンク10と、コントローラ50と、を備え、前記液体成分及び前記粉体成分の少なくとも1方は、研磨粒子を含み、前記コントローラは、前記スケールの測定値に応じて前記少なくとも1つの液体供給系及び前記少なくとも1つの粉体供給系から前記調合タンクに供給する前記液体成分又は前記粉体成分を制御する、スラリー供給装置。
【選択図】図1
特許請求の範囲
【請求項1】
化学機械的研磨装置に対して、調合したスラリーを供給するスラリー供給装置であって、
前記スラリーの液体成分を供給する少なくとも1つの液体供給系と、
前記スラリーの粉体成分を供給する少なくとも1つの粉体供給系と、
前記少なくとも1つの液体供給系、及び前記少なくとも1つの粉体供給系に接続され、供給された前記液体成分及び前記粉体成分の重量を測定するスケールと、供給された前記液体成分及び前記粉体成分を攪拌する攪拌装置とを有する調合タンクと、
前記液体供給系、前記粉体供給系、及び前記調合タンクを制御するコントローラと、を備え、
前記液体成分及び前記粉体成分の少なくとも1方は、研磨粒子を含み、
前記コントローラは、前記スケールの測定値に応じて前記少なくとも1つの液体供給系及び前記少なくとも1つの粉体供給系から前記調合タンクに供給する前記液体成分又は前記粉体成分を制御する、スラリー供給装置。
続きを表示(約 900 文字)
【請求項2】
前記コントローラは、前記調合タンクに少なくとも前記液体成分を供給した後に、前記粉体成分が供給されるよう、前記少なくとも1つの液体供給系及び前記少なくとも1つの粉体供給系を制御する、請求項1に記載のスラリー供給装置。
【請求項3】
前記少なくとも1つの粉体供給系は、前記粉体成分を貯留する貯留容器と、前記貯留容器と接続され、前記貯留容器から吸引した前記粉体成分を前記調合タンクに移送する粉体移送部と、を有し、
前記貯留容器は、気体供給系に接続され、前記貯留容器の内部に向かって気体を吐出可能な気体吐出口と、前記粉体移送部に接続され、前記貯留容器から前記粉体成分を吸引する吸引口とを備える、請求項1に記載のスラリー供給装置。
【請求項4】
前記気体吐出口は、前記貯留容器と管路との接続口の近傍に配置され、
前記粉体移送部の動作に基づき、前記気体が吐出される、請求項3に記載のスラリー供給装置。
【請求項5】
少なくとも前記粉体移送部による前記粉体成分の移送開始前に前記気体が吐出される、請求項4に記載のスラリー供給装置。
【請求項6】
前記気体が乾燥空気であり、前記粉体移送部の動作によらず、連続的、又は、間欠的に前記気体が吐出される、請求項3に記載のスラリー供給装置。
【請求項7】
前記コントローラは、前記粉体供給系の動作により前記調合タンクに供給されるべき目標数量と、前記スケールにて測定される実測数量とを比較して、前記粉体供給系の動作を補正する、請求項1に記載のスラリー供給装置。
【請求項8】
前記補正は、同一の前記目標数量に対する複数回の前記実測数量との比較に基づいて実施される、請求項7に記載のスラリー供給装置。
【請求項9】
前記粉体供給系と前記調合タンクの接続部には、前記粉体移送部の動作によって前記調合タンク内に供給される前記粉体成分が、前記調合タンクの内壁へと衝突するのを抑制するガイドが配置される、請求項1に記載のスラリー供給装置。
発明の詳細な説明
【技術分野】
【0001】
本発明は、スラリー供給装置に関する。
続きを表示(約 1,400 文字)
【背景技術】
【0002】
半導体基板上にトランジスタ等を形成する際、層関絶縁膜等の平坦化を目的として、シリカ粒子等の無機粒子である研磨粒子を水系に分散させたスラリー(研磨剤)を用いた化学機械的研磨(CMP)が行われる。
【0003】
この際、予め研磨粒子が溶媒に分散された分散液に、所定量の希釈用溶媒を加えてスラリーを調合しCMP装置に自動供給する、スラリー供給装置が知られている。このようなスラリー供給装置は、例えば、特許文献1に記載されている。
【先行技術文献】
【特許文献】
【0004】
特開2009-290139号公報
【発明の概要】
【発明が解決しようとする課題】
【0005】
近年、基板の材料に応じた様々な種類のスラリーが必要とされている。例えば、従来のように単に分散液を所定の溶媒で希釈するスラリーだけでなく、保管及び輸送等の観点から使用直前に所定の成分を含有する粉体を調合するスラリーも用いられる場合もある。
【0006】
現在、このような使用直前に調合するスラリーを研磨に用いる場合、スラリーとして使用する直前に、粉体を所定の溶媒にマニュアル操作で溶解させて、それを原液の希釈を主目的とする従来のスラリー供給装置にセットして液/液混合する方法を採らざるを得なかった。そのため、スラリー調合の度に、稼働を中断せざるを得なかった。
【0007】
本発明は、粉体成分を調合するスラリーであってもCMP装置の連続稼働を可能にするスラリー供給装置の提供を目的とする。
【課題を解決するための手段】
【0008】
本発明の第1のスラリー供給装置は、化学機械的研磨装置に対して、調合したスラリーを供給するスラリー供給装置であって、前記スラリーの液体成分を供給する少なくとも1つの液体供給系と、前記スラリーの粉体成分を供給する少なくとも1つの粉体供給系と、前記少なくとも1つの液体供給系、及び前記少なくとも1つの粉体供給系に接続され、供給された前記液体成分及び前記粉体成分の重量を測定するスケールと、供給された前記液体成分及び前記粉体成分を攪拌する攪拌装置とを有する調合タンクと、前記液体供給系、前記粉体供給系、及び前記調合タンクを制御するコントローラと、を備え、前記液体成分及び前記粉体成分の少なくとも1方は、研磨粒子を含み、前記コントローラは、前記スケールの測定値に応じて前記少なくとも1つの液体供給系及び前記少なくとも1つの粉体供給系から前記調合タンクに供給する前記液体成分又は前記粉体成分を制御する、スラリー供給装置である。
【0009】
例えば、所定の有効塩素濃度の研磨剤が必要な場合、分散液、又は、その希釈液に次亜塩素酸ナトリウムを使用直前に添加して研磨剤を完成する必要がある。有効塩素濃度は、調合時から経時的に変化してしまうため、調合されたスラリーのシェルフライフ、ポットライフは短く、これを予め調合して貯留することは難しい。
【0010】
第1の実施形態のスラリー供給装置は、液体供給系と粉体供給系とを備えるので、上記のようなスラリーであっても、用時に調合してCMP装置に自動で供給できる。
(【0011】以降は省略されています)
この特許をJ-PlatPat(特許庁公式サイト)で参照する
関連特許
株式会社東京精密
CMP装置
9日前
株式会社東京精密
ウェハ加工システム及びウェハ加工方法
3日前
株式会社東京精密
プローバ制御装置及びプローバ制御方法
11日前
個人
包丁研ぎ器具
3か月前
株式会社松風
研磨用ゴム砥石
23日前
株式会社東京精密
研削装置
19日前
株式会社タカトリ
ウエハの研削装置
6日前
株式会社ディスコ
被加工物の加工方法
1か月前
ノリタケ株式会社
超砥粒ホイール
23日前
株式会社東京精密
加工装置
25日前
株式会社東京精密
加工方法
25日前
株式会社東京精密
加工装置
23日前
ノリタケ株式会社
研磨パッド
23日前
トヨタ自動車株式会社
回転砥石の製造方法
3か月前
秀和工業株式会社
処理装置および処理方法
1か月前
富士紡ホールディングス株式会社
研磨パッド
19日前
株式会社東京精密
研削装置
2か月前
富士紡ホールディングス株式会社
研磨パッド
19日前
株式会社アイドゥス企画
受動変形内面研磨ホイール
2か月前
富士紡ホールディングス株式会社
研磨パッド
19日前
富士紡ホールディングス株式会社
研磨パッド
19日前
Mipox株式会社
研磨部材の製造方法
2か月前
旭化成株式会社
研磨パッド
2か月前
株式会社東京精密
ダイシング装置
19日前
Mipox株式会社
研磨部材の製造方法
2か月前
Mipox株式会社
研磨部材の製造方法
2か月前
株式会社ディスコ
加工装置
1か月前
株式会社東京精密
ダイシング装置
23日前
株式会社ディスコ
切削装置
4日前
株式会社ディスコ
研削装置
3か月前
株式会社クラッチ
ブラスト加工用ボックス
16日前
株式会社東京精密
ハブレスブレード
25日前
株式会社ディスコ
貼り合わせウェーハの加工方法
9日前
株式会社和井田製作所
エッジライン生成装置
12日前
株式会社ディスコ
加工装置
19日前
株式会社ディスコ
切削装置
19日前
続きを見る
他の特許を見る