TOP
|
特許
|
意匠
|
商標
特許ウォッチ
Twitter
他の特許を見る
10個以上の画像は省略されています。
公開番号
2025150318
公報種別
公開特許公報(A)
公開日
2025-10-09
出願番号
2024051137
出願日
2024-03-27
発明の名称
収容ボックスシステム
出願人
株式会社東京精密
代理人
スプリング弁理士法人
主分類
A47G
29/12 20060101AFI20251002BHJP(家具;家庭用品または家庭用設備;コーヒーひき;香辛料ひき;真空掃除機一般)
要約
【課題】 ボックスの管理効率を改善可能とする収容ボックスシステムの提供。
【解決手段】 制御装置50により制御され、利用者に対して、所定期間、特定のボックス20を割り当てて利用させる、収容ボックスシステムであって、前記制御装置は、特定のボックスを所定期間割り当て、前記所定期間が経過した場合に前記特定のボックスの在荷状態を検知し、前記在荷状態を検知した場合に前記特定のボックスの割り当てを継続する、収容ボックスシステム。
【選択図】図3
特許請求の範囲
【請求項1】
制御装置により制御され、利用者に対して、所定期間、特定のボックスを割り当てて利用させる、収容ボックスシステムであって、
前記制御装置は、特定のボックスを所定期間割り当て、前記所定期間が経過した場合に前記特定のボックスの在荷状態を検知し、前記在荷状態を検知した場合に前記特定のボックスの割り当てを継続する、収容ボックスシステム。
続きを表示(約 750 文字)
【請求項2】
前記在荷状態を検知するために、前記ボックスごとに配置された被収容物検知装置を更に備え、
前記被収容物検知装置は、感圧センサと、被収容物を支持する受板とを含み、
前記感圧センサは、前記ボックスの底面と前記受板との間に配置され、前記受板は、揺動機構を介して、片持ち梁状に前記底面上に固定される、請求項1に記載の収容ボックスシステム。
【請求項3】
前記制御装置は、前記所定期間が経過し、前記在荷状態が検知されない場合、前記特定のボックスの割り当てを解除する、請求項1に記載の収容ボックスシステム。
【請求項4】
前記ボックスのうち、前記被収容物検知装置として、更に光センサを備える、高感度ボックスを備え、
前記制御装置は、前記利用者が収容する被収容物の重量が所定の基準に満たない場合、前記高感度ボックスを割り当てる、請求項2に記載の収容ボックスシステム。
【請求項5】
前記受板は、前記ボックスの開口側において、前記揺動機構を介して、片持ち梁状に前記底面上に固定される、請求項2に記載の収容ボックスシステム。
【請求項6】
前記ボックスは、一方の側面にのみ開口を備え、前記受板は、前記開口とは反対側において、前記揺動機構を介して、片持ち梁状に前記底面上に固定される、請求項2に記載の収容ボックスシステム。
【請求項7】
前記制御装置は、
割り当て前の前記特定のボックスにおける前記感圧センサの検出値を基準とし、割り当て後の前記特定のボックスにおける前記感圧センサの検出値の変化量を算出し、前記変化量に基づき、前記在荷状態を検知する、請求項2に記載の収容ボックスシステム。
発明の詳細な説明
【技術分野】
【0001】
本開示は、複数の利用者によって利用可能な収容ボックスシステムに関する。
続きを表示(約 2,100 文字)
【背景技術】
【0002】
集合住宅のエントランス、駅、公共施設、企業の施設等には、複数の利用者、特に、不特定多数の利用者によって利用可能な収容ボックスシステムが設置されることがある。典型的な収容ボックスシステムは、被収容物を収容可能とする空間を有する複数のボックスを備えている。このような収容ボックスシステムは、荷物、レンタル物、郵便物等の受け渡し、貴重品の保管等のために使用されている。
【0003】
収容ボックスシステムの利用方法には、大別して、2つの種類がある。ある被収容物に対してボックスが割り当てられる場合と、利用者に対して特定のボックスが割り当てられる場合である。
被収容物に対してボックスが割り当てられる場合、被収容物が収容された時点で、ボックスの専有が開始され、被収容物が取り出された時点で、当該ボックスの専有が解除される。その後、当該ボックスは、別の被収容物の収容のために割り当てられ得る。
一方、利用者(ユーザ)に対してボックスが割り当てられる場合、被収容物が収容されているか否かに関わらず、所定の期間、当該ボックスが特定の利用者に割り当てられる。つまり、カラ(空)の状態であっても、所定の期間は、特定の利用者によって当該ボックスが占有される。
【0004】
後者は、会議室、研修所、ゴルフ場、スポーツジム等に設置される場合がある。このような施設では、被収容物の出し入れが自由なボックスが、あたかも個人ロッカーのように使用されることがある。このような場合、ボックスにおける単純な在荷状態だけでなく、累積利用時間等に基づいて、各ボックスの専有状況をより詳細に管理することが要求される。この要求に応ずるべく、例えば特許文献1に記載されるような様々な収容ボックスシステムが提案されている。
【先行技術文献】
【特許文献】
【0005】
特開2009-155981号公報
【発明の概要】
【発明が解決しようとする課題】
【0006】
特許文献1に記載の収容ボックスシステムにおいては、ボックス内に荷物が収容されている状態であっても、所定の時刻になるとボックスの扉の施錠が強制的に解錠される。このことは、個人の荷物を保護するセキュリティの観点、ユーザビリティの観点等から好ましくない。また、収容ボックスにおいては、1箇所に可能な限り多くのボックスを配置することが求められるので、スペース効率を改善することも望まれる。そのため、上記のような収容ボックスシステムにおいては、ボックスの管理効率を改善する余地がある。
【0007】
本開示の課題は、従来技術が有する問題点の少なくともいずれかを解決することである。具体的な一つの課題は、ボックスの管理効率を改善可能とする収容ボックスシステムを提供することである。
【課題を解決するための手段】
【0008】
本開示の収容ボックスシステムの実施形態の一つは、制御装置により制御され、利用者に対して、所定期間、特定のボックスを割り当てて利用させる、収容ボックスシステムであって、前記制御装置は、メモリと、プロセッサと、前記メモリに記憶され、前記プロセッサにより実行可能に構成されたプログラムとを含み、前記プログラムは、利用者に対して特定のボックスを所定期間、割り当てる命令と、前記所定期間が経過したら、前記特定のボックスの在荷状態を検知する命令と、前記在荷状態を検知したら、前記利用者に対する前記特定のボックスの割り当て状態を継続する命令と、を含む、収容ボックスシステムである。
【発明の効果】
【0009】
本開示の収容ボックスシステムの具体的な一形態によれば、ボックスの管理効率が改善され得る。
【図面の簡単な説明】
【0010】
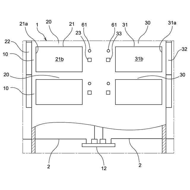
図1は、一実施形態に係る収容ボックスシステムを一部断面視しながら模式的に示す正面図である。
図2は、図1のW部拡大図である。
図3は、図1のX部拡大図である。
図4は、図3のY-Y線拡大断面図である。
図5は、図4のZ-Z線拡大断面図である。
図6は、一実施形態に係る収容ボックスシステムの制御装置の構成図である。
図7は、一実施形態に係る収容ボックスシステムのブロック図である。
図8は、一実施形態に係る収容ボックスシステムにおいてICカードの利用状況に基づいてボックスを選定する方法を説明するためのフローチャートである。
図9は、一実施形態に係る収容ボックスシステムにおける未利用モードのボックスの利用方法を説明するためのフローチャートである。
図10は、一実施形態に係る収容ボックスシステムにおける利用モードのボックスの利用方法を説明するためのフローチャートである。
図11は、一実施形態に係る収容ボックスシステムにおける各ボックスの利用モードの延長判定方法を説明するためのフローチャートである。
【発明を実施するための形態】
(【0011】以降は省略されています)
この特許をJ-PlatPat(特許庁公式サイト)で参照する
関連特許
株式会社東京精密
プローバ
1か月前
株式会社東京精密
プローバ
1か月前
株式会社東京精密
加工装置
1か月前
株式会社東京精密
加工装置
29日前
株式会社東京精密
加工装置
1か月前
株式会社東京精密
プローバ
1か月前
株式会社東京精密
搬送装置
29日前
株式会社東京精密
加工装置
1か月前
株式会社東京精密
研削装置
29日前
株式会社東京精密
加工装置
1か月前
株式会社東京精密
研削装置
25日前
株式会社東京精密
加工方法
1か月前
株式会社東京精密
プローバ
1か月前
株式会社東京精密
プローバ
1か月前
株式会社東京精密
加工装置
1か月前
株式会社東京精密
プローバ
1か月前
株式会社東京精密
亀裂測定器
29日前
株式会社東京精密
亀裂測定器
29日前
株式会社東京精密
電池検査装置
1か月前
株式会社東京精密
半導体製造装置
29日前
株式会社東京精密
ダイシング装置
29日前
株式会社東京精密
レーザ加工装置
29日前
株式会社東京精密
レーザ加工装置
29日前
株式会社東京精密
レーザ加工装置
29日前
株式会社東京精密
テープ貼付装置
29日前
株式会社東京精密
ダイシング装置
25日前
株式会社東京精密
ハブレスブレード
1か月前
株式会社東京精密
スラリー供給装置
1か月前
株式会社東京精密
加工装置及び加工方法
29日前
株式会社東京精密
収容ボックスシステム
1か月前
株式会社東京精密
ウェーハの面取り装置
29日前
株式会社東京精密
吸着装置及び研削装置
29日前
株式会社東京精密
校正方法及び校正装置
1か月前
株式会社東京精密
ウェーハの面取り装置
29日前
株式会社東京精密
ケーブルのガイド方法
29日前
株式会社東京精密
CMP装置及び研磨方法
1か月前
続きを見る
他の特許を見る