TOP
|
特許
|
意匠
|
商標
特許ウォッチ
Twitter
他の特許を見る
公開番号
2025154644
公報種別
公開特許公報(A)
公開日
2025-10-10
出願番号
2024057759
出願日
2024-03-29
発明の名称
研削装置
出願人
株式会社東京精密
代理人
弁理士法人太陽国際特許事務所
主分類
B24B
41/06 20120101AFI20251002BHJP(研削;研磨)
要約
【課題】ワークの研削精度を高くする。
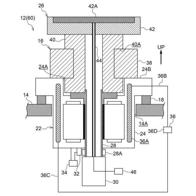
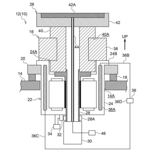
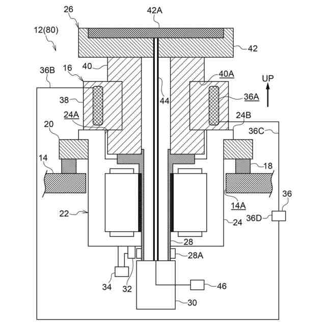
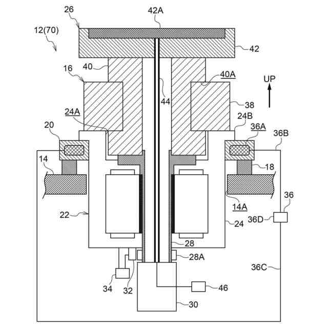
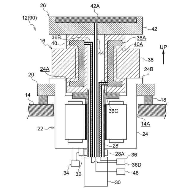
【解決手段】研削装置10では、ウエハステージ42の上面にワークが保持されて、ウエハステージ42がモータ22によって回転されることで、ワークが回転される。さらに、研削機構がワークを研削する。ここで、モータ22のケース24がウエハステージ42を支持しており、冷却機構36がケース24を冷却する。このため、ウエハステージ42で発生した加工熱、軸受ステータ38と軸受ロータ40の間で発生した摩擦熱、モータ22で発生した熱が、軸受ベース20および角度調整機構18へ伝わることを抑制するため、ウエハステージ42が傾いてしまうことを抑制できて、ワークの研削精度を高くできる。
【選択図】図2
特許請求の範囲
【請求項1】
ワークが保持されて回転されることで前記ワークが回転される保持体と、
前記保持体を回転可能に支持する支持体と、
前記保持体に保持されて回転される前記ワークを研削する研削機構と、
前記保持体及び前記支持体の少なくとも1つを冷却する冷却機構と、
を備える研削装置。
続きを表示(約 400 文字)
【請求項2】
前記保持体を構成する回転軸が設けられ、作動されて前記保持体が回転されるモータを備える請求項1記載の研削装置。
【請求項3】
外壁が前記支持体を構成し、作動されて前記保持体が回転されると共に、前記冷却機構が前記外壁を冷却するモータを備える請求項1記載の研削装置。
【請求項4】
前記支持体に設けられ、前記保持体を回転軸方向において支持すると共に、前記冷却機構によって冷却される軸支持部を備える請求項1記載の研削装置。
【請求項5】
前記保持体内に設けられ、流体が通過する通過路を備える請求項1記載の研削装置。
【請求項6】
前記保持体の回転速度を検出する検出装置と、
前記検出装置が検出する前記保持体の回転速度に基づき前記保持体の回転速度を制御する制御装置と、
を備える請求項1記載の研削装置。
発明の詳細な説明
【技術分野】
【0001】
本発明は、ワークを研削する研削装置に関する。
続きを表示(約 1,100 文字)
【背景技術】
【0002】
下記特許文献1に記載の研削装置では、チャックテーブル及びシャフト(支持板を含む)がハウジング及び傾き調整機構に回転可能に支持されており、シャフトが無端ベルトを介してモータの回転軸に連絡されている。そして、チャックテーブルに被加工物が保持されると共に、モータが作動されて無端ベルトを介してチャックテーブル及びシャフトが回転されることで、被加工物が回転されて、研削機構が被加工物を研削する。
【0003】
ここで、この研削装置では、仮に、シャフトが回転されることで、シャフトとハウジングとの間に摩擦熱が発生して、チャックテーブル、シャフト、ハウジング及び傾き調整機構の少なくとも1つがシャフトの回転軸方向に熱膨張すると、被加工物の回転軸方向の位置が変化して、被加工物の研削後の厚みの精度が低下する。
【0004】
また、このような研削装置では、チャックテーブルの回転を安定させることで、被加工物の回転周方向における研削ムラを抑制できる。
【先行技術文献】
【特許文献】
【0005】
特開2022-184395号公報
【発明の概要】
【発明が解決しようとする課題】
【0006】
本発明は、上記事実を考慮し、ワークの研削精度を高くできる研削装置を得ることが目的である。
【課題を解決するための手段】
【0007】
本発明の第1態様の研削装置は、ワークが保持されて回転されることで前記ワークが回転される保持体と、前記保持体を回転可能に支持する支持体と、前記保持体に保持されて回転される前記ワークを研削する研削機構と、前記保持体及び前記支持体の少なくとも1つを冷却する冷却機構と、を備える。
【0008】
本発明の第2態様の研削装置は、本発明の第1態様の研削装置において、前記保持体を構成する回転軸が設けられ、作動されて前記保持体が回転されるモータを備える。
【0009】
本発明の第3態様の研削装置は、本発明の第1態様又は第2態様の研削装置において、外壁が前記支持体を構成し、作動されて前記保持体が回転されると共に、前記冷却機構が前記外壁を冷却するモータを備える。
【0010】
本発明の第4態様の研削装置は、本発明の第1態様~第3態様の何れか1つの研削装置において、前記支持体に設けられ、前記保持体を回転軸方向において支持すると共に、前記冷却機構によって冷却される軸支持部を備える。
(【0011】以降は省略されています)
この特許をJ-PlatPat(特許庁公式サイト)で参照する
関連特許
株式会社東京精密
加工装置
27日前
株式会社東京精密
搬送装置
25日前
株式会社東京精密
加工方法
27日前
株式会社東京精密
プローバ
26日前
株式会社東京精密
研削装置
21日前
株式会社東京精密
加工装置
25日前
株式会社東京精密
研削装置
25日前
株式会社東京精密
亀裂測定器
25日前
株式会社東京精密
亀裂測定器
25日前
株式会社東京精密
半導体製造装置
25日前
株式会社東京精密
レーザ加工装置
25日前
株式会社東京精密
レーザ加工装置
25日前
株式会社東京精密
ダイシング装置
25日前
株式会社東京精密
レーザ加工装置
25日前
株式会社東京精密
テープ貼付装置
25日前
株式会社東京精密
ダイシング装置
21日前
株式会社東京精密
ハブレスブレード
27日前
株式会社東京精密
吸着装置及び研削装置
25日前
株式会社東京精密
ケーブルのガイド方法
25日前
株式会社東京精密
加工装置及び加工方法
25日前
株式会社東京精密
収容ボックスシステム
26日前
株式会社東京精密
ウェーハの面取り装置
25日前
株式会社東京精密
ウェーハの面取り装置
25日前
株式会社東京精密
CMP装置及び研磨方法
26日前
株式会社東京精密
加工方法、及び、加工装置
26日前
株式会社東京精密
面取り装置、及び、面取り方法
26日前
株式会社東京精密
亀裂検出装置及び亀裂検出方法
25日前
株式会社東京精密
レーザー加工装置の光軸補正方法
25日前
株式会社東京精密
レーザ加工装置及びレーザ加工方法
26日前
株式会社東京精密
レーザ加工方法及びレーザ加工装置
25日前
株式会社東京精密
保護膜検査方法及び保護膜検査装置
26日前
株式会社東京精密
チューブの固定構造及び測定ヘッド
25日前
株式会社東京精密
レーザ加工装置およびレーザ加工方法
26日前
株式会社東京精密
レーザ加工装置およびレーザ加工方法
26日前
株式会社東京精密
レーザ加工方法およびレーザ加工装置
26日前
株式会社東京精密
ダイシング装置及びドレッシング方法
25日前
続きを見る
他の特許を見る