TOP
|
特許
|
意匠
|
商標
特許ウォッチ
Twitter
他の特許を見る
10個以上の画像は省略されています。
公開番号
2025148922
公報種別
公開特許公報(A)
公開日
2025-10-08
出願番号
2024049286
出願日
2024-03-26
発明の名称
ウェーハセンシング装置
出願人
株式会社東京精密
代理人
個人
,
個人
,
個人
主分類
H01L
21/67 20060101AFI20251001BHJP(基本的電気素子)
要約
【課題】ウェーハのロードに必要なアームの種類を選択して提案できるウェーハセンシング装置を提供する。
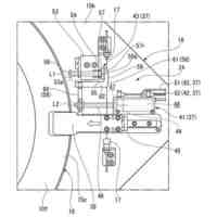
【解決手段】ウェーハセンシング装置1は、データ取得部2と、フィードバック部3と、データ蓄積部4と、提案部5と、を備える。データ取得部2は、ウェーハWを撮像して測定データを取得する。フィードバック部3は、ウェーハWをロードする際に、測定データに基づいてアームの挿入高さ及びアームの持ち上げ量を設定してフィードバックする。データ蓄積部4は、測定データ、アームによるロードの成功の是非、及びロードの際に用いるアームの種類をビッグデータとして蓄積する。提案部5は、ウェーハWのロードが失敗した場合に、ビッグデータに基づいてロードに適切なアームの種類を提案する。
【選択図】図1
特許請求の範囲
【請求項1】
カセット内に配列されたウェーハを撮像し、撮像データを用いてウェーハの測定データを取得するデータ取得部と、
前記カセット内から前記ウェーハを搬送ロボットのアームでロードする際に、前記測定データに基づいて前記アームの挿入高さ及び前記アームの持ち上げ量を設定して前記搬送ロボットにフィードバックするフィードバック部と、
前記測定データ、前記アームによる前記ロードの成功の是非、及び前記ロードの際に用いる前記アームの種類をビッグデータとして蓄積するデータ蓄積部と、
前記アームによる前記ウェーハの前記ロードが失敗した場合に、前記ビッグデータに基づいて前記ウェーハの前記ロードに適切な前記アームの種類を提案する提案部と、を備える、
ことを特徴とするウェーハセンシング装置。
続きを表示(約 770 文字)
【請求項2】
前記フィードバック部は、
前記カセットに配列された前記ウェーハにおいて一枚ごとに前記アームの挿入高さ及び前記アームの持ち上げ量を設定する、
ことを特徴とする請求項1に記載のウェーハセンシング装置。
【請求項3】
前記フィードバック部は、
前記ウェーハ間に適切な距離が存在せず、前記アームの挿入高さ及び前記アームの持ち上げ量を設定して前記搬送ロボットにフィードバックできない場合、前記アームの挿入高さ及び前記アームの持ち上げ量をフィードバックできるように前記ウェーハの入れ替えを提案する、
ことを特徴とする請求項1又は請求項2に記載のウェーハセンシング装置。
【請求項4】
カセット内に配列されたウェーハを撮像し、撮像データを用いてウェーハの形状、厚さを測定データとして取得するデータ取得部と、
前記カセット内から前記ウェーハを搬送ロボットのアームでロードする際に、前記測定データに基づいて前記アームの挿入高さ及び前記アームの持ち上げ量を設定して前記搬送ロボットにフィードバックするフィードバック部と、
前記測定データ、前記アームによる前記ロードの成功の是非、及び前記ロードの際に用いる前記アームの種類をビッグデータとして蓄積するデータ蓄積部と、
前記アームによる前記ウェーハの前記ロードが失敗した場合に、前記ビッグデータに基づいて前記ウェーハの前記ロードに適切な前記アームの種類を提案する提案部と、を備え、
前記フィードバック部は、
前記カセット内に配列されたウェーハを撮像するカメラでセンシングをおこなった際に、前記ウェーハに異常がある場合に異常を通知する、
ことを特徴とするウェーハセンシング装置。
発明の詳細な説明
【技術分野】
【0001】
本発明は、ウェーハセンシング装置に関する。
続きを表示(約 1,900 文字)
【背景技術】
【0002】
シリコン等のウェーハは、例えば、カセット内に配置されて半導体製造装置に接続され、カセットと半導体製造装置との間で搬送ロボット等のアームにより受け渡される。以下、アームによるウェーハの受け渡しを「ロード」ということがある。ここで、ウェーハを搬送ロボットでロードする際に、ウェーハの配置状態をウェーハマッピング装置によるマッピング処理により確認している。
マッピング処理用の装置として、例えば、カセットを挟むように光源と受光素子とを配置し、光源からの光を受光素子で受光し、受光した受光強度によりウェーハの有無を判別するウェーハマッピング装置が知られている(例えば、特許文献1参照)。
【0003】
また、マッピング処理用の装置として、例えば、マッピングセンサを用いたウェーハマッピング情報とカメラを用いたウェーハの撮像データを比較し、ウェーハの有無や異常を検知するウェーハマッピング装置が知られている(例えば、特許文献2参照)。
【先行技術文献】
【特許文献】
【0004】
特開2020-198381号公報
特開2013-4927号公報
【発明の概要】
【発明が解決しようとする課題】
【0005】
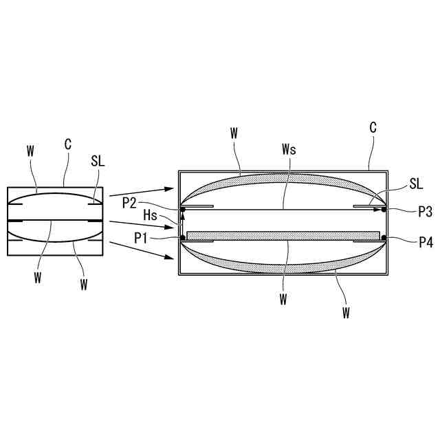
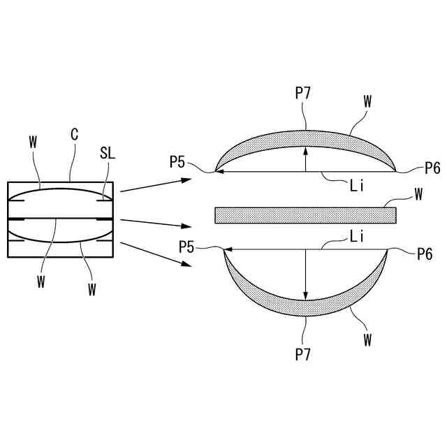
特許文献1のウェーハマッピング装置は、ウェーハで遮光している間を受光素子でウェーハ有と認識する。このため、例えば、ウェーハに反りや垂れがある場合、ウェーハ厚さや位置を正確に測定することは困難である。
また、特許文献2のウェーハマッピング装置は、例えば、ウェーハの反りや垂れを測定できた場合でも、ウェーハの撮像データを蓄積して、ウェーハのロードに必要なアームの種類を選択して提案することができない。このため、ウェーハの形状とアームの相性によりウェーハのロードが失敗する問題がある。
【0006】
本発明は、前述した事情に鑑みてなされたものであって、ウェーハのロードに必要なアームの種類を選択して提案できるウェーハセンシング装置を提供することを目的とする。
【課題を解決するための手段】
【0007】
前記課題を解決するために、本発明は以下の手段を提案している。
<1>本発明の一態様に係るウェーハセンシング装置は、カセット内に配列されたウェーハを撮像し、撮像データを用いてウェーハの測定データを取得するデータ取得部と、前記カセット内から前記ウェーハを搬送ロボットのアームでロードする際に、前記測定データに基づいて前記アームの挿入高さ及び前記アームの持ち上げ量を設定して前記搬送ロボットにフィードバックするフィードバック部と、前記測定データ、前記アームによる前記ロードの成功の是非、及び前記ロードの際に用いる前記アームの種類をビッグデータとして蓄積するデータ蓄積部と、前記アームによる前記ウェーハの前記ロードが失敗した場合に、前記ビッグデータに基づいて前記ウェーハの前記ロードに適切な前記アームの種類を提案する提案部と、を備えている。
【0008】
ウェーハセンシング装置によれば、カセット内に配列されたウェーハを撮像し、撮像データを用いてウェーハの形状、厚さを測定データとして取得する。測定データを取得した状態において、アームでロードする際に、測定データに基づいてアームの挿入高さ及びアームの持ち上げ量を設定する。設定したアームの挿入高さ及びアームの持ち上げ量を搬送ロボットにフィードバックして、設定したアームの挿入高さ及びアームの持ち上げ量に基づいてアームによるウェーハのロードを開始する。
測定データ、アームによるロードの成功の是非、及びロードの際に用いるアームの種類をビッグデータとして蓄積する。これにより、アームによるウェーハのロードが失敗した場合に、ビッグデータに基づいてウェーハのロードに適切なアームの種類を提案できる。
【0009】
<2>上記<1>に係るウェーハセンシング装置では、前記フィードバック部は、前記カセットに配列された前記ウェーハにおいて一枚ごとに前記アームの挿入高さ及び前記アームの持ち上げ量を設定してもよい。
【0010】
ウェーハセンシング装置によれば、アームの挿入高さ及びアームの持ち上げ量をウェーハの一枚ごとに設定する。これにより、全てのウェーハをアームでロードすることが可能である。
(【0011】以降は省略されています)
この特許をJ-PlatPat(特許庁公式サイト)で参照する
関連特許
株式会社東京精密
加工装置
20日前
株式会社東京精密
加工装置
6日前
株式会社東京精密
プローバ
6日前
株式会社東京精密
ロッカー
1か月前
株式会社東京精密
研削装置
1か月前
株式会社東京精密
プローバ
7日前
株式会社東京精密
加工装置
20日前
株式会社東京精密
プローバ
20日前
株式会社東京精密
プローバ
1日前
株式会社東京精密
加工装置
1日前
株式会社東京精密
加工装置
1日前
株式会社東京精密
加工方法
1日前
株式会社東京精密
プローバ
10日前
株式会社東京精密
プローバ
今日
株式会社東京精密
電池検査装置
10日前
株式会社東京精密
レーザ加工装置
1か月前
株式会社東京精密
カーフ洗浄装置
2か月前
株式会社東京精密
スラリー供給装置
21日前
株式会社東京精密
ハブレスブレード
1日前
株式会社東京精密
校正方法及び校正装置
6日前
株式会社東京精密
ウェーハ加工システム
3か月前
株式会社東京精密
収容ボックスシステム
今日
株式会社東京精密
CMP装置及び研磨方法
今日
株式会社東京精密
ウェーハセンシング装置
1日前
株式会社東京精密
加工方法、及び、加工装置
今日
株式会社東京精密
検査装置、及び、検査方法
1か月前
株式会社東京精密
面取り装置及び面取り方法
1日前
株式会社東京精密
測定装置及び移動体の制御方法
10日前
株式会社東京精密
測定装置及び移動体の制御方法
10日前
株式会社東京精密
形状測定装置及び形状測定方法
3か月前
株式会社東京精密
測定装置及び移動体の制御方法
10日前
株式会社東京精密
測定装置及び移動体の制御方法
10日前
株式会社東京精密
測定機の管理方法及び管理装置
10日前
株式会社東京精密
CMP装置、及び、CMP方法
1か月前
株式会社東京精密
形状測定装置及び形状測定方法
3か月前
株式会社東京精密
内径測定装置及びそのシステム
6日前
続きを見る
他の特許を見る