TOP
|
特許
|
意匠
|
商標
特許ウォッチ
Twitter
他の特許を見る
10個以上の画像は省略されています。
公開番号
2025154374
公報種別
公開特許公報(A)
公開日
2025-10-10
出願番号
2024057327
出願日
2024-03-29
発明の名称
レーザ加工装置
出願人
株式会社東京精密
代理人
個人
,
個人
,
個人
主分類
H01L
21/301 20060101AFI20251002BHJP(基本的電気素子)
要約
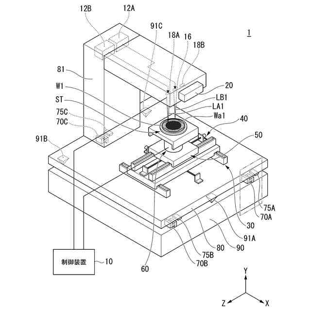
【課題】ステージ位置による各レーザ光間のズレを抑制することが可能なレーザ加工装置を提供する。
【解決手段】実施形態に係るレーザ加工装置は、レーザ光を出射するレーザ光源と、レーザ光から加工レーザ光を形成する光形成素子と、前記加工レーザ光を被加工物に集光する集光レンズと、を備える光学系と、前記被加工物を固定するステージと、前記ステージを移動させる移動機構と、前記移動機構を配置するベースプレートと、前記ベースプレートの変形量を測定する変形量測定機構と、前記変形量測定機構で測定された結果に基づいて、前記変形量を戻すように前記ベースプレートへ応力を印加する姿勢調整機構と、を備える。
【選択図】図1
特許請求の範囲
【請求項1】
レーザ光を出射するレーザ光源と、
レーザ光から加工レーザ光を形成する光形成素子と、
前記加工レーザ光を被加工物に集光する集光レンズと、
を備える光学系と、
前記被加工物を固定するステージと、
前記ステージを移動させる移動機構と、
前記移動機構を配置するベースプレートと、
前記ベースプレートの変形量を測定する変形量測定機構と、
前記変形量測定機構で測定された結果に基づいて、前記変形量を戻すように前記ベースプレートへ応力を印加する姿勢調整機構と、
を備える、レーザ加工装置。
続きを表示(約 270 文字)
【請求項2】
前記光学系は前記光学系のズレを測定するセンシング手段を備える、請求項1に記載のレーザ加工装置。
【請求項3】
前記変形量測定機構で測定された結果に基づいて、前記変形量を戻すように前記ベースプレートへ応力を印加した後、前記センシング手段により前記ズレが補正されたことを確認して姿勢調整を完了する、請求項2に記載のレーザ加工装置。
【請求項4】
前記ズレのうち前記ステージの位置由来のズレを検出し、前記位置由来のズレに基づいて、前記姿勢調整機構を動作させる、請求項2または3記載のレーザ加工装置。
発明の詳細な説明
【技術分野】
【0001】
本開示はレーザ加工装置に関する。
続きを表示(約 2,300 文字)
【背景技術】
【0002】
半導体の分野では、シリコン等の基板の表面に低誘電率絶縁体被膜(Low-k膜)と回路を形成する機能膜とを積層した積層体により複数のデバイスを形成しているウェーハ(半導体ウェーハ)が知られている。
【0003】
このようなウェーハは、複数のデバイスが格子状のストリートによって格子状に区画されており、ウェーハを分割予定ラインに沿って分割することにより個々のデバイスが製造される。
【0004】
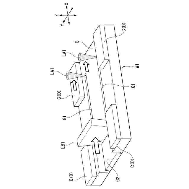
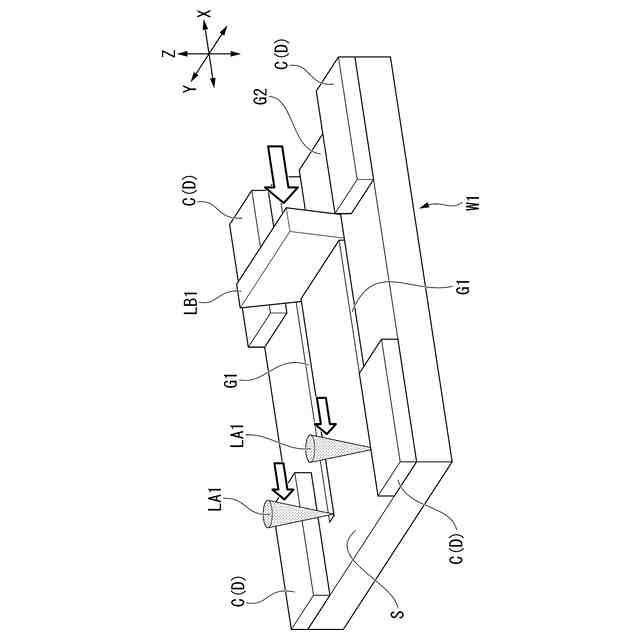
Low-k膜は、剥離しやすい性質を有するため、ブレードを用いたダイシングでは、Low-k膜を剥離してしまう場合がある。このような問題に対応するため、レーザアブレーションにより、Low-k膜を分割する第1の溝を分割予定の両側に2条形成した後、2条の第1の溝の間に第2の溝を形成する方法がある。
【0005】
被加工物にレーザ加工を行う場合、加工時間が短いこと、分割したデバイスなどへの熱の影響を抑制することなどが求められる。加工時間を短くする場合、1Passで加工を行えばよいが、その場合、1beam当たりのエネルギ―を高くする必要がある。1beam当たりのエネルギ―を高くすると、レーザ加工時に熱が発生しやすくなり、デバイスへの影響が増大する。一方、デバイスへの熱の影響を小さくするためには、1beam当たりのエネルギーを低くし、複数Passでレーザ加工することが考えられる。しかし、この場合、加工時間を短くすることが困難になる。
【0006】
特許文献1には、加工溝の加工品質の維持とタクトタイムの増加防止とを両立可能な技術として、第2レーザ光を加工送り方向に沿って複数の分岐光に分岐させる分岐素子と、分岐素子により分岐された複数の分岐光を、加工対象のストリートに集光させる第2集光レンズと、を備え、第2集光レンズによりストリートに集光される分岐光ごとのスポットの中で互いに隣り合う先行スポットと後行スポットとの間隔である分岐距離をLとし、相対移動の速度である加工速度をVとし、先行スポットの加工位置に対して後行スポットが重なるまでの時間をτとした場合に、時間がτ=L/Vで表され、第2溝の加工品質の悪化が発生する時間の閾値をτ1とした場合にτ>τ1を満たすレーザ加工装置が開示されている。
【先行技術文献】
【特許文献】
【0007】
特開2022-71402号公報
【発明の概要】
【発明が解決しようとする課題】
【0008】
被加工物(ウェーハ)を載せるステージは架台に支えられたベースプレート上に配置されている。レーザ加工のためにステージの位置を変化させると、ベースプレートにかかる荷重分布が変動する。これによって、ベースプレートに変形が生じ、加工点にズレが生じる。1つのレーザ光源で、上述の第1の溝および第2の溝を1つずつ形成する場合は、ステージの位置によって装置の姿勢や光学系に変形が起きたとしても、各加工点でのズレは、おおよそ同じとなるが、一方、特許文献1のように複数の分岐したレーザ光で加工を行う場合、加工点(スポット)の位置が加工進行方向で異なっているため、ステージ位置によるレーザ光のズレは同一のものとならず、ステージの位置によっては、各加工点で、レーザ光のズレに差が生じてしまう。また、複数のレーザ光源がある場合、それぞれの加工点への光路が二つ以上存在するため、ステージ位置によるレーザ光のズレはそれぞれ独立したものとなり、同様に各加工点において、ステージの位置によってレーザ光のズレに差が生じてしまう。
【0009】
本発明は、上記の事情を鑑みなされた発明であり、ステージ位置による各レーザ光間のズレを抑制することが可能なレーザ加工装置を提供すること目的とする。
【課題を解決するための手段】
【0010】
前記課題を解決するために、本発明は以下の手段を提案している。
<1>本発明の態様1のレーザ加工装置は、
レーザ光を出射するレーザ光源と、
レーザ光から加工レーザ光を形成する光形成素子と、
前記加工レーザ光を被加工物に集光する集光レンズと、
を備える光学系と、
前記被加工物を固定するステージと、
前記ステージを移動させる移動機構と、
前記移動機構を配置するベースプレートと、
前記ベースプレートの変形量を測定する変形量測定機構と、
前記変形量測定機構で測定された結果に基づいて、前記変形量を戻すように前記ベースプレートへ応力を印加する姿勢調整機構と、
を備える。
<2>本発明の態様2は、態様1のレーザ加工装置において、
前記光学系は前記光学系のズレを測定するセンシング手段を備えてもよい。
<3>本発明の態様3は、態様2のレーザ加工装置において、
前記変形量測定機構で測定された結果に基づいて、前記変形量を戻すように前記ベースプレートへ応力を印加した後、前記センシング手段により前記ズレが補正されたことを確認して姿勢調整を完了してもよい。
<4>本発明の態様4は、態様2または態様3のレーザ加工装置において、前記ズレのうち前記ステージの位置由来のズレを検出し、前記位置由来のズレに基づいて、前記姿勢調整機構を動作させてもよい。
【発明の効果】
(【0011】以降は省略されています)
この特許をJ-PlatPat(特許庁公式サイト)で参照する
関連特許
株式会社東京精密
加工装置
1か月前
株式会社東京精密
搬送装置
1か月前
株式会社東京精密
プローバ
1か月前
株式会社東京精密
プローバ
1か月前
株式会社東京精密
加工装置
1か月前
株式会社東京精密
研削装置
1か月前
株式会社東京精密
加工方法
1か月前
株式会社東京精密
研削装置
1か月前
株式会社東京精密
加工装置
1か月前
株式会社東京精密
亀裂測定器
1か月前
株式会社東京精密
亀裂測定器
1か月前
株式会社東京精密
レーザ加工装置
1か月前
株式会社東京精密
レーザ加工装置
1か月前
株式会社東京精密
ダイシング装置
1か月前
株式会社東京精密
テープ貼付装置
1か月前
株式会社東京精密
半導体製造装置
1か月前
株式会社東京精密
ダイシング装置
1か月前
株式会社東京精密
レーザ加工装置
1か月前
株式会社東京精密
ハブレスブレード
1か月前
株式会社東京精密
加工装置及び加工方法
1か月前
株式会社東京精密
ウェーハの面取り装置
1か月前
株式会社東京精密
収容ボックスシステム
1か月前
株式会社東京精密
ケーブルのガイド方法
1か月前
株式会社東京精密
吸着装置及び研削装置
1か月前
株式会社東京精密
ウェーハの面取り装置
1か月前
株式会社東京精密
CMP装置及び研磨方法
1か月前
株式会社東京精密
ウェーハセンシング装置
1か月前
株式会社東京精密
加工方法、及び、加工装置
1か月前
株式会社東京精密
面取り装置及び面取り方法
1か月前
株式会社東京精密
面取り装置、及び、面取り方法
1か月前
株式会社東京精密
亀裂検出装置及び亀裂検出方法
1か月前
株式会社東京精密
プローバおよびウェーハ冷却方法
1か月前
株式会社東京精密
レーザー加工装置の光軸補正方法
1か月前
株式会社東京精密
保護膜検査方法及び保護膜検査装置
1か月前
株式会社東京精密
レーザ加工装置及びレーザ加工方法
1か月前
株式会社東京精密
レーザ加工方法及びレーザ加工装置
1か月前
続きを見る
他の特許を見る