TOP
|
特許
|
意匠
|
商標
特許ウォッチ
Twitter
他の特許を見る
10個以上の画像は省略されています。
公開番号
2025152300
公報種別
公開特許公報(A)
公開日
2025-10-09
出願番号
2024054129
出願日
2024-03-28
発明の名称
プローバ
出願人
株式会社東京精密
代理人
個人
,
個人
,
個人
主分類
H01L
21/66 20060101AFI20251002BHJP(基本的電気素子)
要約
【課題】ウエハチャックが測定部の下面から離反して落下規制機構によって仮保持された後にも、ウエハチャックを適正な位置でアライメント装置に受け渡すことができるプローバを提供する。
【解決手段】プローバは、測定部と、ウエハチャックと、アライメント装置と、落下規制機構と、を備える。ウエハチャックは、ウエハを上面に保持し、測定部の下面に保持される。落下規制機構は、測定部の下面からのウエハチャックの落下を規制する。落下規制機構は、複数の落下規制爪と、位置制御装置と、を備える。位置制御装置は、複数の落下規制爪の位置を、ウエハチャックの落下規制爪間の通過を許容する後退位置と、測定部の下面から離反したウエハチャックを下方で受け止める中間位置と、ウエハチャックをセンタリングする前進位置と、に切り換え可能とされている。
【選択図】図11
特許請求の範囲
【請求項1】
テストヘッドに電気的に接続されるプローブカードを有する測定部と、
複数のチップが形成されたウエハを上面に保持し、前記測定部の下面に保持されて前記チップの電極を前記プローブカードの対応するプローブに接触させるウエハチャックと、
前記ウエハチャックに係脱可能に係合し、前記ウエハチャックを保持された前記ウエハを前記プローブカードに対して位置合わせするアライメント装置と、
前記測定部の下面からの前記ウエハチャックの落下を規制する落下規制機構と、を備え、
前記落下規制機構は、
前記測定部の下面側に進退自在に設けられ、前進状態において、前記測定部の下面からの前記ウエハチャックの落下を規制する複数の落下規制爪と、
複数の前記落下規制爪の進退位置を制御する位置制御装置と、を備え、
前記位置制御装置は、複数の前記落下規制爪の位置を、前記ウエハチャックの前記落下規制爪間の通過を許容する後退位置と、前記測定部の下面から離反した前記ウエハチャックを下方で受け止める中間位置と、前記ウエハチャックをセンタリングする前進位置と、に切り換え可能とされているプローバ。
続きを表示(約 470 文字)
【請求項2】
前記ウエハチャックの外周縁部は、当該ウエハチャックの上面に保持される前記ウエハと同心の円形に形成され、
各前記落下規制爪は、前記ウエハチャックの径方向に沿うように進退動作する請求項1に記載のプローバ。
【請求項3】
前記落下規制爪は、前記ウエハチャックの外周方向に離間して二つ以上設けられている請求項2に記載のプローバ。
【請求項4】
各前記落下規制爪は、
前記ウエハチャックの外周縁部の下面を支持可能な水平な支持面と、
前記支持面のうちの、前記ウエハチャックの軸心位置から離間する側の端部から起立する規制壁と、を備え、
前記規制壁の前記ウエハチャックの前記外周縁部に臨む側の面が、前記落下規制爪が前記前進位置にあるときに前記外周縁部に当接するセンタリング面とされている請求項2または3に記載のプローバ。
【請求項5】
前記センタリング面は、下方に向かって前記ウエハチャックの軸心側に傾斜する傾斜面によって構成されている請求項4に記載のプローバ。
発明の詳細な説明
【技術分野】
【0001】
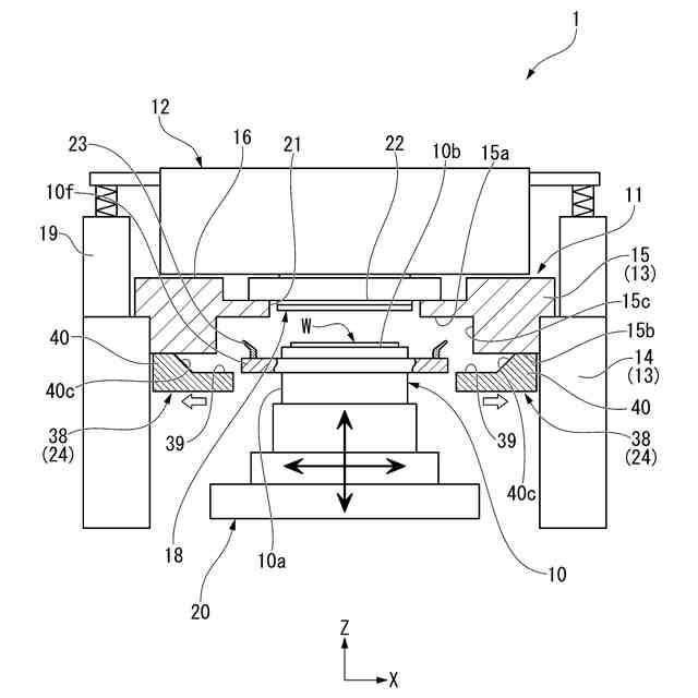
本発明は、半導体ウエハに形成された半導体装置(チップ)の電気的特性の検査を行うプローバに関するものである。
続きを表示(約 1,700 文字)
【背景技術】
【0002】
半導体製造工程は、多数の工程を有し、品質保証及び歩留まりの向上のために、各製造工程で複数種の検査が行われる。例えば、半導体ウエハ(以下、単に「ウエハ」と称する。)上に半導体装置である複数のチップが形成された段階で、各チップの電極をテストヘッドに接続し、テストヘッドから電源電流及びテスト信号を供給し、各チップの出力する信号をテストヘッドで測定して、正常に動作するか否かを電気的に検査するウエハレベル検査が行われる。
【0003】
上述のウエハレベル検査の後、ウエハはフレームに貼り付けられ、ダイサで個別のチップに切断される。切断された各チップは、正常に動作することが確認されたチップのみが次の組み立て工程でパッケージ化され、動作不良のチップは組み立て工程から除かれる。さらに、パッケージ化された最終製品は、出荷検査が行われる。
【0004】
ウエハレベル検査は、ウエハ上の各チップの電極にプローブを接触させるプローバを使用して行われる。電極に接触させるプローブは、テストヘッドに装着されるプローブカードに設けられている。プローブは、テストヘッドの端子に電気的に接続されている。テストヘッドから供給された電源電流やテスト信号はプローブを通して各チップに入力され、各チップからの出力信号はプローブを通してテストヘッドに出力される。テストヘッドでは各チップから出力された信号を測定し、その測定値を基にしてチップが正常に動作するか否かを判定する。
【0005】
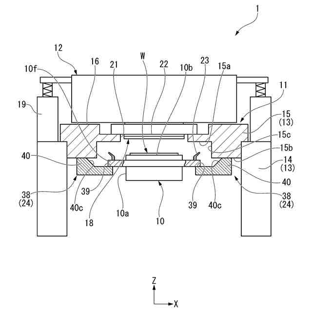
ウエハレベル検査で用いられるプローバとして、ウエハを上面側で保持し、その状態で筐体の天井壁の下面(測定部の下面)に真空吸着されるウエハチャック(ウエハトレイ)を用いるものが知られている(例えば、特許文献1,2参照)。
【0006】
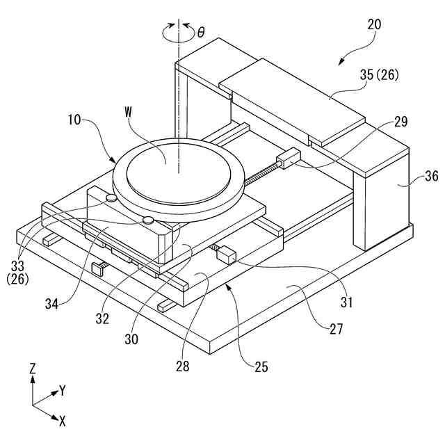
このプローバは、検査対象のウエハを保持したウエハチャックを筐体の天井壁の下面に真空吸着によって保持することにより、ウエハ上の電極をプローブカードの対応するプローブに押し付け、各プローブと対応する電極を接続状態に維持する。このプローバの場合、ウエハチャックのみによってウエハとプローブカードを接続状態に維持することができるため、ウエハチャックを介したウエハとプローブカードの位置決めや、ウエハチャックの搬送を行うアライメント装置を測定部の下方に留めておく必要が無くなる。このため、アライメント装置を他の測定部においても共用することができる。
【0007】
また、ウエハチャックが真空吸着によって筐体の天井壁に保持されるこの種のプローバの場合、ウエハチャックが吸着された状態で電源がOFFにされたとき等に、ウエハチャックが下方に落下することが懸念される。
【0008】
このため、引用文献1,2に記載のプローバでは、ウエハチャックの落下を機械的に規制する落下規制機構が設けられている。この落下規制機構は、ウエハチャックと筐体の天井壁のいずれか一方に、他方に対して機械的に係合可能なフック部材が設けられている。このプローバでは、ウエハチャックの真空吸着とともにフック部材を相手部材に係合可能な位置に変位させることにより、万が一のウエハチャックの落下を規制することができる。
【先行技術文献】
【特許文献】
【0009】
国際公開第2011/016097号
特開2020-113701号公報
【発明の概要】
【発明が解決しようとする課題】
【0010】
特許文献1,2に記載のプローバは、天井壁に吸着されたウエハチャックが電源のOFF等によって天井壁から離反した場合であっても、落下規制機構によってウエハチャックの落下を規制することができる。しかし、この状態からウエハチャックをアライメント装置の係合部に受け渡す際には、正規位置で待機しているアライメント装置の係合部に対し、ウエハチャックの位置がずれる場合がある。
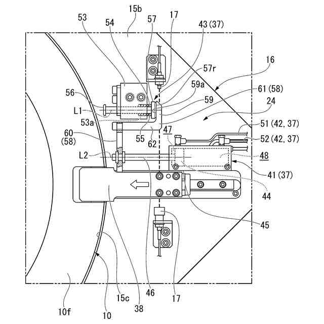
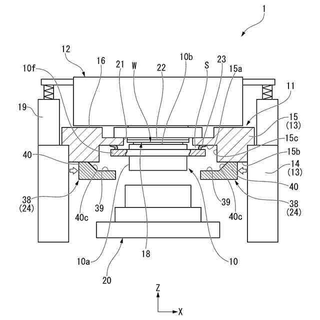
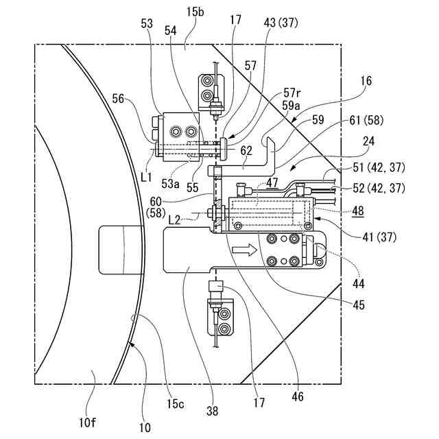
(【0011】以降は省略されています)
この特許をJ-PlatPat(特許庁公式サイト)で参照する
関連特許
株式会社東京精密
加工装置
29日前
株式会社東京精密
プローバ
19日前
株式会社東京精密
プローバ
10日前
株式会社東京精密
加工装置
10日前
株式会社東京精密
加工装置
10日前
株式会社東京精密
加工方法
10日前
株式会社東京精密
加工装置
15日前
株式会社東京精密
プローバ
9日前
株式会社東京精密
プローバ
15日前
株式会社東京精密
加工装置
8日前
株式会社東京精密
プローバ
16日前
株式会社東京精密
搬送装置
8日前
株式会社東京精密
研削装置
4日前
株式会社東京精密
研削装置
8日前
株式会社東京精密
亀裂測定器
8日前
株式会社東京精密
亀裂測定器
8日前
株式会社東京精密
電池検査装置
19日前
株式会社東京精密
半導体製造装置
8日前
株式会社東京精密
レーザ加工装置
8日前
株式会社東京精密
ダイシング装置
8日前
株式会社東京精密
レーザ加工装置
8日前
株式会社東京精密
ダイシング装置
4日前
株式会社東京精密
レーザ加工装置
8日前
株式会社東京精密
テープ貼付装置
8日前
株式会社東京精密
ハブレスブレード
10日前
株式会社東京精密
収容ボックスシステム
9日前
株式会社東京精密
校正方法及び校正装置
15日前
株式会社東京精密
加工装置及び加工方法
8日前
株式会社東京精密
ケーブルのガイド方法
8日前
株式会社東京精密
ウェーハの面取り装置
8日前
株式会社東京精密
吸着装置及び研削装置
8日前
株式会社東京精密
ウェーハの面取り装置
8日前
株式会社東京精密
ウェーハセンシング装置
10日前
株式会社東京精密
CMP装置及び研磨方法
9日前
株式会社東京精密
加工方法、及び、加工装置
9日前
株式会社東京精密
面取り装置及び面取り方法
10日前
続きを見る
他の特許を見る