TOP
|
特許
|
意匠
|
商標
特許ウォッチ
Twitter
他の特許を見る
公開番号
2025145972
公報種別
公開特許公報(A)
公開日
2025-10-03
出願番号
2024046511
出願日
2024-03-22
発明の名称
プローバ
出願人
株式会社東京精密
代理人
弁理士法人インターブレイン
主分類
H01L
21/66 20060101AFI20250926BHJP(基本的電気素子)
要約
【課題】ドライガスの消費を抑えつつ、ウェーハ等の結露を防止可能なプローバを提供する。
【解決手段】プローバ1は、ウェーハWに形成されたデバイスの電気的特性を検査する。プローバ1は、検査が行われる検査エリア10が形成された筐体2と、検査エリア10に全体的にドライガスを供給する第1供給部と、検査エリアの一部に局所的にドライガスを供給する第2供給部と、各供給部によるドライガスの供給を制御する制御部20と、を備える。
【選択図】図3
特許請求の範囲
【請求項1】
ウェーハに形成されたデバイスの電気的特性を検査するプローバであって、
検査が行われる検査エリアが形成された筐体と、
前記検査エリアに全体的にドライガスを供給する第1供給部と、
前記検査エリアの一部に局所的にドライガスを供給する第2供給部と、
各供給部によるドライガスの供給を制御する制御部と、
を備える、プローバ。
続きを表示(約 680 文字)
【請求項2】
前記制御部は、前記第1供給部によりドライガスを供給する期間の一部において、前記第2供給部によるドライガスの供給を実行する、請求項1に記載のプローバ。
【請求項3】
前記第2供給部は、結露の影響を受ける部品の上方に位置し得る特定の部品又は部材に対して局所的にドライガスを供給する、請求項1又は2に記載のプローバ。
【請求項4】
前記ウェーハを保持するウェーハチャックと、
前記ウェーハに形成されたデバイスの電極の位置を検出するために前記デバイスの表面を撮像するアライメントカメラと、
前記アライメントカメラと一体に設けられる熱対策部品と、
前記アライメントカメラによる撮像に際し、前記ウェーハチャックを前記アライメントカメラの下方へ移動させる移動機構と、
を備え、
前記第2供給部は、前記熱対策部品において前記ウェーハの直上に位置し得る特定箇所に向けてドライガスを供給する、請求項3に記載のプローバ。
【請求項5】
前記制御部は、前記ウェーハチャックが前記特定箇所の直下から退避しているときに前記第2供給部によるドライガスの供給を実行する、請求項4に記載のプローバ。
【請求項6】
前記第2供給部は、前記検査エリアの隅部又は狭小エリアに向けてドライガスを供給する、請求項1又は2に記載のプローバ。
【請求項7】
前記第2供給部は、前記検査エリアにおける空気の淀み箇所に向けてドライガスを供給する、請求項1又は2に記載のプローバ。
発明の詳細な説明
【技術分野】
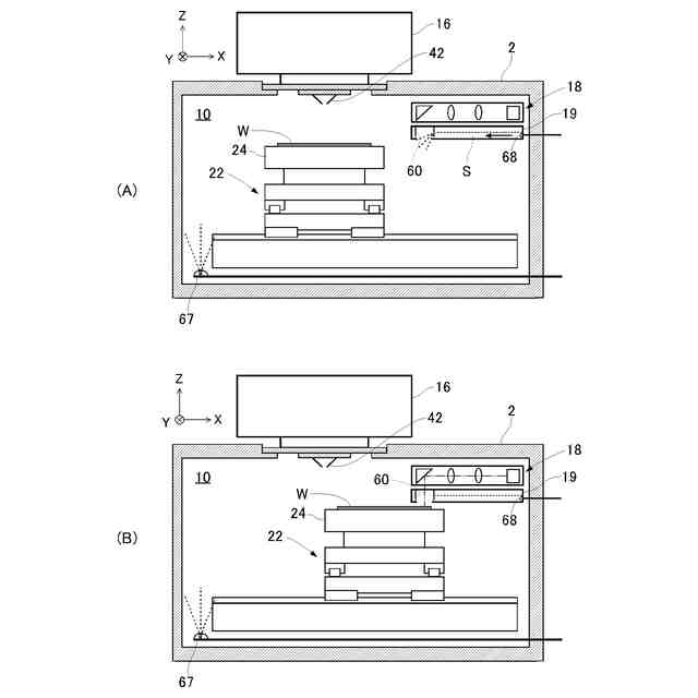
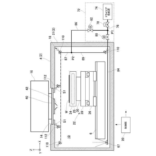
【0001】
本発明は、ウェーハに形成されたデバイスを検査するプローバに関する。
続きを表示(約 1,400 文字)
【背景技術】
【0002】
半導体製造の前工程で多数のデバイスが形成されたウェーハは、ダイシング工程においてデバイスごとに複数のチップに分割される。そのダイシング工程に先立ち、ウェーハ上のデバイスの中から不良品を除くためのプロービングが行われる。プロービングは、ウェーハに形成されたデバイスの電気的特性を検査することで不良品を特定するウェーハレベル検査である。このプロービングを行う装置がプローバである(特許文献1参照)。
【0003】
プローバは、プローブを有するプローブカードを備える。プローブは、テスタに電気的に接続される。プローブカードにウェーハを当接させることにより、プローブをデバイスの電極に接触させる。テスタからプローブを介してデバイスに電気信号を送り、その電気的特性を検査することで不良品であるかどうかを判定する。
【0004】
ところで、プロービングは、デバイスの機能性を担保するために様々な使用環境を考慮してなされる。このため、高温状態(例えば150℃)から低温状態(例えば-40℃)まで様々な温度環境下での検査が要求される。こうした要求に応えるために、ウェーハを支持するウェーハチャックの内部に加熱冷却構造が設けられる。低温環境下で検査を行う場合には、結露によってデバイスが破壊されないよう、検査エリア全体をドライエアでパージして露点を下げるなどの工夫がなされる。
【先行技術文献】
【特許文献】
【0005】
特開2020-136569号公報
【発明の概要】
【発明が解決しようとする課題】
【0006】
検査エリアには、ウェーハを検査又は観測し、あるいは移動させるための様々な機器および機構が設けられる。このため、それらの構造や配置による狭小エリアが存在する。このような狭小エリアには湿った空気が滞留しやすく、検査エリアをドライエアでパージしても露点が下がり難い。そこで、狭小エリアのうち特に結露が問題となる箇所に露点計を設置し、ドライエアのパージが開始されてから露点計の露点温度が検査温度を下回るまで検査を待機するなどの方法がとられる。
【0007】
しかし、このような狭小エリアごとに露点計を設置するとコストがかかる。また、特定の狭小エリアの露点を下げるためにパージ時間が長くなると、ドライエアを大量に消費することになるためコストが嵩む。検査前のパージ時間が長くなることで、半導体製造全体のスループットが低下することにもなる。
【0008】
本発明はこのような事情に鑑みてなされたものであり、その目的の一つは、ドライガスの消費を抑えつつ、ウェーハ等の結露を防止可能なプローバを提供することにある。
【課題を解決するための手段】
【0009】
本発明のある態様は、ウェーハに形成されたデバイスの電気的特性を検査するプローバである。プローバは、検査が行われる検査エリアが形成された筐体と、検査エリアに全体的にドライガスを供給する第1供給部と、検査エリアの一部に局所的にドライガスを供給する第2供給部と、各供給部によるドライガスの供給を制御する制御部と、を備える。
【発明の効果】
【0010】
本発明によれば、ドライガスの消費を抑えつつ、ウェーハ等の結露を防止可能なプローバを提供できる。
【図面の簡単な説明】
(【0011】以降は省略されています)
この特許をJ-PlatPat(特許庁公式サイト)で参照する
関連特許
株式会社東京精密
搬送装置
1か月前
株式会社東京精密
加工装置
1か月前
株式会社東京精密
プローバ
1か月前
株式会社東京精密
研削装置
1か月前
株式会社東京精密
研削装置
1か月前
株式会社東京精密
亀裂測定器
1か月前
株式会社東京精密
亀裂測定器
1か月前
株式会社東京精密
テープ貼付装置
1か月前
株式会社東京精密
レーザ加工装置
1か月前
株式会社東京精密
レーザ加工装置
1か月前
株式会社東京精密
レーザ加工装置
1か月前
株式会社東京精密
ダイシング装置
1か月前
株式会社東京精密
半導体製造装置
1か月前
株式会社東京精密
ダイシング装置
1か月前
株式会社東京精密
吸着装置及び研削装置
1か月前
株式会社東京精密
ケーブルのガイド方法
1か月前
株式会社東京精密
ウェーハの面取り装置
1か月前
株式会社東京精密
加工装置及び加工方法
1か月前
株式会社東京精密
ウェーハの面取り装置
1か月前
株式会社東京精密
加工方法、及び、加工装置
1か月前
株式会社東京精密
亀裂検出装置及び亀裂検出方法
1か月前
株式会社東京精密
面取り装置、及び、面取り方法
1か月前
株式会社東京精密
レーザー加工装置の光軸補正方法
1か月前
株式会社東京精密
レーザ加工方法及びレーザ加工装置
1か月前
株式会社東京精密
レーザ加工装置及びレーザ加工方法
1か月前
株式会社東京精密
チューブの固定構造及び測定ヘッド
1か月前
株式会社東京精密
レーザ加工装置およびレーザ加工方法
1か月前
株式会社東京精密
レーザ加工方法およびレーザ加工装置
1か月前
株式会社東京精密
温度調整システムおよび循環ユニット
1か月前
株式会社東京精密
レーザ加工装置およびレーザ加工方法
1か月前
株式会社東京精密
ダイシング装置及びドレッシング方法
1か月前
株式会社東京精密
レーザー加工方法及びレーザー加工装置
1か月前
株式会社東京精密
三位置制御装置、及び、三位置制御方法
1か月前
株式会社東京精密
研削性能判定装置及び研削性能判定方法
1か月前
株式会社東京精密
ウェーハの面取り装置、及び、面取り方法
1か月前
株式会社東京精密
ウェーハの面取り装置、及び、面取り方法
1か月前
続きを見る
他の特許を見る