TOP
|
特許
|
意匠
|
商標
特許ウォッチ
Twitter
他の特許を見る
公開番号
2025153114
公報種別
公開特許公報(A)
公開日
2025-10-10
出願番号
2024055410
出願日
2024-03-29
発明の名称
チューブの固定構造及び測定ヘッド
出願人
株式会社東京精密
代理人
個人
,
個人
,
個人
,
個人
主分類
F16L
33/10 20060101AFI20251002BHJP(機械要素または単位;機械または装置の効果的機能を生じ維持するための一般的手段)
要約
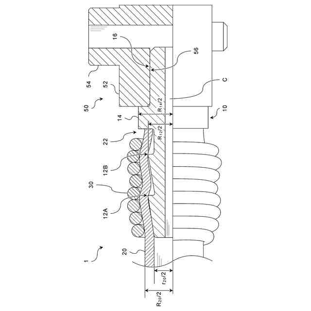
【課題】 チューブの接続箇所の小型化を実現することができ、チューブの挿脱が容易なチューブの固定構造及び測定ヘッドを提供する。
【解決手段】 チューブの固定構造(1、1A)は、外周に凸部が設けられたニップル(10、110-1、110-2、112-1、112-2、210、212)と、可撓性を有し、ニップルに嵌装されるチューブ(20、120、122、220、222)と、ニップルに嵌装されたチューブに嵌装されるばねであって、内径がチューブの外径よりも小さいばね(30、30A)とを備える。
【選択図】 図1
特許請求の範囲
【請求項1】
外周に凸部が設けられたニップルと、
可撓性を有し、前記ニップルに嵌装されるチューブと、
前記ニップルに嵌装された前記チューブに嵌装されるばねであって、内径が前記チューブの外径よりも小さいばねと、
を備えるチューブの固定構造。
続きを表示(約 340 文字)
【請求項2】
前記チューブの内径は、前記凸部の最大径よりも小さい、請求項1に記載のチューブの固定構造。
【請求項3】
前記ばねは、ステンレス鋼を含むばね材である、請求項1に記載のチューブの固定構造。
【請求項4】
ワークの測定を行う測定部と、
ガスの供給及び排出のために設けられたニップルと、
前記ニップルを介して、前記ガスの供給及び排出を行うためのチューブとを備え、
前記チューブは、請求項1から3のいずれか1項に記載のチューブの固定構造により前記ニップルに固定される、測定ヘッド。
【請求項5】
前記ガスのガス圧を利用して前記測定部の移動及び退避を行うリトラクト機能を備える、請求項4に記載の測定ヘッド。
発明の詳細な説明
【技術分野】
【0001】
本発明はチューブの固定構造及び測定ヘッドに係り、特にガスの供給又は排出に用いられるチューブを固定する技術に関する。
続きを表示(約 1,600 文字)
【背景技術】
【0002】
従来、接続先のパイプにチューブを接続して固定するためのチューブ用継手等が提案されている。
【0003】
特許文献1には、樹脂チューブを接続するための樹脂チューブ用継手が開示されている。特許文献1に記載の樹脂チューブ用継手は、樹脂チューブの外周壁にナットを嵌め込んだ状態で、樹脂チューブを継手本体に形成されたオネジ部に押し込んだ後、オネジ部にナットを螺合させ、樹脂チューブを挟み込んで固定するようになっている。
【0004】
特許文献2には、樹脂チューブと相手パイプとを接続するためのクイックコネクタが開示されている。特許文献2に記載のクイックコネクタは、圧入固定部を樹脂チューブの内部に圧入して、クイックコネクタと樹脂チューブを結合するようになっている。クイックコネクタの圧入固定部には、断面鋸刃状の2つの環状喰込部と、2つの環状喰込部の間に形成され、環状喰込部よりも小径の円環状の環状圧接部が設けられている。そして、環状喰込部と環状圧接部との間の段差により、樹脂チューブ内面に対する環状喰込部の喰込みの深さを深くするようになっている。
【0005】
特許文献3には、継手の筒状本体にチューブを接続するためのスリーブが開示されている。特許文献3に記載のスリーブにおいて、第1周壁端部は筒状本体に対向しており、第2周壁端部はチューブの開口端に圧入される。そして、内径が3段階に狭まっているナットを筒状本体に螺合させることにより、ナットとスリーブとの間にチューブが挟まれて固定される。
【0006】
特許文献4には、チューブを接続するためのチューブ用継手が開示されている。特許文献4に記載のチューブ用継手は、ばね性を有する一体の板金材により形成された二重筒構造をなす取付具を備えており、取付具の外筒部には、縮径を許容するためのすり割りが形成されている。このチューブ用継手の継手本体の収容部にチューブの端部を挿入した状態で、この取付具を収容部に押し込むことにより、組み付け作業が行われる。
【先行技術文献】
【特許文献】
【0007】
特開平11-315982号公報
特開2009-085346号公報
特開2020-085204号公報
特開2001-165377号公報
【発明の概要】
【発明が解決しようとする課題】
【0008】
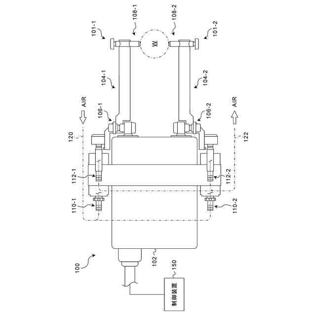
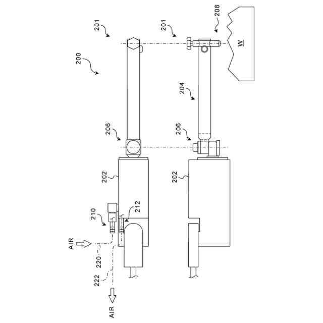
ところで、ワークの形状又は寸法等の測定に用いられる測定ヘッドには、ガス圧を利用して測定部の移動及び退避を行うガス圧式のリトラクト機能を設ける場合がある。ガス圧式のリトラクト機能では、ガスの供給口及び排出口に固定されたチューブを介してガスの供給及び排出を行う。このようなガスの供給口及び排出口では、返しが形成されたニップルを設けて、このニップルにチューブを嵌めることで、ガスの供給口及び排出口にチュー
ブを接続する。ニップルにチューブを嵌めるだけでも、ニップルの返しによりチューブを抜けにくくすることができるので、一定の引き抜き強度を確保することができる。
【0009】
しかしながら、ニップルに嵌装されたチューブは、クーラントの影響により膨潤して抜けやすくなる場合がある。また、チューブの接続箇所において温度変化が生じた場合にも、その影響によりチューブが抜けやすくなる場合がある。
【0010】
そのため、チューブを接続箇所に押し付ける抜け止め等を設けて、チューブの引き抜き強度を確保することが考えられる。しかしながら、抜け止めを設けると、チューブの接続箇所が大きくなるという問題がある。例えば、特許文献1、3及び4では、ネジの継手等の受け手側の部品が必要になるため、接続箇所がチューブの径と比較して大径になってしまう。
(【0011】以降は省略されています)
この特許をJ-PlatPat(特許庁公式サイト)で参照する
関連特許
株式会社東京精密
研削装置
26日前
株式会社東京精密
搬送装置
26日前
株式会社東京精密
加工装置
26日前
株式会社東京精密
研削装置
22日前
株式会社東京精密
半導体製造装置
26日前
株式会社東京精密
レーザ加工装置
26日前
株式会社東京精密
ダイシング装置
26日前
株式会社東京精密
テープ貼付装置
26日前
株式会社東京精密
レーザ加工装置
26日前
株式会社東京精密
ダイシング装置
22日前
株式会社東京精密
吸着装置及び研削装置
26日前
株式会社東京精密
ウェーハの面取り装置
26日前
株式会社東京精密
ウェーハの面取り装置
26日前
株式会社東京精密
ケーブルのガイド方法
26日前
株式会社東京精密
レーザー加工装置の光軸補正方法
26日前
株式会社東京精密
ダイシング装置及びドレッシング方法
26日前
株式会社東京精密
ウェーハの面取り装置、及び、面取り方法
26日前
株式会社東京精密
ダイシング装置及びドレスボードの交換方法
26日前
株式会社東京精密
ウェーハの搬送アーム及びウェーハの搬送システム
22日前
株式会社東京精密
ダイシング装置およびダイシング装置のトリミング方法
26日前
株式会社東京精密
ダイシング装置およびダイシング装置のトリミング方法
26日前
株式会社東京精密
レーザー加工装置の光軸補正方法およびレーザー加工装置
26日前
株式会社東京精密
CMP装置
12日前
株式会社東京精密
加工品質測定装置
22日前
株式会社東京精密
加工システム及び方法
22日前
株式会社東京精密
プローバ制御装置及びプローバ制御方法
14日前
株式会社東京精密
ウェハ加工システム及びウェハ加工方法
6日前
株式会社KELK
半導体ウエハの温度制御装置及び半導体ウエハの温度制御方法
22日前
個人
留め具
22日前
個人
鍋虫ねじ
2か月前
個人
紛体用仕切弁
2か月前
個人
回転伝達機構
3か月前
個人
差動歯車用歯形
4か月前
個人
給排気装置
29日前
個人
ジョイント
1か月前
個人
ナット
今日
続きを見る
他の特許を見る