TOP
|
特許
|
意匠
|
商標
特許ウォッチ
Twitter
他の特許を見る
10個以上の画像は省略されています。
公開番号
2025153863
公報種別
公開特許公報(A)
公開日
2025-10-10
出願番号
2024056542
出願日
2024-03-29
発明の名称
ウェーハの面取り装置、及び、面取り方法
出願人
株式会社東京精密
代理人
スプリング弁理士法人
主分類
B24B
53/00 20060101AFI20251002BHJP(研削;研磨)
要約
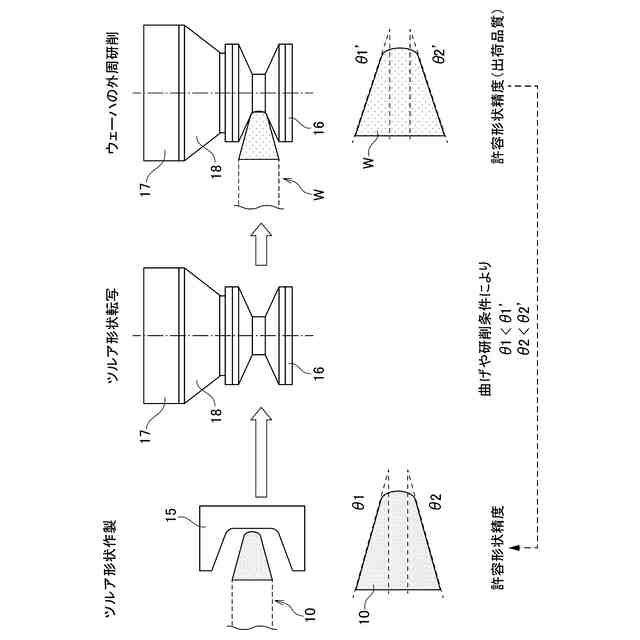
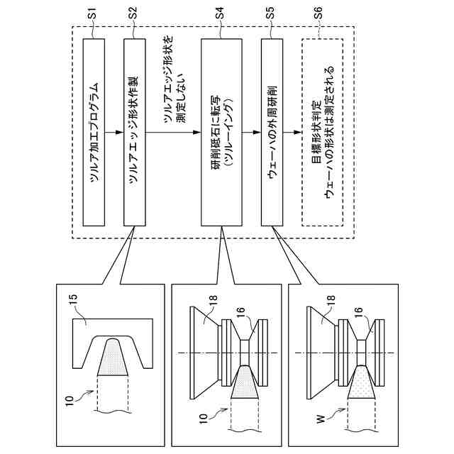
【課題】最終成果物であるウェーハ(半導体材料基板)の品質を効率良く維持して歩留まりを向上したウェーハの面取り装置を得る。
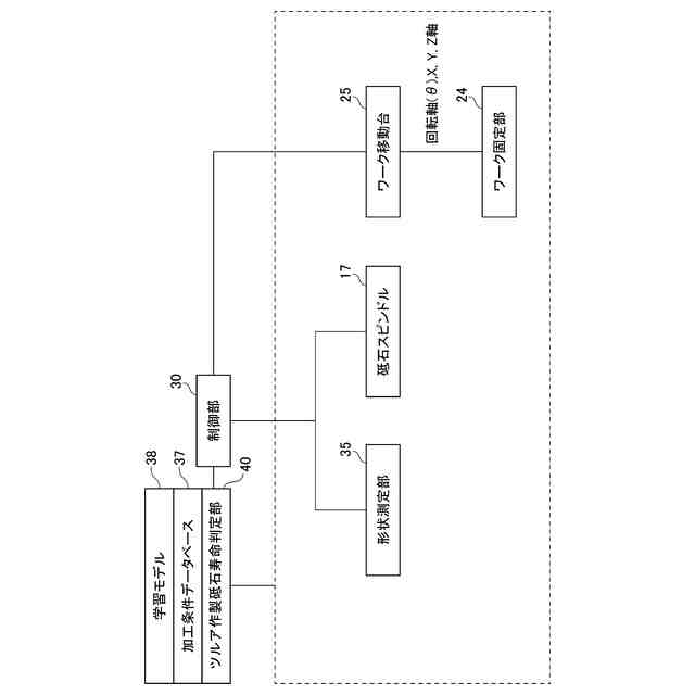
【解決手段】研削砥石16をツルア10によりツルーイング(S4)し、ツルーイング(S4)された研削砥石16を用いてウェーハWの外周のエッジ部を研削するウェーハの面取り装置において、ツルア10のエッジ部を作製するツルア作製砥石15と、ウェーハの断面形状を測定する形状測定部35と、ツルア作製砥石15とツルア10及び研削砥石16の加工条件を制御する制御部30と、研削砥石16で加工されたウェーハWの断面形状を形状測定部35で測定(S6)し、目標形状と比較してツルア作製砥石15の寿命を判定するツルア作製砥石15の寿命判定部40と、を備える。
【選択図】図1
特許請求の範囲
【請求項1】
研削砥石をツルアによりツルーイングし、前記ツルーイングされた前記研削砥石を用いてウェーハの外周のエッジ部を研削するウェーハの面取り装置において、
前記ツルアのエッジ部を作製するツルア作製砥石と、
前記ウェーハの断面形状を測定する形状測定部と、
前記ツルア作製砥石と前記ツルア及び前記研削砥石の加工条件を制御する制御部と、
前記研削砥石で加工された前記ウェーハの断面形状を前記形状測定部で測定し、目標形状と比較して前記ツルア作製砥石の寿命を判定する前記ツルア作製砥石の寿命判定部と、
を備えたことを特徴とするウェーハの面取り装置。
続きを表示(約 1,000 文字)
【請求項2】
前記加工条件と、前記ツルーイング後の前記形状測定部の測定結果とを関連付けて記憶した加工条件データベースと、
前記加工条件データベースから構築された学習モデルと、
を備え、前記ツルア作製砥石の寿命判定部は、前記学習モデルに基づいて前記ツルア作製砥石の寿命を判定することを特徴とする請求項1に記載のウェーハの面取り装置。
【請求項3】
前記ツルア作製砥石の寿命判定部は、前記形状測定部で前記ツルアのエッジ形状を測定し、許容形状精度を満たしていない場合に前記ツルア作製砥石が寿命に到達したと判定することを特徴とする請求項1又は請求項2に記載のウェーハの面取り装置。
【請求項4】
前記ツルア作製砥石の寿命判定部は、前記ツルア作製砥石の溝形状を転写用ウェーハへ転写し、前記ツルア作製砥石の形状判定を行うことを特徴とする請求項1又は請求項2に記載のウェーハの面取り装置。
【請求項5】
前記ツルア作製砥石の寿命判定部は、前記形状測定部で前記ツルアの前記エッジ形状を測定し、前記許容形状精度を満たしていないことが発生した場合、再度、前記ツルアの作製、前記ツルアの形状測定を行い、
前記許容形状精度を満たしていれば前記ツルアの作製が不良であったと判定し、
前記許容形状精度を満たして無ければ前記ツルア作製砥石が寿命に到達したと判定することを特徴とする請求項3に記載のウェーハの面取り装置。
【請求項6】
請求項1または2に記載のウェーハの面取り装置を用いたウェーハの面取り方法であって、
前記ツルア作製砥石の寿命判定部が、前記研削砥石で加工された前記ウェーハの断面形状を前記目標形状と比較し許容形状精度を満たしていないことが判明した場合、再度、前記ツルーイング、前記ウェーハの研削及び前記目標形状の判定を行うステップと、
前記許容形状精度を満たしていれば前記ツルーイングが不良であったと判定するステップと、
前記許容形状精度を満たして無ければ再度、前記ツルア作製砥石で前記ツルアの作製、前記ツルーイング、前記ウェーハの研削及び前記目標形状の判定を行うステップと、
前記許容形状精度を満たしていれば前記ツルアの作製が不良であったと判定するステップと、
前記許容形状精度を満たして無ければ前記ツルア作製砥石が寿命に到達したと判定するステップと、を備えたことを特徴とするウェーハの面取り方法。
発明の詳細な説明
【技術分野】
【0001】
本発明は、半導体ウェーハの端面における面取り装置に使用される溝形状を有する外周精研砥石(研削砥石)をツルアで転写(ツルーイング)し、転写された外周精研砥石を用いてウェーハ(半導体材料基板)の外周のエッジ部を研削するウェーハの面取り装置、及び、面取り方法に関する。
続きを表示(約 1,200 文字)
【背景技術】
【0002】
近年、ウェーハの面取り加工において使用される溝形状を有する研削砥石は、多品種少量生産、ウェーハの品質向上、歩留まり向上などを目的として、高精度化、品質向上の要求が高まっている。
【0003】
また、炭素(C)とシリコン(Si)との化合物であるSiC(炭化ケイ素)を始め、バンドギャップ(UWBG)が大きく、結晶を構成する原子間の結合が強い壊れにくい材料、例えばGaN(窒化ガリウム)、酸化ガリウム、AlGaN、ダイヤモンドを利用した半導体は、シリコン半導体より小型、低消費電力、高効率のパワー素子、高周波素子、耐放射線性に優れた半導体材料として期待され、実用化が進んでいる。しかし、4H-SiC等のUWBG材料は、難加工材であるため研削砥石の溝形状の高精度化、品質向上がより強く求められている。
【0004】
半導体ウェーハの製造工程における面取り加工は、研削砥石をツルアによりツルーイングすること、研削後ウェーハのエッジ形状を測定すること、をウェーハが所望の形状になるまで繰り返すことが必要とされていた。
【0005】
また、半導体ウェーハの外周面取りの仕上げ加工は、円周方向の研削痕の発生を防止するため、ウェーハに対して研削砥石を傾けて面取り部を研削する、いわゆるヘリカル研削を行うことが知られている。ただし、ヘリカル研削は、研削砥石のツルーイングによる形状の形成に関して、微妙な調整が不可欠であり、時間が掛かり、熟練した専任の担当者が必要であった。
【0006】
特許文献1は、ツルアを用いて溝の形成を行うヘリカル研削用のツルーイングにおいて、転写率、加工性を向上すると共に、ツルアによって形成されるウェーハ研削砥石の溝形状の精度を向上させるため、研削砥石に形成する溝の上部あるいは下部をツルアで加工することが記載されている。
【0007】
また、特許文献2は、ツルアの縁部を上下非対称の溝形状に成形し、ツルアとウェーハ研削砥石とを相対的に傾けて研削して溝形状を形成することが記載されている。
【先行技術文献】
【特許文献】
【0008】
特開2018-167331号公報
特開2007-165712号公報
【発明の概要】
【発明が解決しようとする課題】
【0009】
上記従来技術において、特許文献1に記載のものは、面取り加工を行う研削砥石のツルーイングを行う上でツルアの移動等に熟練した専任の担当者による調整が不可欠であった。
【0010】
また、特許文献2に記載のものは、ツルアの上下の方向への負荷や、ツルアが回転方向に変形するため、転写率が悪く、形成される溝の精度、ツルーイング時間等に影響を与え、ツルーイング効率の著しい低下となるだけでなく溝形状を有するような砥石全体の形状を高精度化するには不十分であった。
(【0011】以降は省略されています)
この特許をJ-PlatPat(特許庁公式サイト)で参照する
関連特許
株式会社東京精密
CMP装置
1か月前
株式会社東京精密
ウェーハの在荷検知装置
11日前
株式会社東京精密
ウェハ加工システム及びウェハ加工方法
24日前
株式会社東京精密
プローバ制御装置及びプローバ制御方法
1か月前
個人
包丁研ぎ器具
3か月前
株式会社松風
研磨用ゴム砥石
1か月前
株式会社SUS
ワーク保持治具
11日前
株式会社クボタ
管研削装置
4か月前
株式会社東京精密
研削装置
1か月前
株式会社タカトリ
ウエハの研削装置
27日前
株式会社ディスコ
被加工物の加工方法
2か月前
株式会社東京精密
加工方法
1か月前
株式会社ニッチュー
ブラスト装置
4か月前
株式会社東京精密
加工装置
1か月前
ノリタケ株式会社
超砥粒ホイール
1か月前
株式会社東京精密
加工装置
1か月前
株式会社荏原製作所
研磨装置
18日前
トヨタ自動車株式会社
回転砥石の製造方法
3か月前
秀和工業株式会社
処理装置および処理方法
2か月前
ノリタケ株式会社
研磨パッド
1か月前
株式会社東京精密
研削装置
2か月前
株式会社アイドゥス企画
受動変形内面研磨ホイール
3か月前
富士紡ホールディングス株式会社
研磨パッド
1か月前
富士紡ホールディングス株式会社
研磨パッド
1か月前
富士紡ホールディングス株式会社
研磨パッド
1か月前
株式会社スギノマシン
ウォータージェット切断装置
3日前
富士紡ホールディングス株式会社
研磨パッド
1か月前
旭化成株式会社
研磨パッド
2か月前
Mipox株式会社
研磨部材の製造方法
2か月前
株式会社東京精密
ダイシング装置
1か月前
株式会社ディスコ
加工装置
2か月前
株式会社ディスコ
切削装置
25日前
株式会社東京精密
ダイシング装置
1か月前
株式会社ディスコ
研削装置
3か月前
株式会社ディスコ
加工装置
19日前
Mipox株式会社
研磨部材の製造方法
2か月前
続きを見る
他の特許を見る