TOP
|
特許
|
意匠
|
商標
特許ウォッチ
Twitter
他の特許を見る
公開番号
2025161923
公報種別
公開特許公報(A)
公開日
2025-10-24
出願番号
2025139382,2021054215
出願日
2025-08-25,2021-03-26
発明の名称
CMP装置
出願人
株式会社東京精密
代理人
個人
主分類
B24B
55/06 20060101AFI20251017BHJP(研削;研磨)
要約
【課題】加工時におけるスラリーの飛散を抑制し、スラリーの回収量を増加させて利用効率の向上を図ると同時に、スラリーの再生化を容易にするCMP装置を提供する。
【解決手段】研磨ヘッド13と一体に回転しているウエハWの一面を、回転しているプラテン12上に押し付け、ウエハWとプラテン12の間に供給されるスラリーによりウエハWの一面を研磨するCMP装置10であって、研磨ヘッド13の周囲を上方から覆うスラリー飛散防止用カバー46を設けた。
【選択図】図3
特許請求の範囲
【請求項1】
リテーナリングに取り付けられて研磨ヘッドと一体に回転しているウエハの一面を、回転しているプラテン上に押し付け、前記ウエハと前記プラテンの間に供給されるスラリーにより前記ウエハの一面を研磨するCMP装置であって、
前記研磨ヘッドの周囲を上方から覆うスラリー飛散防止用カバーを備える、
ことを特徴とするCMP装置。
続きを表示(約 400 文字)
【請求項2】
前記スラリー飛散防止用カバーは、前記研磨ヘッドに対して退避可能である、ことを特徴とする請求項1に記載のCMP装置。
【請求項3】
前記スラリーは、平面視において前記研磨ヘッドの回転中心近傍を通る回転軌道上に供給される、ことを特徴とする請求項1又は2に記載のCMP装置。
【請求項4】
前記プラテンの周囲を囲って設けたスラリー飛散防止用壁材を備える、ことを特徴とする請求項1から3のいずれか1項に記載のCMP装置。
【請求項5】
研磨ヘッドと一体に回転しているウエハの一面を、回転しているプラテン上に押し付け、前記ウエハと前記プラテンの間に供給されるスラリーにより前記ウエハの一面を研磨するCMP装置であって、
前記スラリーは、平面視において前記研磨ヘッドの回転中心近傍を通る回転軌道上に供給される、ことを特徴とするCMP装置。
発明の詳細な説明
【技術分野】
【0001】
本発明は、CMP装置に関し、特にウエハをCMP研磨する際におけるスラリーの飛散を抑止可能なCMP装置に関するものである。
続きを表示(約 1,600 文字)
【背景技術】
【0002】
半導体製造分野では、シリコンウエハ等の半導体ウエハ(以下、「ウエハ」という)の表面を平坦化する技術として、化学的機械的研磨法(CMP:Chemical Mecanical Polishing)が知られている(例えば、特許文献1参照)。
【0003】
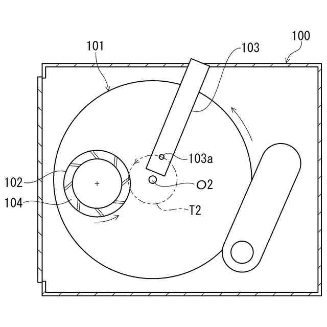
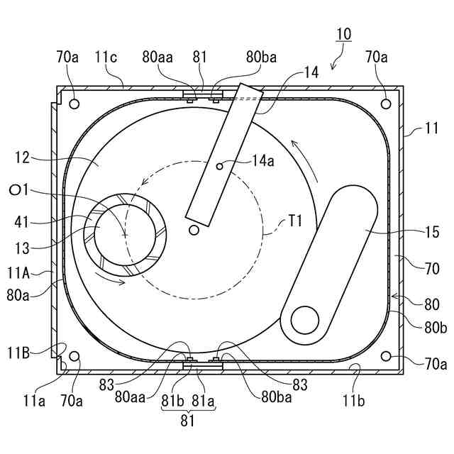
従来のCMP装置は、図8に示すように、加工室100内に、プラテン101と研磨ヘッド102とスラリーノズル103等が配置されている。そして、図示していない研磨加工されるウエハWは、研磨ヘッド102に取り付けられる。また、リテーナリング104とウエハWは、研磨ヘッド102と一体に回転する。研磨ヘッド102は回転しながら、同じく回転しているプラテン101上にウエハWの一面を所定の圧力で押し付け、スラリーノズル103は、スラリー吐出口103aからプラテン101上にスラリーを吐出し、プラテン101とウエハWの間にスラリーを供給する。スラリーノズル103のスラリー吐出口103aからスラリーを吐出する位置は、図8中に符号T2で示すプラテン101の回転軌道上である。これはプラテン101の回転中心O2に近い位置であり、研磨ヘッド102の外周で、かつ、リテーナリング104と交差する位置である。
【0004】
すなわち、CMPによる研磨は、回転する研磨ヘッド102に、ウエハWを一体回転可能に取り付け、ウエハWの一面を回転しているプラテン101上に所定の圧力で押し付け、ウエハWとプラテン101の間に、スラリーノズル103のスラリー吐出口103aから研磨剤と化学薬品との混合物である研磨材(スラリー)を供給することによって行っている。
【0005】
従来のCMP装置では、プラテン101や研磨ヘッド102等の研磨機構の回転速度は約120rpmとさほど高速でなく、プラテン101上のスラリーが研磨ヘッド102やプラテン101等にぶつかっても飛散することは少なかった。そのため、従来のCMP装置では、研磨ヘッド102やプラテン101等に、スラリーの飛散対策は設けられていなかった。
【先行技術文献】
【特許文献】
【0006】
特開2010-73993号公報
【発明の概要】
【発明が解決しようとする課題】
【0007】
しかしながら、今日では、研磨機構の高速回転化が図られ、プラテンの回転数及び研磨ヘッドの回転数は、それぞれ200~300rpmと高速になっている。そのため、高速回転しているプラテンによって運ばれたスラリーが、研磨ヘッドと一緒に高速で回転しているリテーナリングにぶつかると、リテーナリングにより弾き飛ばされて飛散し、加工室の壁面や天井に付着するという問題があった。
【0008】
また、スラリーは高価であるため、利用されたスラリーは、加工室の床面に設置された受け皿で受け、再利用することが多い。そのため、スラリーが加工室の壁面や天井に付着すると、スラリー再利用の際に回収できるスラリー量が減少し、スラリー利用効率が低下するという問題があった。
【0009】
また、加工室内の天井や壁面に飛散したスラリーは、水(純水)をシャワー状に吹きかけて洗い落とし、同じく床に設置された受け皿で受けて再生される。しかし、スラリーには研磨剤と化学薬品を使用しているので、加工室内の天井や壁面に飛散したスラリーを洗い落とすのに、水を使用すると、化学薬品等が薄められて(希釈率の低下が起きる)、再生化が難しいという問題があった。
【0010】
そこで、加工時におけるスラリーの飛散を抑制し、スラリーの回収量を増加させて利用効率の向上を図ると同時に、スラリーの再生化を容易にするために解決すべき技術的課題が生じてくるのであり、本発明はこの課題を解決することを目的とする。
【課題を解決するための手段】
(【0011】以降は省略されています)
この特許をJ-PlatPat(特許庁公式サイト)で参照する
関連特許
株式会社東京精密
プローバ
1か月前
株式会社東京精密
加工方法
1か月前
株式会社東京精密
プローバ
1か月前
株式会社東京精密
加工装置
1か月前
株式会社東京精密
加工装置
1か月前
株式会社東京精密
加工装置
1か月前
株式会社東京精密
加工装置
1か月前
株式会社東京精密
搬送装置
1か月前
株式会社東京精密
研削装置
1か月前
株式会社東京精密
プローバ
1か月前
株式会社東京精密
プローバ
2か月前
株式会社東京精密
加工装置
2か月前
株式会社東京精密
プローバ
1か月前
株式会社東京精密
加工装置
2か月前
株式会社東京精密
研削装置
1か月前
株式会社東京精密
プローバ
1か月前
株式会社東京精密
亀裂測定器
1か月前
株式会社東京精密
亀裂測定器
1か月前
株式会社東京精密
電池検査装置
1か月前
株式会社東京精密
ダイシング装置
1か月前
株式会社東京精密
レーザ加工装置
1か月前
株式会社東京精密
レーザ加工装置
1か月前
株式会社東京精密
レーザ加工装置
1か月前
株式会社東京精密
ダイシング装置
1か月前
株式会社東京精密
半導体製造装置
1か月前
株式会社東京精密
テープ貼付装置
1か月前
株式会社東京精密
ハブレスブレード
1か月前
株式会社東京精密
スラリー供給装置
2か月前
株式会社東京精密
校正方法及び校正装置
1か月前
株式会社東京精密
吸着装置及び研削装置
1か月前
株式会社東京精密
ウェーハの面取り装置
1か月前
株式会社東京精密
収容ボックスシステム
1か月前
株式会社東京精密
加工装置及び加工方法
1か月前
株式会社東京精密
ケーブルのガイド方法
1か月前
株式会社東京精密
ウェーハの面取り装置
1か月前
株式会社東京精密
CMP装置及び研磨方法
1か月前
続きを見る
他の特許を見る