TOP
|
特許
|
意匠
|
商標
特許ウォッチ
Twitter
他の特許を見る
10個以上の画像は省略されています。
公開番号
2025140320
公報種別
公開特許公報(A)
公開日
2025-09-29
出願番号
2024039654
出願日
2024-03-14
発明の名称
電池検査装置
出願人
株式会社東京精密
代理人
弁理士法人インターブレイン
主分類
H01M
10/48 20060101AFI20250919BHJP(基本的電気素子)
要約
【課題】 電池の膨張量を簡易測定する。
【解決手段】 電池検査装置は、検査対象となる二次電池の側面の位置に対応して移動可能な1以上の検査電極と、二次電池が膨張する方向に沿って延伸し、検査電極と接触する1以上の電極パターンを備える。検査回路は、検査電極と電極パターンの接触地点に応じた検査電圧を出力する。膨張推定部は、検査電圧に応じて、二次電池の膨張量を推定する。
【選択図】図3
特許請求の範囲
【請求項1】
検査対象となる電池の所定の面の位置に対応して移動可能な1以上の検査電極と、
前記電池が膨張する方向に沿って延伸し、前記検査電極と接触する1以上の電極パターンと、
前記検査電極と前記電極パターンの接触地点に応じた検査電圧を出力する検査回路と、
前記検査電圧に応じて、前記電池の膨張量を推定する膨張推定部と、を備える電池検査装置。
続きを表示(約 1,200 文字)
【請求項2】
前記電極パターンにおいては導電部と絶縁部が交互に並べられ、
前記検査回路は、前記電極パターンに並ぶ複数の導電部のうち、前記検査電極が接触する導電部に対応する分圧電圧を前記検査電圧として出力する、請求項1に記載の電池検査装置。
【請求項3】
前記検査電極の移動方向における長さは、前記絶縁部の同方向における長さよりも短い、請求項2に記載の電池検査装置。
【請求項4】
前記1以上の検査電極を前記電池の収縮方向に付勢する1以上の弾性体、を更に備える請求項1に記載の電池検査装置。
【請求項5】
前記1以上の検査電極は、前記電池の第1の面に対応して設けられる第1の検査電極と、前記第1の面の反対側である第2の面に対応して設けられる第2の検査電極を含み、
前記1以上の電極パターンは、前記第1の検査電極と接触する第1の電極パターンと、前記第2の検査電極と接触する第2の電極パターンを含み、
前記検査回路は、前記第1の検査電極および前記第2の検査電極それぞれから第1および第2の検査電圧を検出し、
前記膨張推定部は、前記第1の検査電極に対応する第1の検査電圧から前記電池の前記第1の面における第1の膨張量を推定し、前記第2の検査電圧に対応する第2の検査電圧から前記電池の前記第2の面における第2の膨張量を推定し、前記第1の膨張量および前記第2の膨張量に基づいて前記電池の膨張量を推定する、請求項1に記載の電池検査装置。
【請求項6】
前記1以上の検査電極は、前記電池の第1の面に対応して設けられる複数の検査電極を含み、
前記1以上の電極パターンは、前記複数の検査電極それぞれと接触する複数の電極パターンを含み、
前記検査回路は、前記複数の検査電極それぞれから検査電圧を検出し、
前記膨張推定部は、前記複数の検査電圧に基づいて前記電池の前記第1の面における膨張量を推定する、請求項1に記載の電池検査装置。
【請求項7】
前記第1の面と接触し、前記第1の面の位置に応じて移動可能な上面板および下面板を更に備え、
前記第1の面に対応して設けられる複数の検査電極は、前記上面板および前記下面板のいずれかと接続される、請求項6に記載の電池検査装置。
【請求項8】
前記上面板および前記下面板の双方または一方には放熱孔が設けられる、請求項7に記載の電池検査装置。
【請求項9】
前記電池は、二次電池であって、
前記二次電池の充放電を制御する充放電制御部と、
充放電時における設定値および測定値の双方または一方と、前記推定された膨張量を対応づけて記録する試験記録部と、を更に備える請求項1に記載の電池検査装置。
発明の詳細な説明
【技術分野】
【0001】
本発明は、電池等の物体の形状変化を測定するための電池検査装置に関する。
続きを表示(約 1,300 文字)
【背景技術】
【0002】
二次電池の開発に際しては、二次電池を構成する複数のセルを対象として充放電試験が行われる。充放電試験においては、外部温度や充電電圧などさまざまな充放電条件を設定し、セルの内部抵抗、放電電圧等の性能を評価する。
【0003】
充電による温度上昇にともない、二次電池のセルに含まれる電解液からガスが発生し、このガスの内圧によりセルは膨張する。セルが膨張しすぎると危険であるため、充放電時におけるセルの膨張量も測定し、セルの使用条件を決める必要がある。
【先行技術文献】
【特許文献】
【0004】
米国特許第11539086号明細書
特開2016-126943号公報
国際公開第2023/219040号
【発明の概要】
【発明が解決しようとする課題】
【0005】
セルの膨張量を測定する方法としては、静電容量による測定方法(特許文献1)、音響共振センサによる測定方法(特許文献1)、圧力センサによる測定方法(特許文献1)、発光ダイオードやレーザなどの光をつかった測定方法(特許文献2)などさまざまな方法が提案されている。
【0006】
従来の測定方法の中には測定精度や分解能が高いものもあるが、総じて測定に要するコストが高い。多少の誤差は許容しつつも、安価かつ安定的にセルの膨張量を測定する方法については、ほとんど提案がなされていないのが現状である。
【0007】
本発明は、本発明者による上記課題認識に基づいて完成された発明であり、その主たる目的は、電池の膨張量を簡易測定するための電池検査装置を提供することにある。
【課題を解決するための手段】
【0008】
本発明のある態様における電池検査装置は、検査対象となる電池の所定の面の位置に対応して移動可能な1以上の検査電極と、電池が膨張する方向に沿って延伸し、検査電極と接触する1以上の電極パターンと、検査電極と電極パターンの接触地点に応じた検査電圧を出力する検査回路と、検査電圧に応じて、電池の膨張量を推定する膨張推定部と、を備える。
【発明の効果】
【0009】
本発明によれば、電池の膨張量を簡易に測定しやすくなる。
【図面の簡単な説明】
【0010】
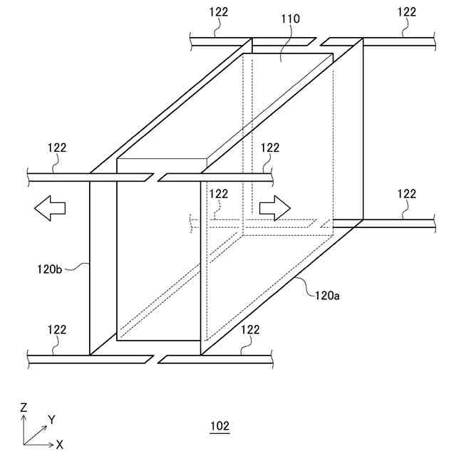
電池検査装置のハードウェア構成図である。
二次電池の膨張量を測定する方法を説明するための模式図である。
検査部の正面図である。
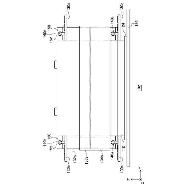
検査部の側面図である。
二次電池の膨張時における検査部の正面図である。
二次電池の8頂点と検査電極の関係を示す模式図である。
検査電極と電極パターンの関係を示す模式図である。
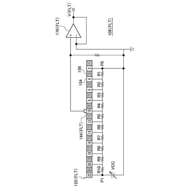
検査回路(FLT)の回路図である。
検査回路(FLB)の回路図である。
膨張換算テーブル(L)のデータ構造図である。
膨張換算テーブル(R)のデータ構造図である。
充電試験の処理過程を示すフローチャートである。
試験データのデータ構造図である。
【発明を実施するための形態】
(【0011】以降は省略されています)
この特許をJ-PlatPat(特許庁公式サイト)で参照する
関連特許
株式会社東京精密
プローバ
1か月前
株式会社東京精密
加工装置
1か月前
株式会社東京精密
プローバ
1か月前
株式会社東京精密
搬送装置
1か月前
株式会社東京精密
加工装置
1か月前
株式会社東京精密
加工装置
1か月前
株式会社東京精密
研削装置
1か月前
株式会社東京精密
研削装置
1か月前
株式会社東京精密
加工方法
1か月前
株式会社東京精密
プローバ
1か月前
株式会社東京精密
加工装置
1か月前
株式会社東京精密
プローバ
1か月前
株式会社東京精密
亀裂測定器
1か月前
株式会社東京精密
亀裂測定器
1か月前
株式会社東京精密
レーザ加工装置
1か月前
株式会社東京精密
半導体製造装置
1か月前
株式会社東京精密
レーザ加工装置
1か月前
株式会社東京精密
レーザ加工装置
1か月前
株式会社東京精密
ダイシング装置
1か月前
株式会社東京精密
テープ貼付装置
1か月前
株式会社東京精密
ダイシング装置
1か月前
株式会社東京精密
ハブレスブレード
1か月前
株式会社東京精密
収容ボックスシステム
1か月前
株式会社東京精密
吸着装置及び研削装置
1か月前
株式会社東京精密
ウェーハの面取り装置
1か月前
株式会社東京精密
ウェーハの面取り装置
1か月前
株式会社東京精密
ケーブルのガイド方法
1か月前
株式会社東京精密
校正方法及び校正装置
1か月前
株式会社東京精密
加工装置及び加工方法
1か月前
株式会社東京精密
ウェーハセンシング装置
1か月前
株式会社東京精密
CMP装置及び研磨方法
1か月前
株式会社東京精密
面取り装置及び面取り方法
1か月前
株式会社東京精密
加工方法、及び、加工装置
1か月前
株式会社東京精密
内径測定装置及びそのシステム
1か月前
株式会社東京精密
測定装置及び移動体の制御方法
1か月前
株式会社東京精密
面取り装置、及び、面取り方法
1か月前
続きを見る
他の特許を見る